FL115B’15
Choose a section to open the exploded parts diagram with live pricing. (v2)
Model code: 6EL2
Engine sections in this model
SCHEDULED SERVICE PARTS
TOP COWLING
CYLINDER & CRANKCASE 1
CRANKSHAFT & PISTON
CYLINDER & CRANKCASE 2
VALVE
INTAKE 1
INTAKE 2
INTAKE 3
FUEL INJECTION PUMP 1
FUEL INJECTION PUMP 2
EXHAUST
FUEL 1
FUEL 2
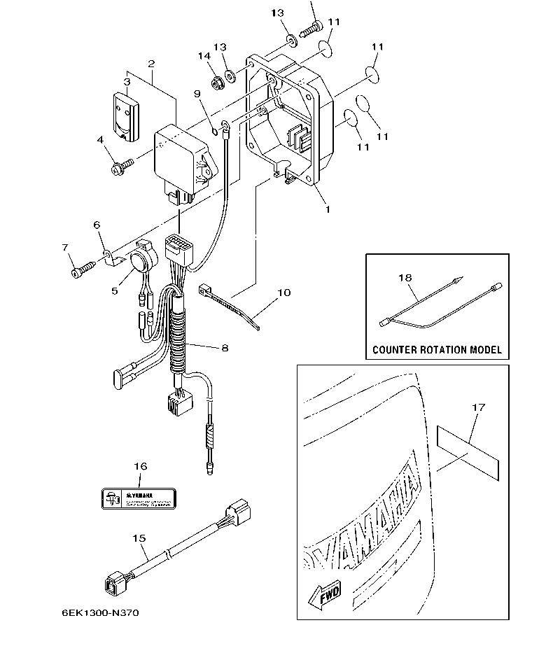
GENERATOR
ELECTRICAL 1
ELECTRICAL 2
ELECTRICAL 3
ELECTRICAL 4
ELECTRICAL 5
ELECTRICAL 6
STARTING MOTOR
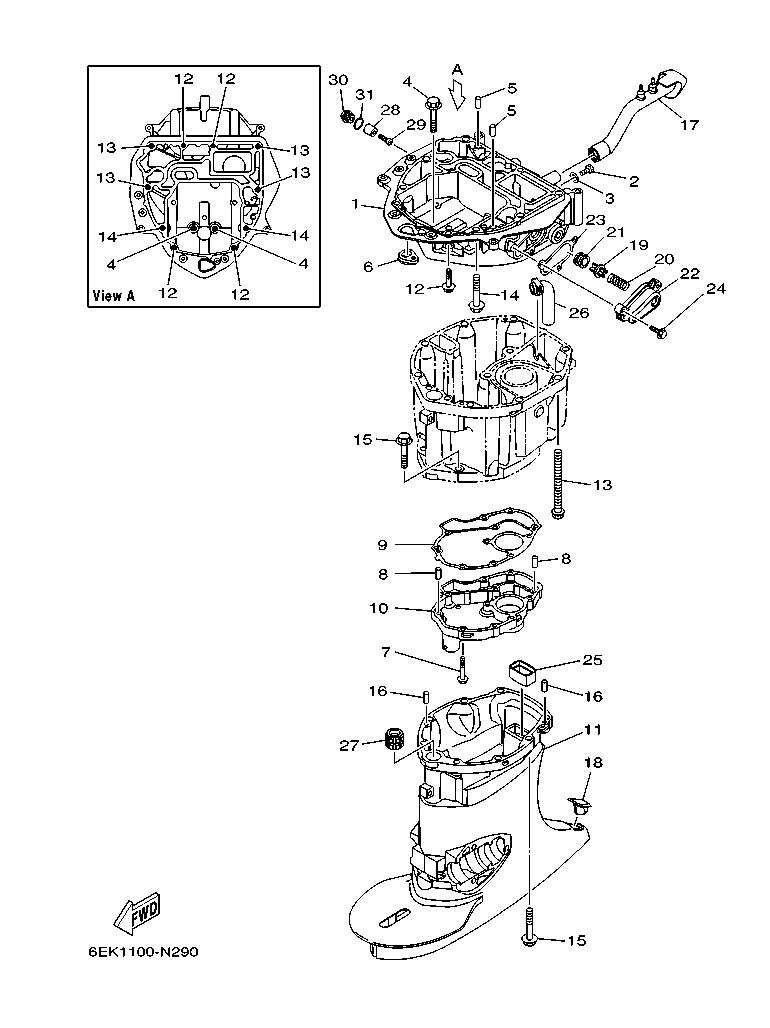
BOTTOM COWLING 1
BOTTOM COWLING 2
CONTROL
BRACKET 1
BRACKET 2
POWER TRIM & TILT ASSY 1
POWER TRIM & TILT ASSY 2
UPPER CASING
OIL PAN
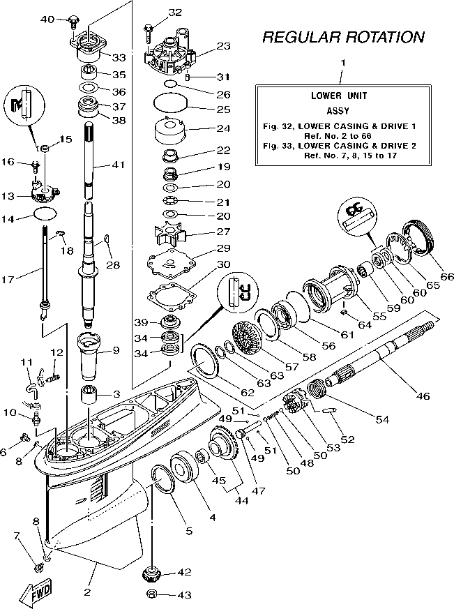
LOWER CASING & DRIVE 1
LOWER CASING & DRIVE 2
LOWER CASING & DRIVE 3
LOWER CASING & DRIVE 4
STEERING GUIDE
OPTIONAL PARTS 1
OPTIONAL PARTS 2
REPAIR KIT 1
REPAIR KIT 2
Fig. 1
– SCHEDULED SERVICE PARTS
Fig. 2
– TOP COWLING
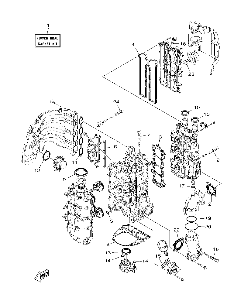
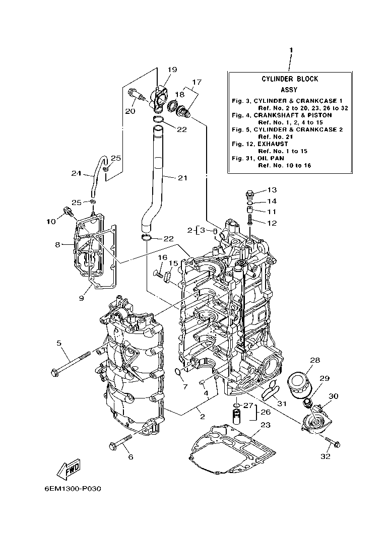
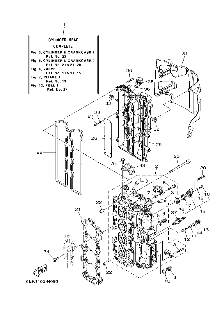
Fig. 3
– CYLINDER & CRANKCASE 1
Fig. 4
– CRANKSHAFT & PISTON
Fig. 5
– CYLINDER & CRANKCASE 2
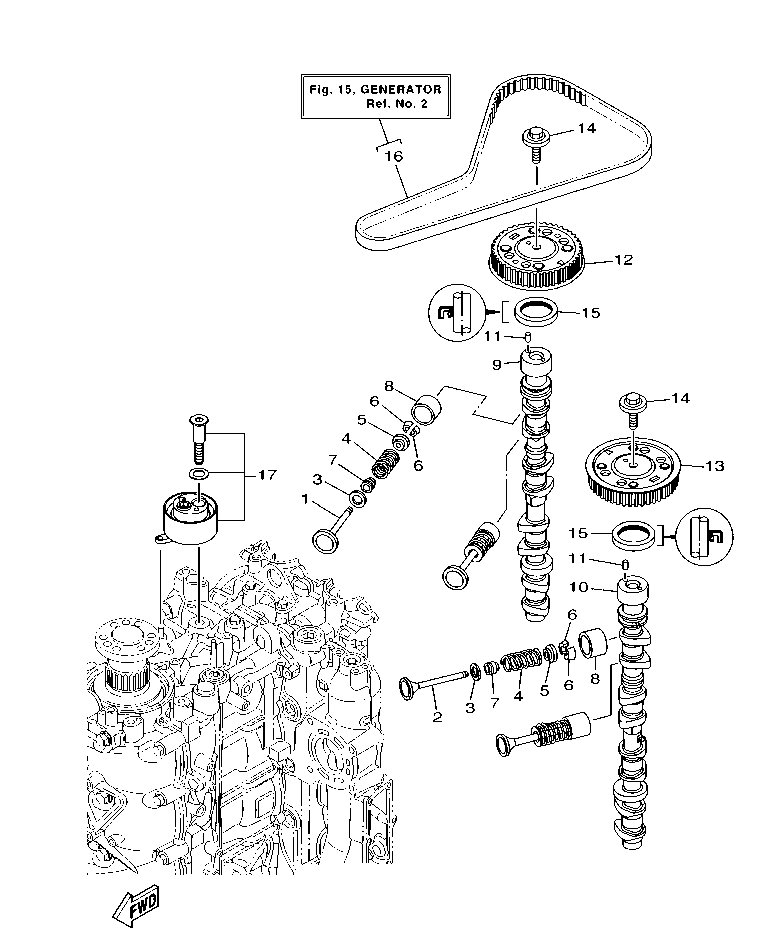
Fig. 6
– VALVE
Fig. 7
– INTAKE 1
Fig. 8
– INTAKE 2
Fig. 9
– INTAKE 3
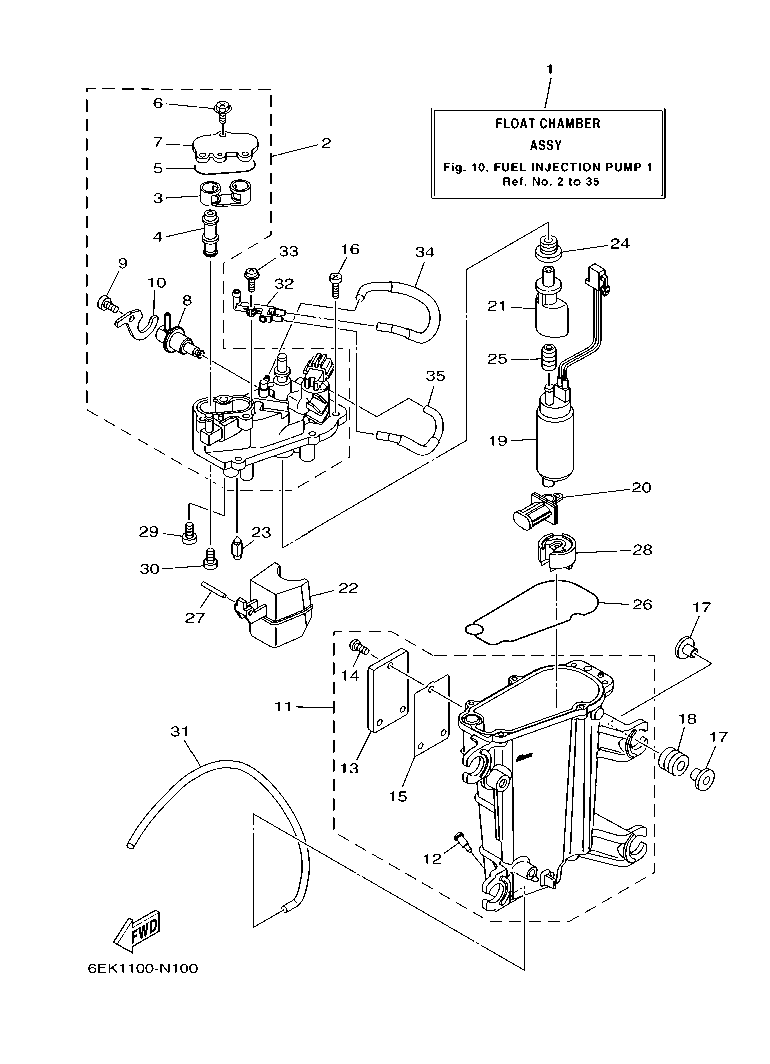
Fig. 10
– FUEL INJECTION PUMP 1
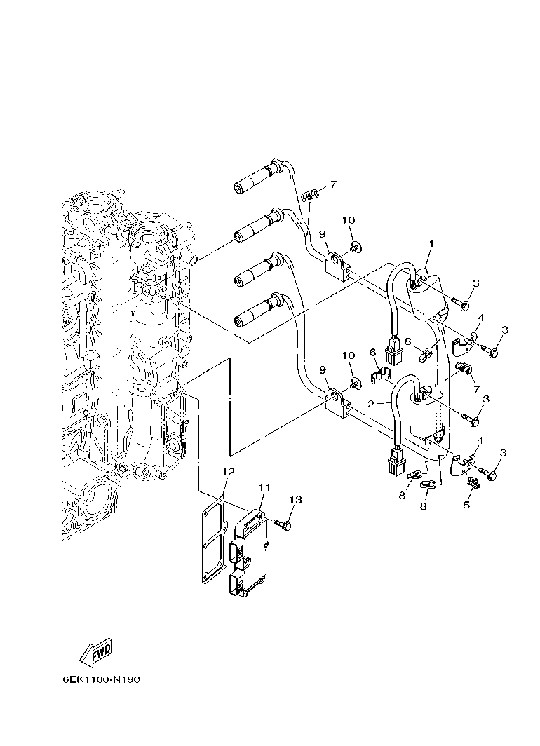
Fig. 11
– FUEL INJECTION PUMP 2
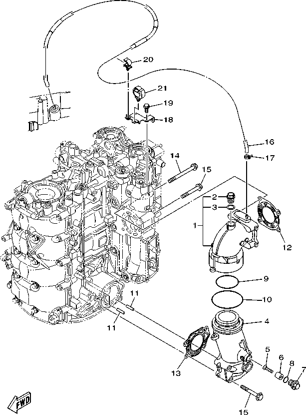
Fig. 12
– EXHAUST
Fig. 13
– FUEL 1
Fig. 14
– FUEL 2
Fig. 15
– GENERATOR
Fig. 16
– ELECTRICAL 1
Fig. 17
– ELECTRICAL 2
Fig. 18
– ELECTRICAL 3
Fig. 19
– ELECTRICAL 4
Fig. 20
– ELECTRICAL 5
Fig. 21
– ELECTRICAL 6
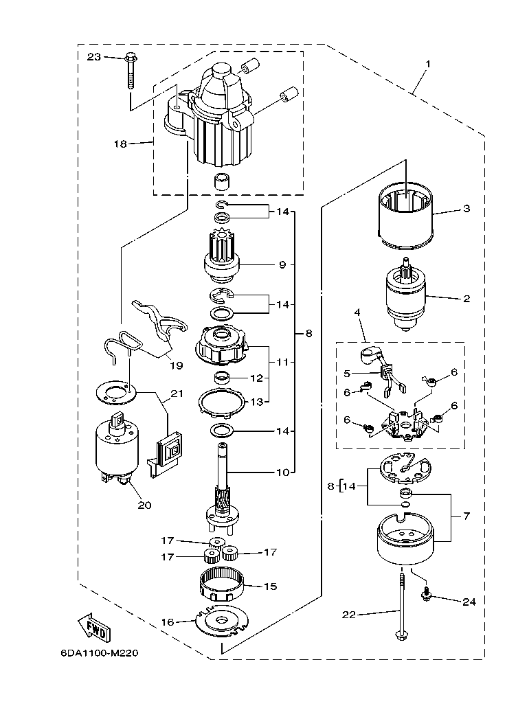
Fig. 22
– STARTING MOTOR
Fig. 23
– BOTTOM COWLING 1
Fig. 24
– BOTTOM COWLING 2
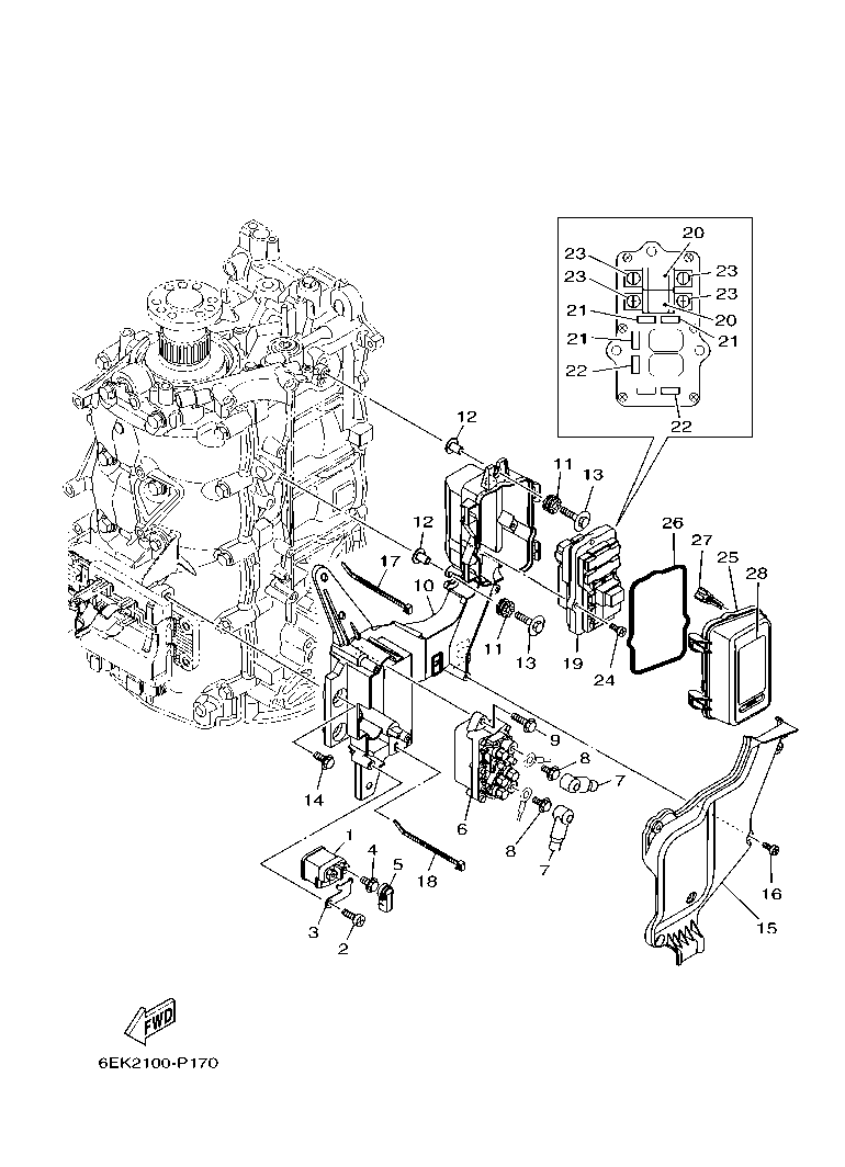
Fig. 25
– CONTROL
Fig. 26
– BRACKET 1
Fig. 27
– BRACKET 2
Fig. 28
– POWER TRIM & TILT ASSY 1
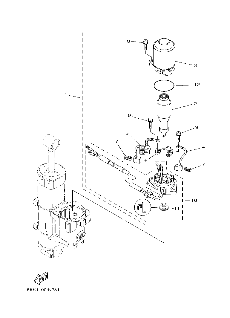
Fig. 29
– POWER TRIM & TILT ASSY 2
Fig. 30
– UPPER CASING
Fig. 31
– OIL PAN
Fig. 32
– LOWER CASING & DRIVE 1
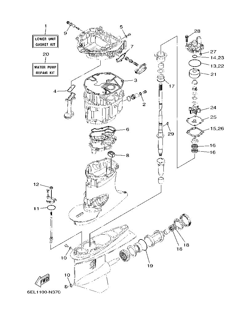
Fig. 33
– LOWER CASING & DRIVE 2
Fig. 34
– LOWER CASING & DRIVE 3
Fig. 35
– LOWER CASING & DRIVE 4
Fig. 36
– STEERING GUIDE
Fig. 37
– OPTIONAL PARTS 1
Fig. 38
– OPTIONAL PARTS 2
Fig. 39
– REPAIR KIT 1
Fig. 40
– REPAIR KIT 2