Catalogs / Yamaha / Outboard
Yamaha 30GMH Parts Catalog
Browse 20 catalog sections for Yamaha 30GMH. Open a section to view the parts diagram, reference numbers and available products.
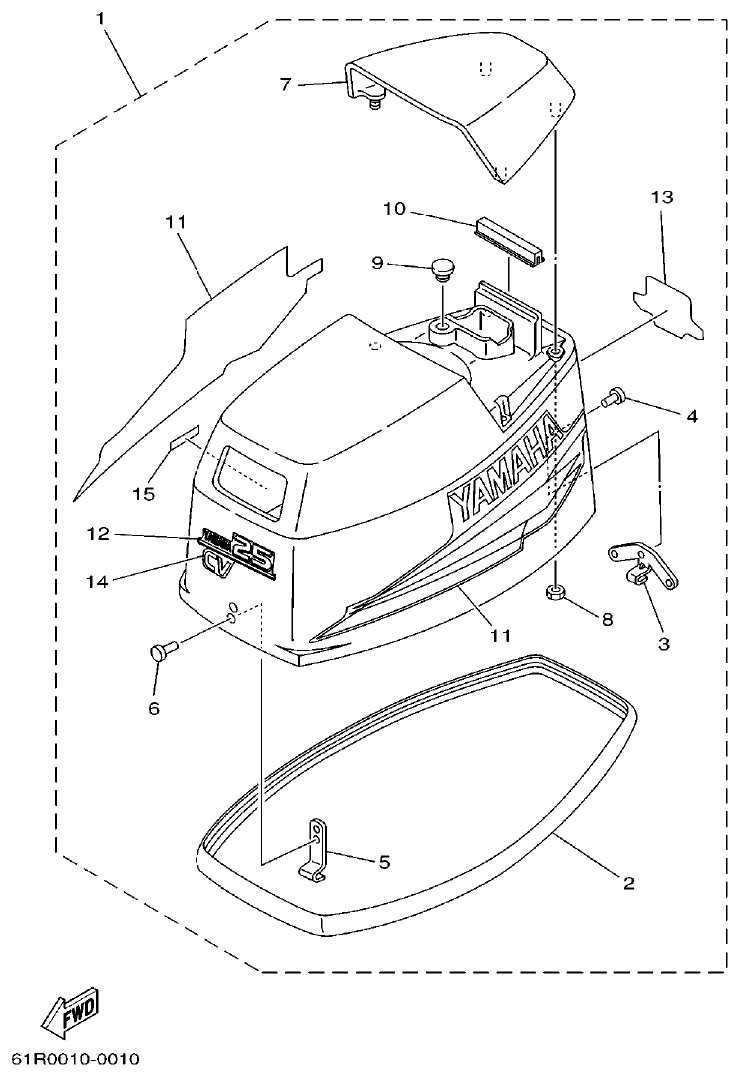
Fig. 1 — TOP COWLING
14 items
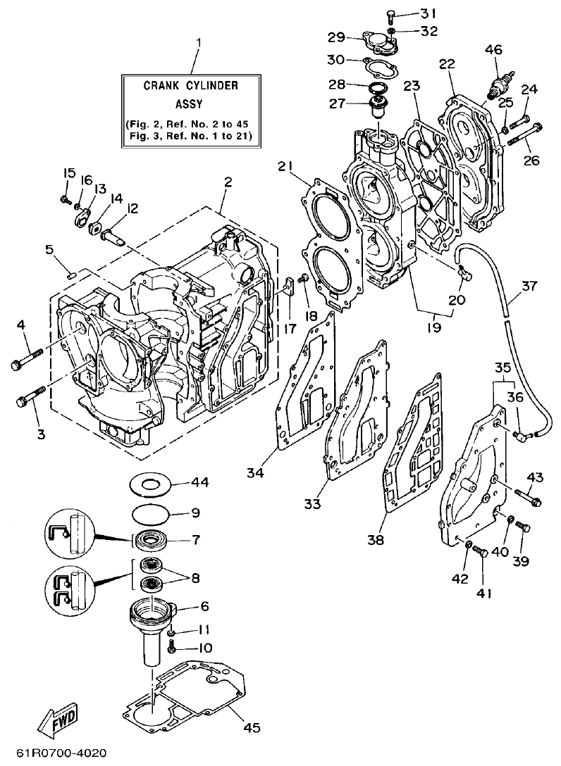
Fig. 2 — CYLINDER. CRANKCASE
23 items
· 3 available products
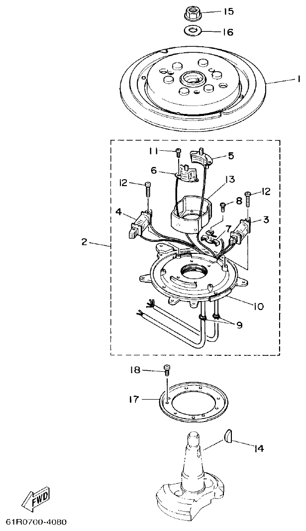
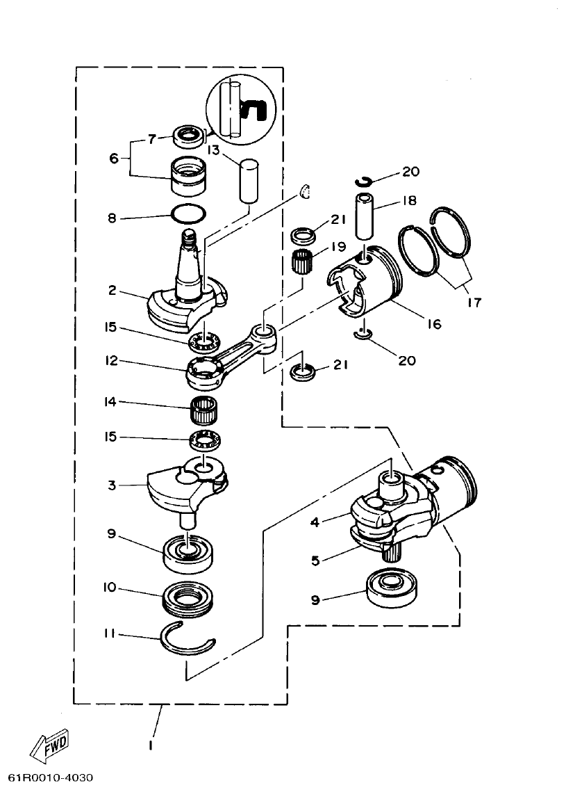
Fig. 3 — CRANKSHAFT. PISTON
16 items
· 11 available products
Fig. 4 — INTAKE
14 items
· 6 available products
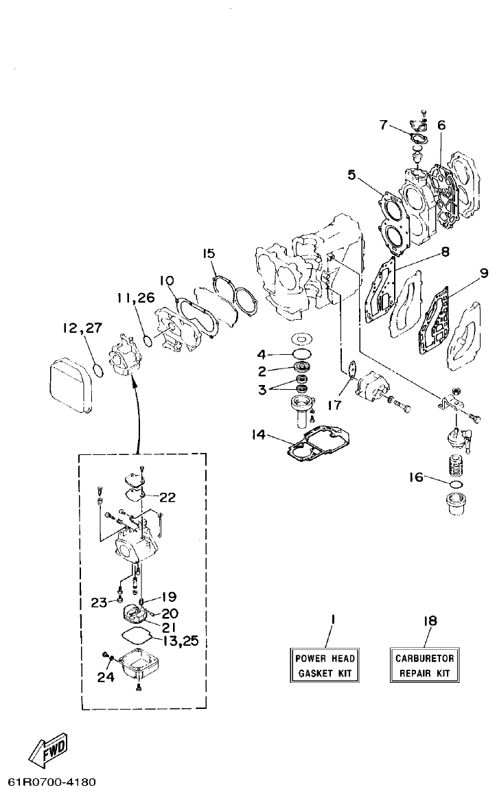
Fig. 5 — CARBURETOR
25 items
· 2 available products
Fig. 6 — FUEL
19 items
· 4 available products
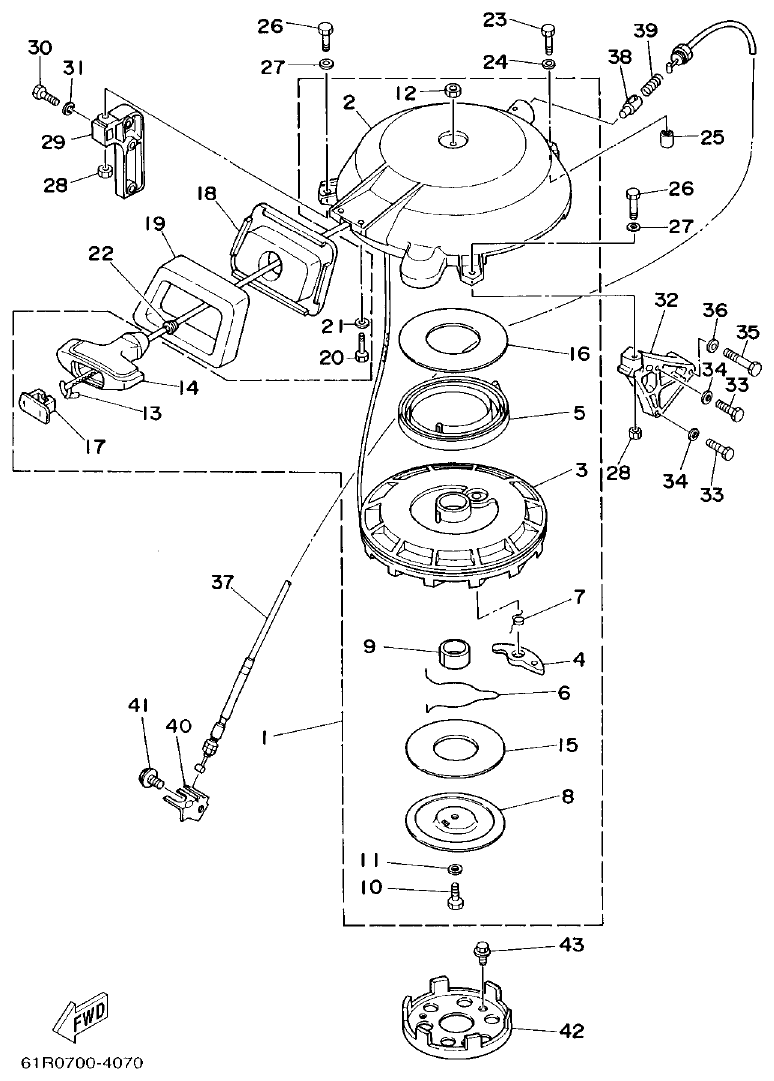
Fig. 7 — STARTER
23 items
· 6 available products
Fig. 8 — GENERATOR
11 items
· 2 available products
Fig. 9 — ELECTRICAL
13 items
· 3 available products
Fig. 10 — BOTTOM COWLING
11 items
· 4 available products
Fig. 11 — STEERING
9 items
· 2 available products
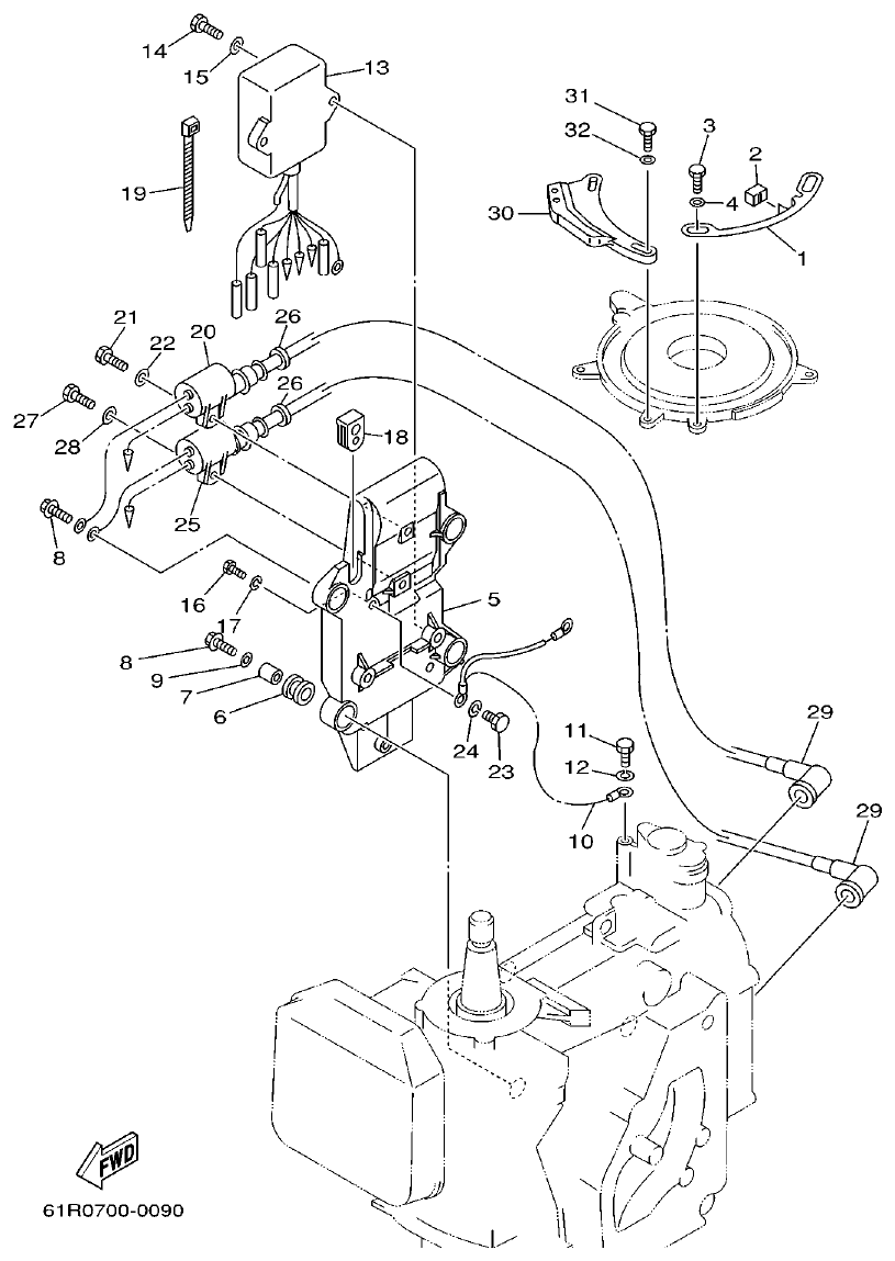
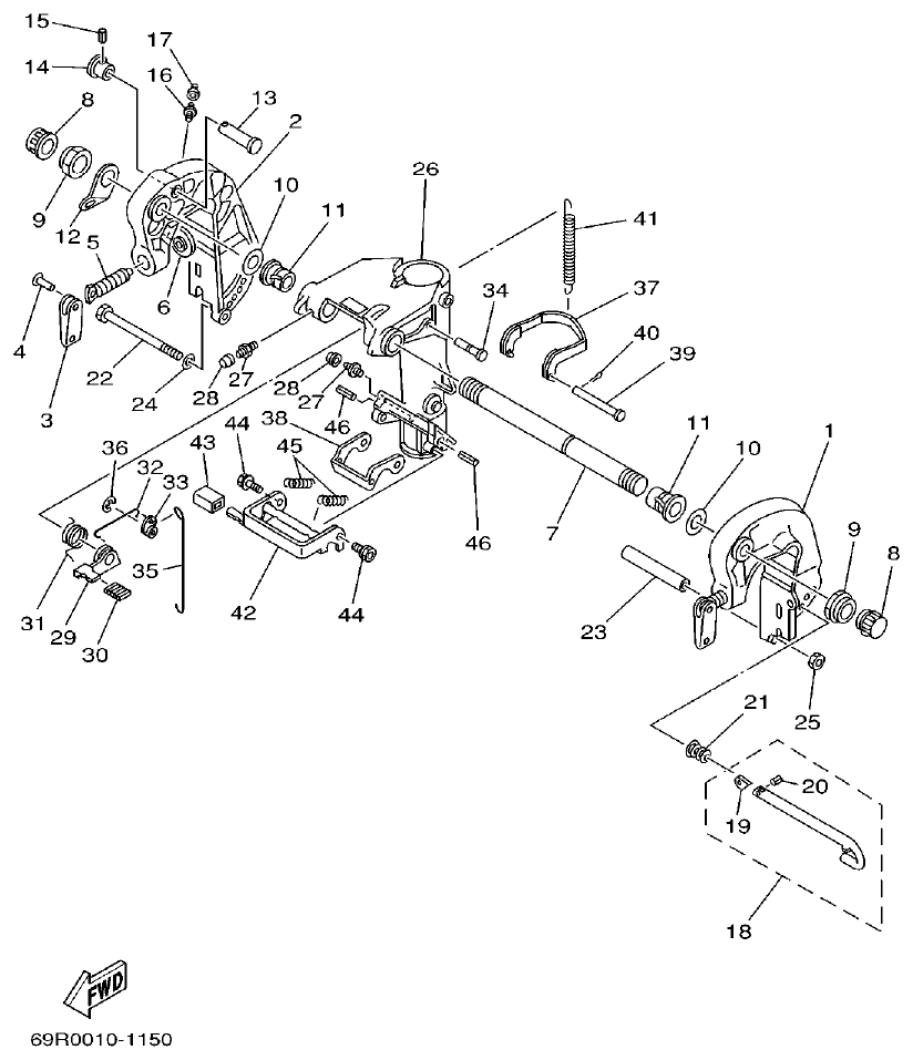
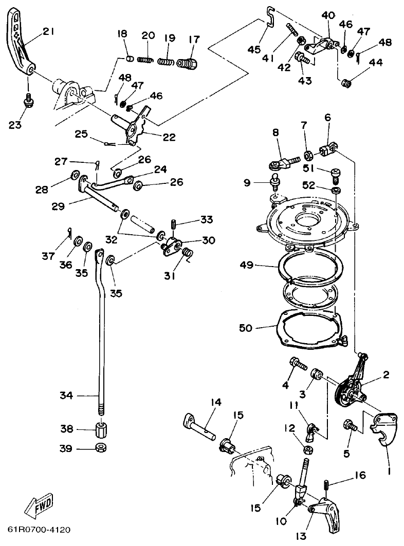
Fig. 12 — CONTROL
22 items
· 4 available products
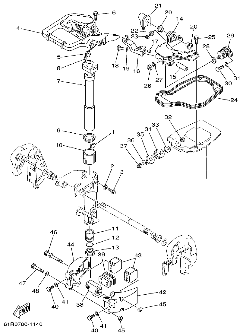
Fig. 13 — BRACKET 1
24 items
· 11 available products
Fig. 14 — BRACKET 2
19 items
· 2 available products
Fig. 15 — UPPER CASING
9 items
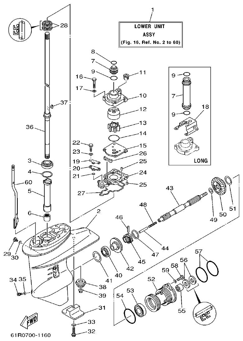
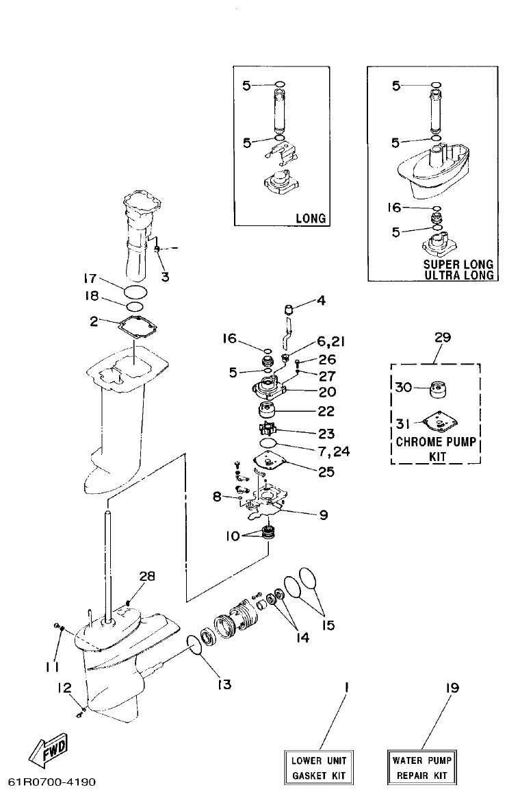
Fig. 16 — LOWER CASING. DRIVE 1
48 items
· 12 available products
Fig. 17 — LOWER CASING. DRIVE 2
16 items
· 6 available products
Fig. 18 — FUEL TANK
11 items
· 2 available products
Fig. 19 — REPAIR KIT 1
21 items
· 7 available products
Fig. 20 — REPAIR KIT 2
18 items
· 5 available products