Catalogs / Yamaha / Outboard
Yamaha 4AC, 4BC Parts Catalog
Browse 12 catalog sections for Yamaha 4AC, 4BC. Open a section to view the parts diagram, reference numbers and available products.
Fig. 1 — TOP COWLING
12 items
· 1 available products
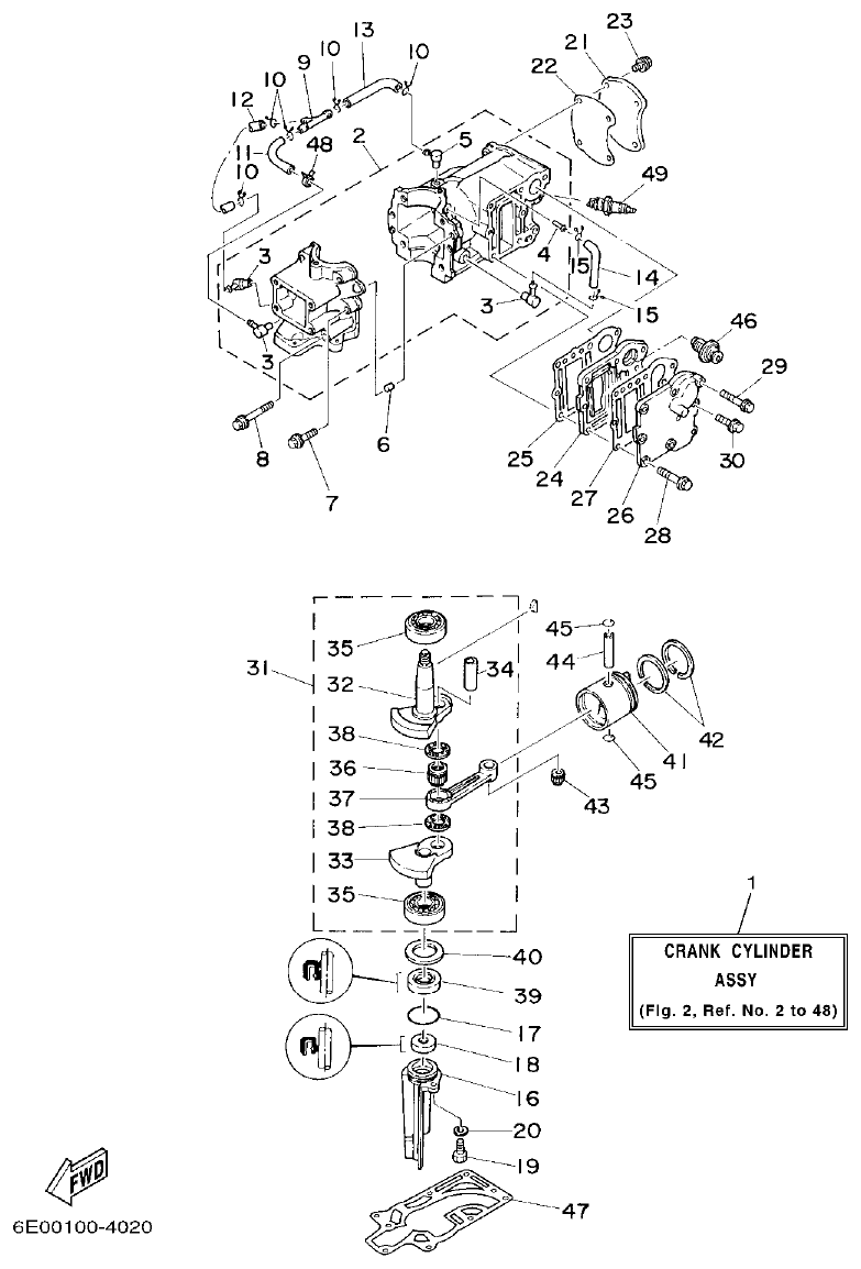
Fig. 2 — CYLINDER. CRANKCASE
36 items
· 7 available products
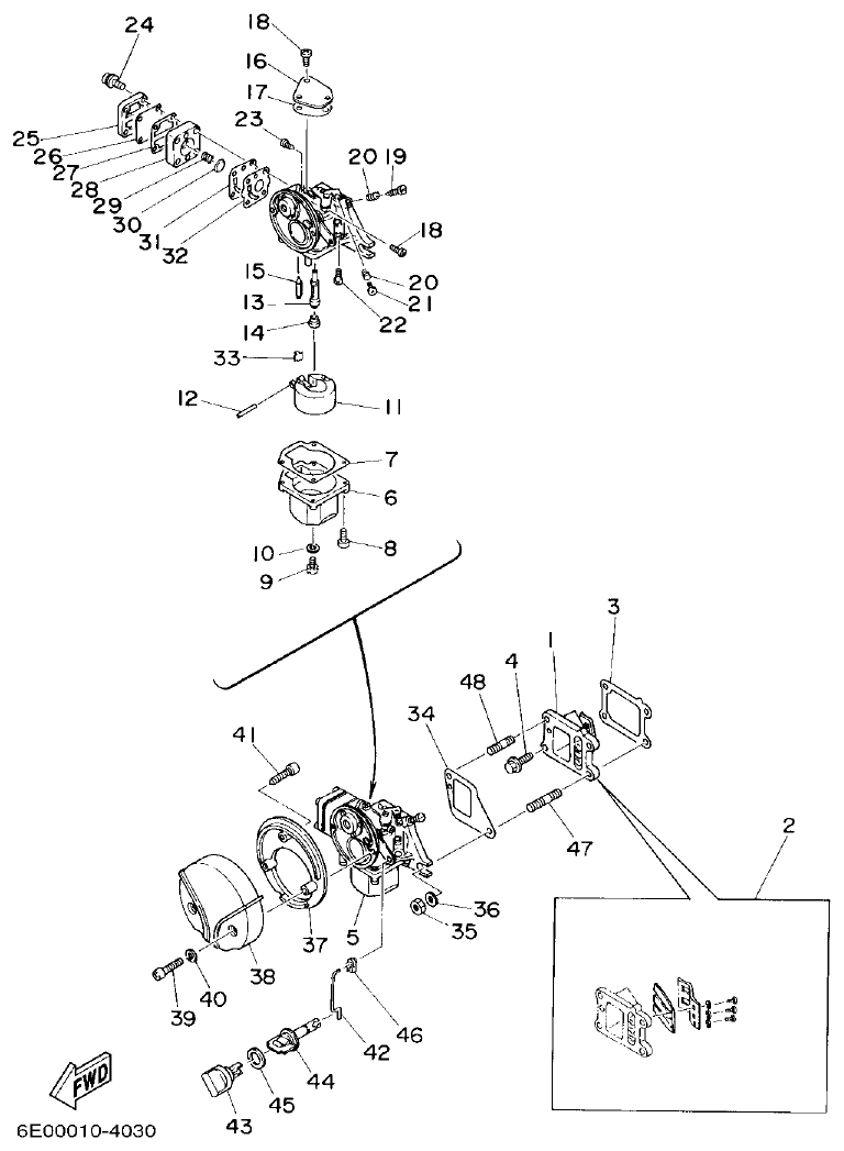
Fig. 3 — INTAKE
38 items
· 5 available products
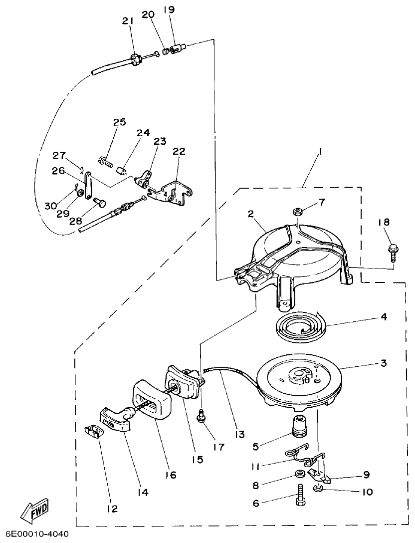
Fig. 4 — STARTER
18 items
· 3 available products
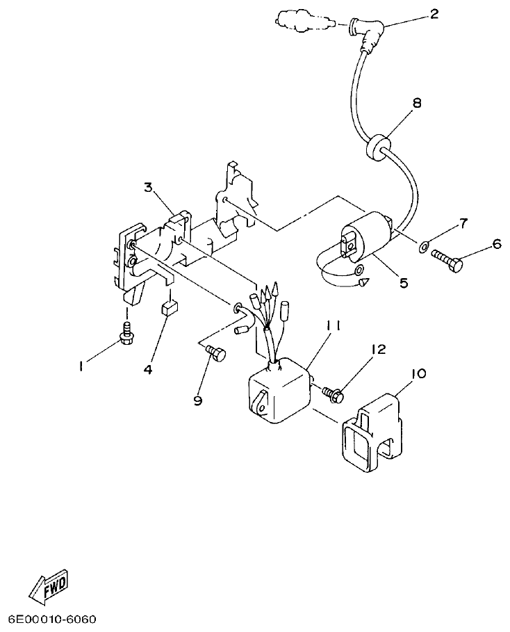
Fig. 5 — GENERATOR
12 items
Fig. 6 — ELECTRICAL
7 items
· 2 available products
Fig. 7 — BOTTOM COWLING
28 items
· 3 available products
Fig. 8 — CONTROL
22 items
· 1 available products
Fig. 9 — UPPER CASING . BRACKET
28 items
· 2 available products
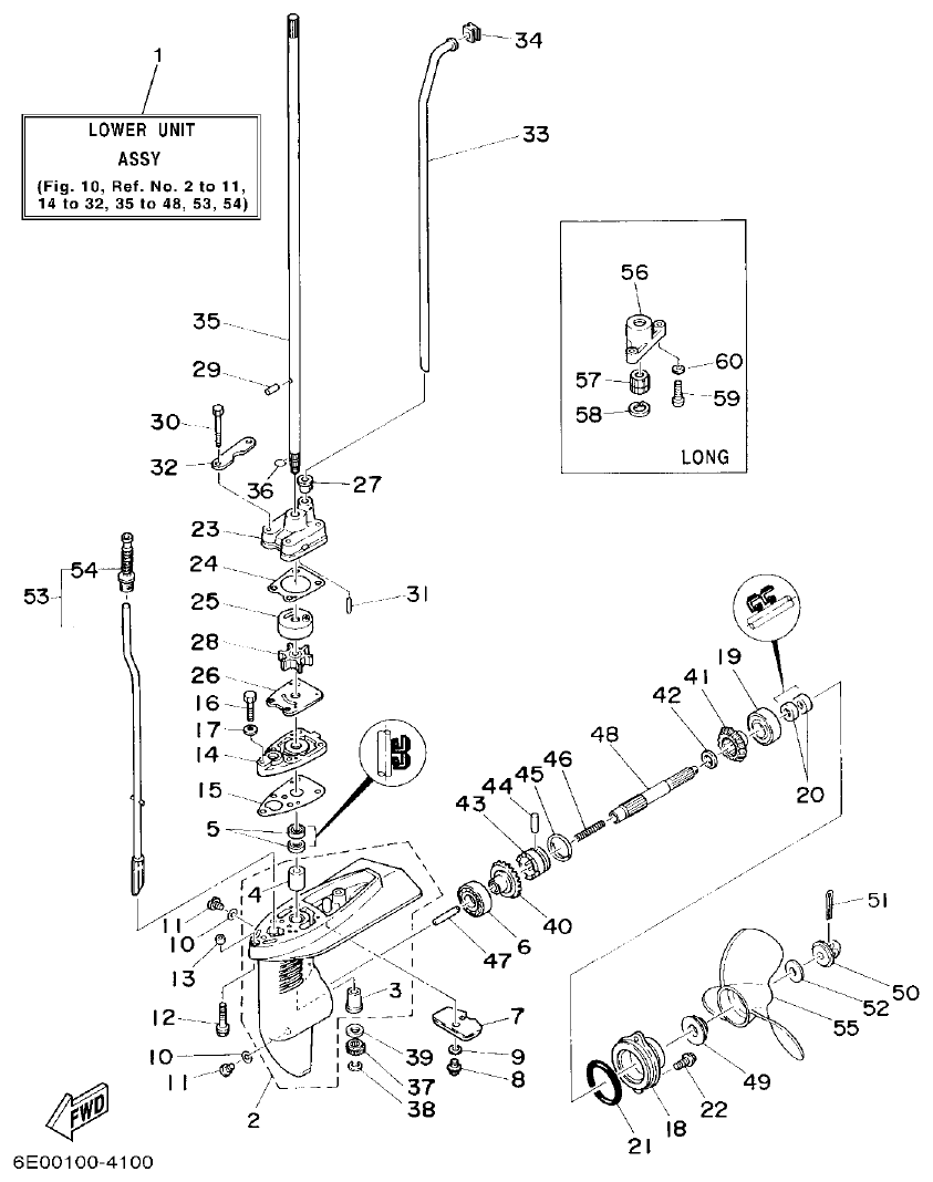
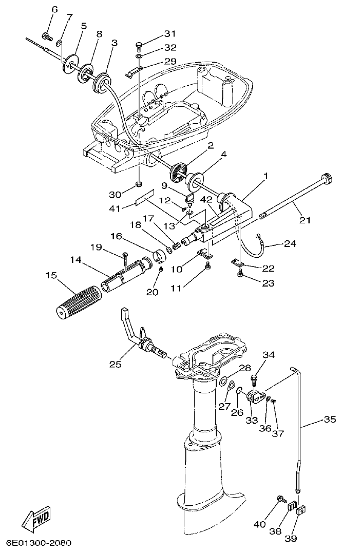
Fig. 10 — LOWER CASING. DRIVE
38 items
· 14 available products
Fig. 11 — FUEL TANK
7 items
Fig. 12 — REPAIR KIT
38 items
· 12 available products