πŸŒ™ Ψ±Ω…ΨΆΨ§Ω† ΩƒΨ±ΩŠΩ… ✨
✨ Ramadan Working Hours: 9:00 AM – 3:00 PM ✨

E65A'04

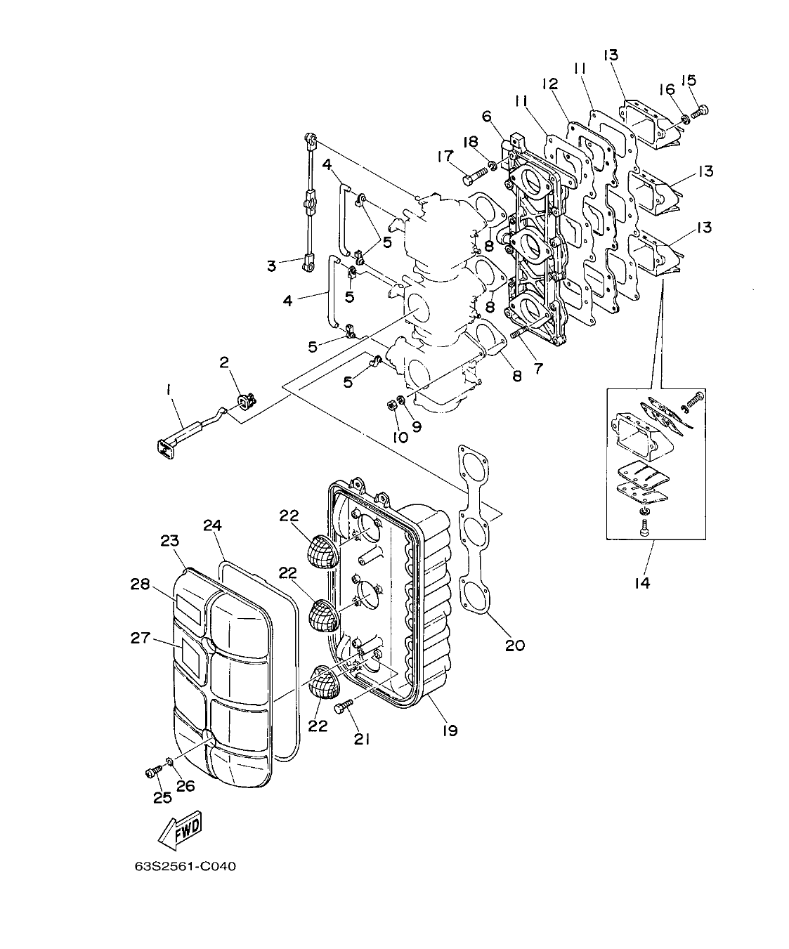
Section 4: INTAKE ADMISION (v2)

Model code: 65S2
Section 4 β€” INTAKE ADMISION
E65A'04
100%
E65A'04 – section 4 INTAKE ADMISION parts diagram
Diagram image Open full size
Parts list
Section 4
Ref Part No. / Description Qty Buy
1
692-41256-00
ROD, CHOKE 1
1
2
689-41273-00
GROMMET
1
6.70 AED
πŸ”“ Unlock Discounts
Stock 7
3
688-41217-01
ROD, ACCEL. LEVER
1
32.77 AED
πŸ”“ Unlock Discounts
Stock 57
4
688-41257-01
ROD, CHOKE 2
2
4.47 AED
πŸ”“ Unlock Discounts
Stock 6
5
661-41262-02
JOINT, CHOKE LEVER
5
17.13 AED
πŸ”“ Unlock Discounts
Stock 61
6
688-13641-00-94
MANIFOLD 1
1
7
90116-06122
BOLT, STUD
6
8
688-14198-A2
GASKET
3
11.17 AED
πŸ”“ Unlock Discounts
Stock 491
9
92995-06100
WASHER, SPRING
6
2.98 AED
πŸ”“ Unlock Discounts
Stock 12
10
95380-06600
NUT, HEXAGON
6
3.72 AED
πŸ”“ Unlock Discounts
Stock 3 (Ask)
11
688-13621-A1
GASKET, VALVE SEAT
2
11.92 AED
πŸ”“ Unlock Discounts
Stock 141
12
688-13624-00
PLATE,REED VALVE
1
30.54 AED
πŸ”“ Unlock Discounts
Stock 6
13
688-13610-00
REED VALVE ASSY
3
170.58 AED
πŸ”“ Unlock Discounts
Stock 127
14
688-W0004-00
.REED SET
1
90.88 AED
πŸ”“ Unlock Discounts
Stock 31
15
97880-05020
SCREW, PAN HEAD
6
16
92990-05100
WASHER, SPRING
6
2.98 AED
πŸ”“ Unlock Discounts
Stock 3 (Ask)
17
97013-06030
BOLT
12
18
92903-06100
WASHER, SPRING
12
19
688-14417-01-94
COVER 1
1
20
688-14483-A0
GASKET
1
6.70 AED
πŸ”“ Unlock Discounts
Stock 157
21
97013-06018
BOLT
6
22
688-14481-00
CAP, CARBURETOR
3
8.19 AED
πŸ”“ Unlock Discounts
Stock 256
23
688-14418-01
COVER 2
1
24
688-14416-01
GASKET, AIR CLEANER
1
41.71 AED
πŸ”“ Unlock Discounts
Stock 9
25
97885-06016
SCREW, PAN HEAD
2
2.98 AED
πŸ”“ Unlock Discounts
Stock 12
26
90209-06M05
WASHER
2
27
6H1-14488-00
LABEL, CAUTION
1
28
6A1-83625-41
MARK 5
1