πŸŒ™ Ψ±Ω…ΨΆΨ§Ω† ΩƒΨ±ΩŠΩ… ✨
✨ Ramadan Working Hours: 9:00 AM – 3:00 PM ✨

E65A'04

Section 10: BOTTOM COWLING CUBIERTA INFERIOR (v2)

Model code: 65S2
Section 10 β€” BOTTOM COWLING CUBIERTA INFERIOR
E65A'04
100%
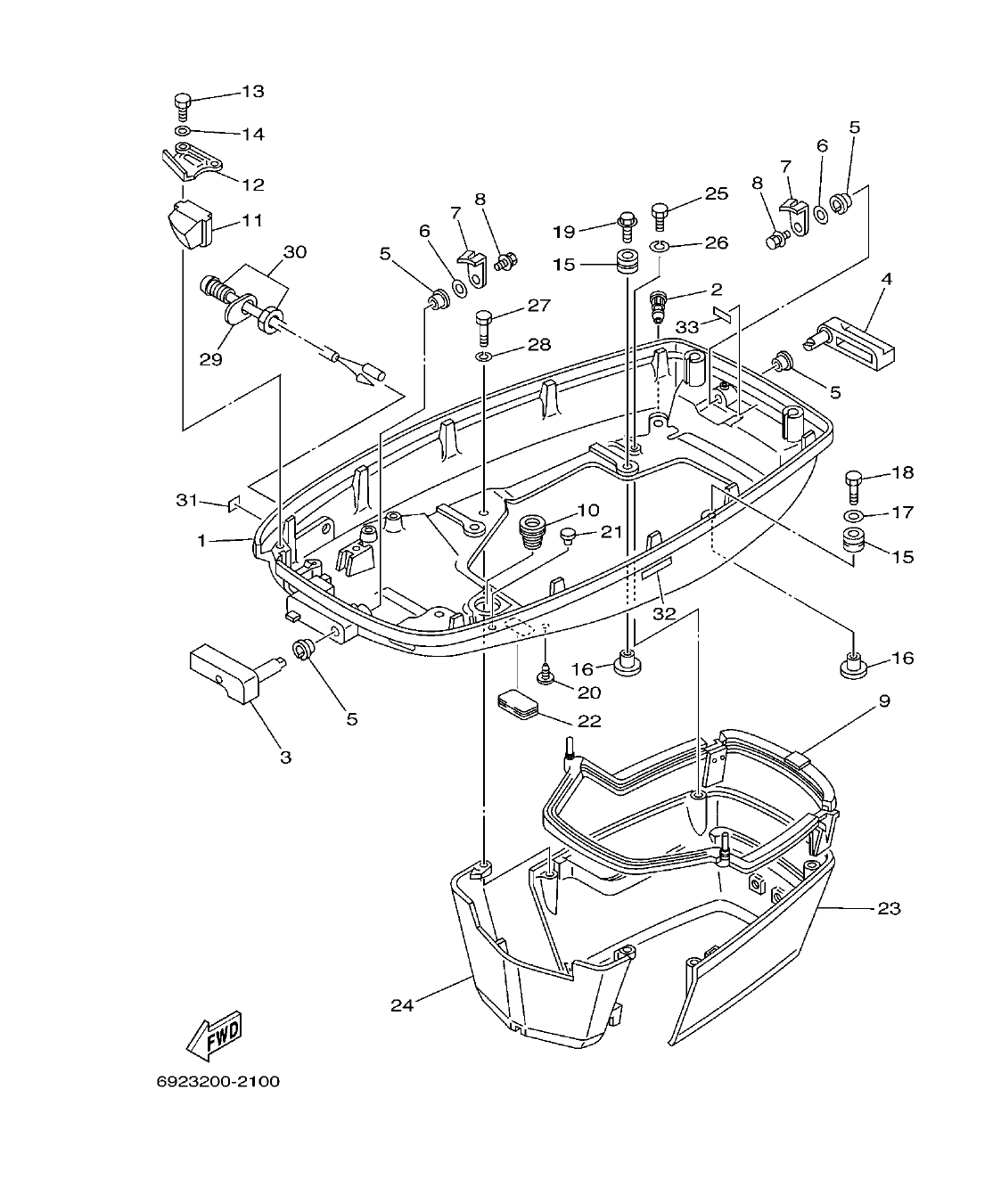
E65A'04 – section 10 BOTTOM COWLING CUBIERTA INFERIOR parts diagram
Diagram image Open full size
Parts list
Section 10
Ref Part No. / Description Qty Buy
1
692-42711-02-4D
COWLING, BOTTOM
1
2
6H3-44391-01
NIPPLE, HOSE
1
3
688-42815-01-4D
LEVER, CLAMP
1
4
688-42817-01-4D
LEVER, CLAMP
1
5
90386-13M38
BUSH
4
6
90206-13019
WASHER, WAVE
2
7
688-42816-00
LEVER, CLAMP
2
8
90119-06M09
BOLT, WITH WASHER
2
9
688-42716-02
RUBBER, SEAL 1
1
10
663-42724-00
GROMMET
1
11
692-42725-10
GROMMET
1
12
688-42738-01-94
PLATE, FITTING
1
13
97095-06016
BOLT
2
14
92995-06600
WASHER
2
15
90480-09M12
GROMMET
4
4.47 AED
πŸ”“ Unlock Discounts
Stock 1 (Ask)
16
90387-06M69
COLLAR
4
8.94 AED
πŸ”“ Unlock Discounts
Stock 165
17
90201-06416
WASHER, PLATE
1
18
97095-06030
BOLT
1
19
90119-06M61
BOLT, WITH WASHER
3
20
90338-05M03
PLUG
1
21
703-82119-00
COVER, LEAD WIRE
1
22
6H4-42726-00
GROMMET
1
23
688-42741-01-4D
APRON
1
24
688-42771-01-4D
APRON
1
25
97095-06020
BOLT
2
26
92995-06100
WASHER, SPRING
2
2.98 AED
πŸ”“ Unlock Discounts
Stock 12
27
97095-06030
BOLT
2
28
92995-06100
WASHER, SPRING
2
2.98 AED
πŸ”“ Unlock Discounts
Stock 12
29
692-85415-00
MARK, SIGNAL LAMP
1
30
6H4-85411-00
OVERHEAT WARNING LAMP
1
31
6A1-28176-00
LABEL, CAUTION
FOR CAR
1
32
6E3-8257H-00
PLATE, MARK
FOR CAR
1
33
6G5-42791-00
MARK
1
33
6G5-42791-10
MARK
E75B-FOR CAR
1