DE-DHD
Section 4: LOWER CASING & DRIVE 1 (v2)
Model code: 6U32
Parts list
Section 4
| Ref | Part No. / Description | Qty | Buy |
|---|---|---|---|
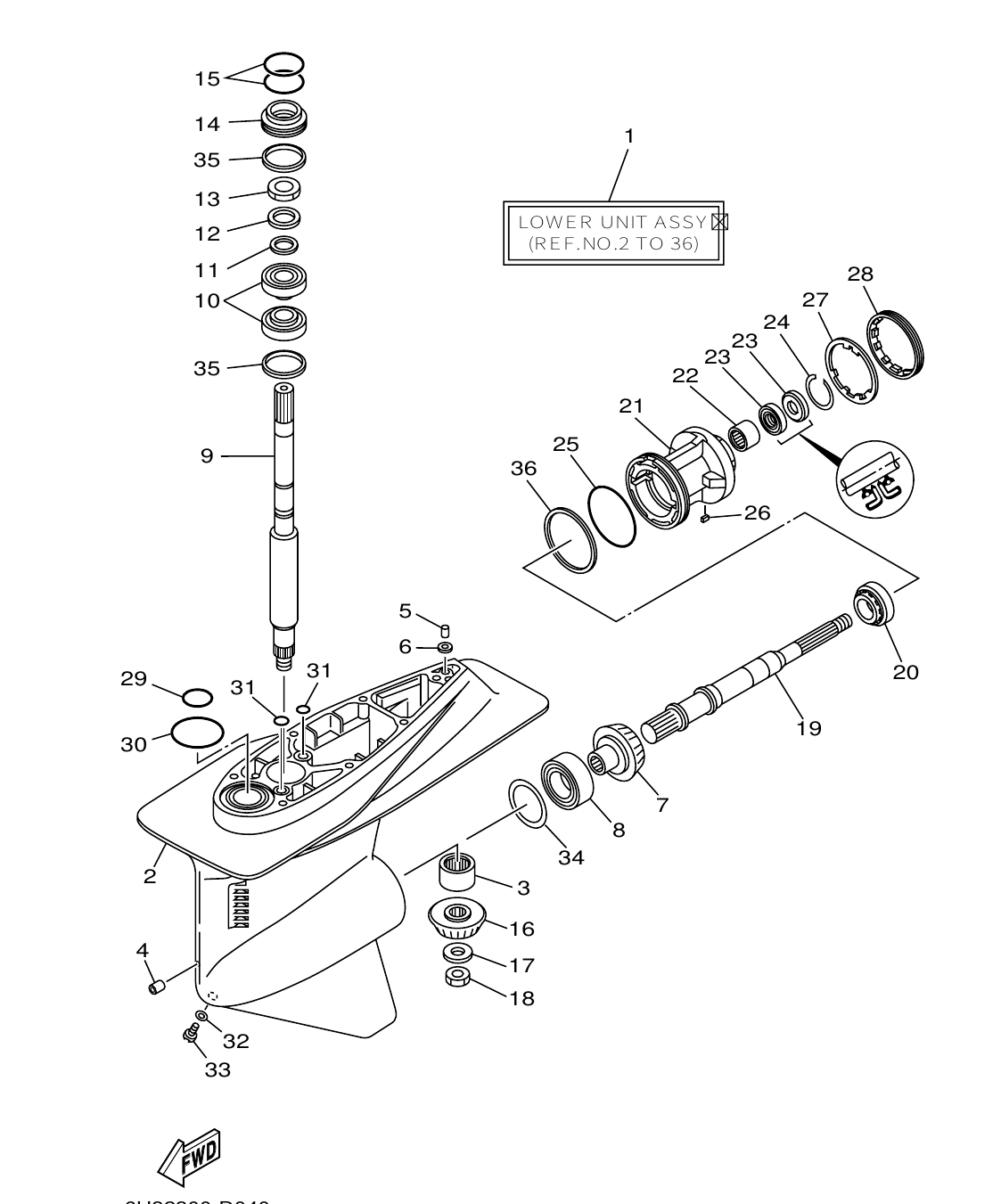
| 1 |
6U3-45300-02-8D
LOWER UNIT ASSY
DBN1
|
1 | |
| 2 |
6T5-45587-60
SHIM (T:0.50MM)
UN
|
1 | |
| 2 |
6U3-45311-01-8D
CASING, LOWER
DBN1
|
1 | |
| 3 |
93319-931U0
BEARING
|
1 | |
| 4 |
90387-02M00
COLLAR
|
1 | |
| 5 |
93608-12M05
PIN, DOWEL
|
1 | |
| 6 |
92990-08400
WASHER
|
1 |
3.68 AED
Check price & stock on WhatsApp
|
| 7 |
6T5-45587-40
SHIM (T:0.30MM)
UN
|
1 | |
| 7 |
6U3-45561-02
GEAR 1
|
1 | |
| 8 |
6T5-45587-50
SHIM (T:0.40MM)
UN
|
1 | |
| 8 |
93332-000W3
BEARING
|
1 | |
| 9 |
6U1-45567-30
SHIM (T:0.18MM)
UN
|
1 | |
| 9 |
6U3-45511-00
SHAFT, DRIVE
|
1 | |
| 10 |
93332-00094
BEARING
|
2 | |
| 11 |
90201-30M01
WASHER, PLATE
|
1 | |
| 12 |
90214-30M06
WASHER, CLAW
|
1 | |
| 13 |
90170-30M18
NUT
|
1 | |
| 14 |
6U1-45538-00-94
SPACER 1
|
1 | |
| 15 |
93210-57MF6
O-RING
|
2 | |
| 16 |
6U3-45551-03
PINION
|
1 | |
| 17 |
6U1-45577-10
SHIM (T:0.12MM)
UN
|
1 | |
| 17 |
90201-21M03
WASHER, PLATE
|
1 | |
| 18 |
6U1-45577-20
SHIM (T:0.15MM)
UN
|
1 | |
| 18 |
90185-20M09
NUT, SELF-LOCKING
|
1 | |
| 19 |
6U1-45611-01
SHAFT, PROPELLER
|
1 | |
| 20 |
93332-00082
BEARING
|
1 | |
| 20 |
6T5-45587-30
SHIM (T:0.18MM)
UN
|
1 | |
| 20 |
6T5-45587-10
SHIM (T:0.12MM)
UN
|
1 | |
| 20 |
6T5-45587-20
SHIM (T:0.15MM)
UN
|
1 | |
| 21 |
6U1-45332-02-94
HOUSING, BEARING
|
1 | |
| 22 |
6U1-45567-10
SHIM (T:0.12MM)
UN
|
1 | |
| 22 |
6U1-45567-20
SHIM (T:0.15MM)
UN
|
1 | |
| 22 |
93315-430U8
BEARING
|
1 | |
| 23 |
93102-30M29
OIL SEAL
|
2 | |
| 24 |
93450-45M02
CIRCLIP
|
1 | |
| 25 |
93210-99103
O-RING
|
1 | |
| 26 |
6U1-45567-40
SHIM (T:0.30MM)
UN
|
1 | |
| 26 |
6U1-45567-50
SHIM (T:0.40MM)
UN
|
1 | |
| 26 |
6U1-45567-60
SHIM (T:0.50MM)
UN
|
1 | |
| 26 |
90282-04M00
KEY, STRAIGHT
|
1 |
5.96 AED
Check price & stock on WhatsApp
|
| 27 |
6U1-45383-10
WASHER, CLAW
|
1 | |
| 28 |
6T5-45384-00
NUT
|
1 | |
| 29 |
93210-48MF7
O-RING
|
1 | |
| 30 |
93210-76MF8
O-RING
|
1 | |
| 31 |
93210-17MF9
O-RING
|
2 | |
| 32 |
6U1-45577-30
SHIM (T:0.18MM)
UN
|
1 | |
| 32 |
6U1-45577-40
SHIM (T:0.30MM)
UN
|
1 | |
| 32 |
6U1-45577-50
SHIM (T:0.40MM)
UN
|
1 | |
| 32 |
6U1-45577-60
SHIM (T:0.50MM)
UN
|
1 | |
| 32 |
90430-08020
GASKET
|
1 | |
| 33 |
688-45341-00
PLUG, DRAIN
|
1 | |
| 34 |
6U1-45567-00
SHIM (T:0.10MM)
UN
|
1 | |
| 35 |
6T5-45587-00
SHIM (T:0.10MM)
UN
|
1 | |
| 36 |
6U1-45577-00
SHIM (T:0.10MM)
UN
|
1 |