Catalogs / Suzuki / Outboard

Suzuki DF140AT, DF140AZ Parts Catalog

Browse 54 catalog sections for Suzuki DF140AT, DF140AZ. Open a section to view the parts diagram, reference numbers and available products.

Suzuki DF140AT, DF140AZ CYLINDER HEAD parts diagram
Fig. 1 — CYLINDER HEAD
26 items · 13 available products
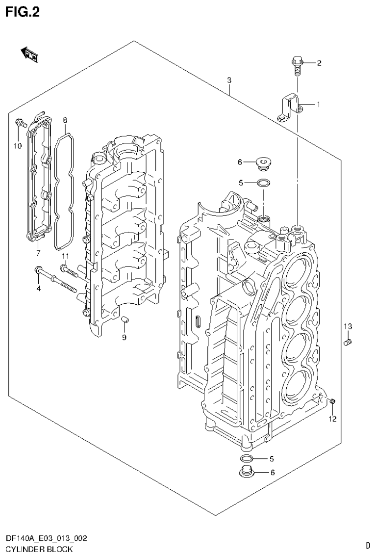
Suzuki DF140AT, DF140AZ CYLINDER BLOCK parts diagram
Fig. 2 — CYLINDER BLOCK
13 items · 4 available products
Suzuki DF140AT, DF140AZ RING GEAR COVER parts diagram
Fig. 3 — RING GEAR COVER
7 items · 1 available products
Suzuki DF140AT, DF140AZ CRANKSHAFT parts diagram
Fig. 4 — CRANKSHAFT
26 items · 15 available products
Suzuki DF140AT, DF140AZ TIMING CHAIN parts diagram
Fig. 5 — TIMING CHAIN
19 items · 9 available products
Suzuki DF140AT, DF140AZ CAMSHAFT parts diagram
Fig. 6 — CAMSHAFT
44 items · 21 available products
Suzuki DF140AT, DF140AZ INTAKE MANIFOLD parts diagram
Fig. 7 — INTAKE MANIFOLD
14 items · 7 available products
Suzuki DF140AT, DF140AZ SILENCER parts diagram
Fig. 8 — SILENCER
8 items · 1 available products
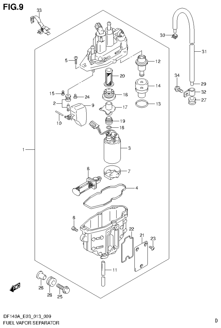
Suzuki DF140AT, DF140AZ FUEL VAPOR SEPARATOR parts diagram
Fig. 9 — FUEL VAPOR SEPARATOR
34 items · 8 available products
Suzuki DF140AT, DF140AZ FUEL INJECTOR parts diagram
Fig. 10 — FUEL INJECTOR
14 items · 5 available products
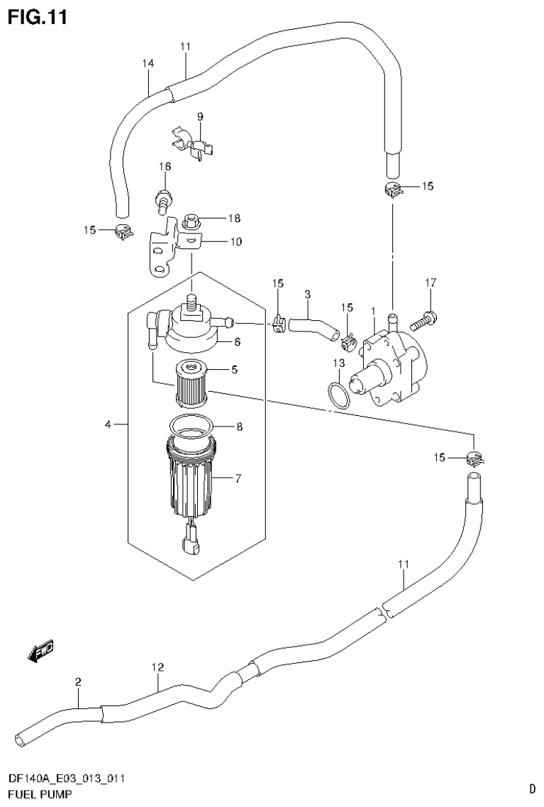
Suzuki DF140AT, DF140AZ FUEL PUMP parts diagram
Fig. 11 — FUEL PUMP
18 items · 6 available products
Suzuki DF140AT, DF140AZ WATER PUMP (DF140AT E03) parts diagram
Fig. 12 — WATER PUMP (DF140AT E03)
29 items · 13 available products
Suzuki DF140AT, DF140AZ WATER PUMP (DF140AZ E03) parts diagram
Fig. 13 — WATER PUMP (DF140AZ E03)
28 items · 13 available products
Suzuki DF140AT, DF140AZ THERMOSTAT parts diagram
Fig. 14 — THERMOSTAT
19 items · 6 available products
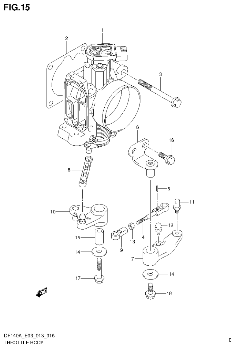
Suzuki DF140AT, DF140AZ THROTTLE BODY parts diagram
Fig. 15 — THROTTLE BODY
17 items · 5 available products
Suzuki DF140AT, DF140AZ OIL PUMP parts diagram
Fig. 16 — OIL PUMP
14 items · 7 available products
Suzuki DF140AT, DF140AZ OIL FILTER parts diagram
Fig. 17 — OIL FILTER
2 items
Suzuki DF140AT, DF140AZ OIL PAN parts diagram
Fig. 18 — OIL PAN
16 items · 9 available products
Suzuki DF140AT, DF140AZ CLUTCH SHAFT (DF140AT E03) parts diagram
Fig. 19 — CLUTCH SHAFT (DF140AT E03)
22 items · 8 available products
Suzuki DF140AT, DF140AZ CLUTCH SHAFT (DF140AZ E03) parts diagram
Fig. 20 — CLUTCH SHAFT (DF140AZ E03)
21 items · 8 available products
Suzuki DF140AT, DF140AZ CLUTCH ROD (DF140AT E03) parts diagram
Fig. 21 — CLUTCH ROD (DF140AT E03)
11 items · 3 available products
Suzuki DF140AT, DF140AZ CLUTCH ROD (DF140AZ E03) parts diagram
Fig. 22 — CLUTCH ROD (DF140AZ E03)
10 items · 3 available products
Suzuki DF140AT, DF140AZ TRANSMISSION (DF140AT E03) parts diagram
Fig. 23 — TRANSMISSION (DF140AT E03)
74 items · 22 available products
Suzuki DF140AT, DF140AZ TRANSMISSION (DF140AZ E03) parts diagram
Fig. 24 — TRANSMISSION (DF140AZ E03)
77 items · 20 available products
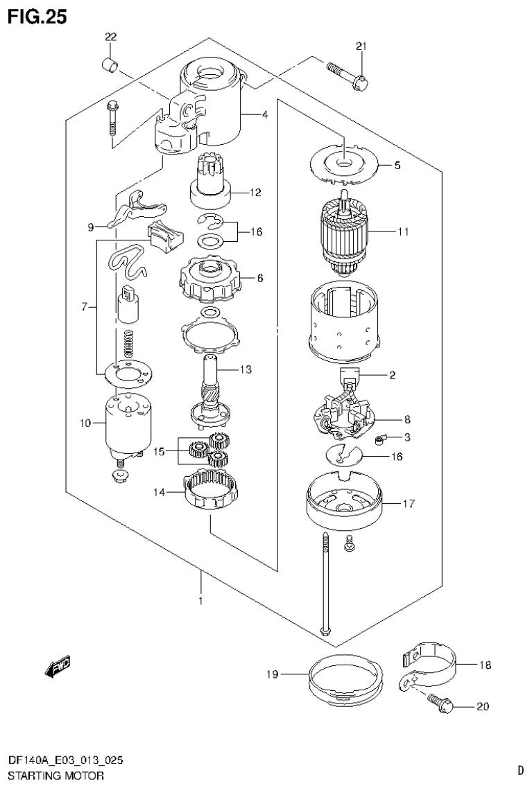
Suzuki DF140AT, DF140AZ STARTING MOTOR parts diagram
Fig. 25 — STARTING MOTOR
22 items · 3 available products
Suzuki DF140AT, DF140AZ MAGNETO parts diagram
Fig. 26 — MAGNETO
11 items · 1 available products
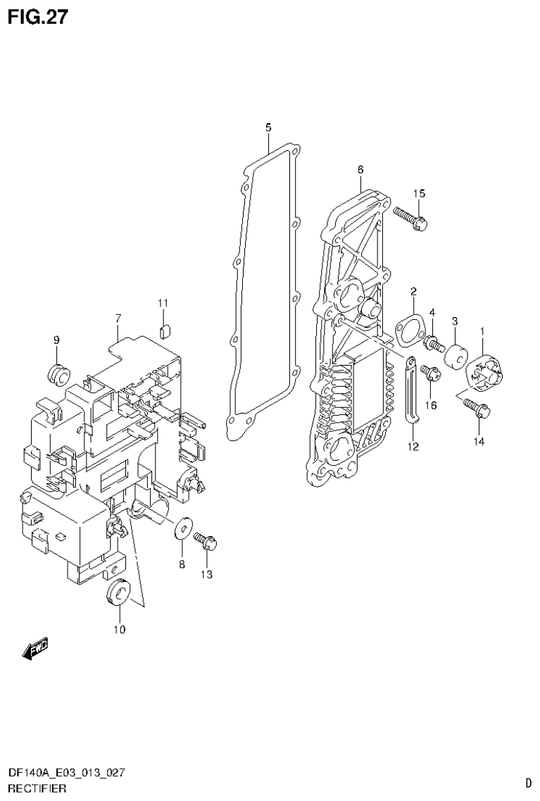
Suzuki DF140AT, DF140AZ RECTIFIER parts diagram
Fig. 27 — RECTIFIER
17 items · 10 available products
Suzuki DF140AT, DF140AZ IGNITION COIL parts diagram
Fig. 28 — IGNITION COIL
9 items · 1 available products
Suzuki DF140AT, DF140AZ SENSOR parts diagram
Fig. 29 — SENSOR
20 items · 8 available products
Suzuki DF140AT, DF140AZ HARNESS parts diagram
Fig. 30 — HARNESS
22 items · 5 available products
Suzuki DF140AT, DF140AZ PTT SWITCH/ENGINE CONTROL UNIT parts diagram
Fig. 31 — PTT SWITCH/ENGINE CONTROL UNIT
9 items · 1 available products
Suzuki DF140AT, DF140AZ CLAMP BRACKET parts diagram
Fig. 32 — CLAMP BRACKET
19 items · 8 available products
Suzuki DF140AT, DF140AZ SWIVEL BRACKET (DF140AT E03) parts diagram
Fig. 33 — SWIVEL BRACKET (DF140AT E03)
30 items · 9 available products
Suzuki DF140AT, DF140AZ SWIVEL BRACKET (DF140AZ E03) parts diagram
Fig. 34 — SWIVEL BRACKET (DF140AZ E03)
28 items · 9 available products
Suzuki DF140AT, DF140AZ TRIM CYLINDER parts diagram
Fig. 35 — TRIM CYLINDER
26 items · 10 available products
Suzuki DF140AT, DF140AZ PTT MOTOR parts diagram
Fig. 36 — PTT MOTOR
20 items · 5 available products
Suzuki DF140AT, DF140AZ ENGINE HOLDER parts diagram
Fig. 37 — ENGINE HOLDER
30 items · 16 available products
Suzuki DF140AT, DF140AZ DRIVE SHAFT HOUSING (DF140AT E03) parts diagram
Fig. 38 — DRIVE SHAFT HOUSING (DF140AT E03)
19 items · 7 available products
Suzuki DF140AT, DF140AZ DRIVE SHAFT HOUSING (DF140AZ E03) parts diagram
Fig. 39 — DRIVE SHAFT HOUSING (DF140AZ E03)
18 items · 7 available products
Suzuki DF140AT, DF140AZ GEAR CASE (DF140AT E03) parts diagram
Fig. 40 — GEAR CASE (DF140AT E03)
30 items · 18 available products
Suzuki DF140AT, DF140AZ GEAR CASE (DF140AZ E03) parts diagram
Fig. 41 — GEAR CASE (DF140AZ E03)
34 items · 17 available products
Suzuki DF140AT, DF140AZ SIDE COVER parts diagram
Fig. 42 — SIDE COVER
33 items · 8 available products
Suzuki DF140AT, DF140AZ ENGINE COVER parts diagram
Fig. 43 — ENGINE COVER
26 items · 5 available products
Suzuki DF140AT, DF140AZ SQUEEZE PUMP parts diagram
Fig. 44 — SQUEEZE PUMP
4 items · 1 available products
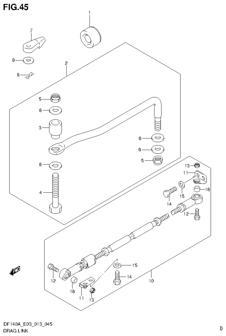
Suzuki DF140AT, DF140AZ DRAG LINK parts diagram
Fig. 45 — DRAG LINK
16 items · 6 available products
Suzuki DF140AT, DF140AZ OPT:METER parts diagram
Fig. 46 — OPT:METER
50 items · 5 available products
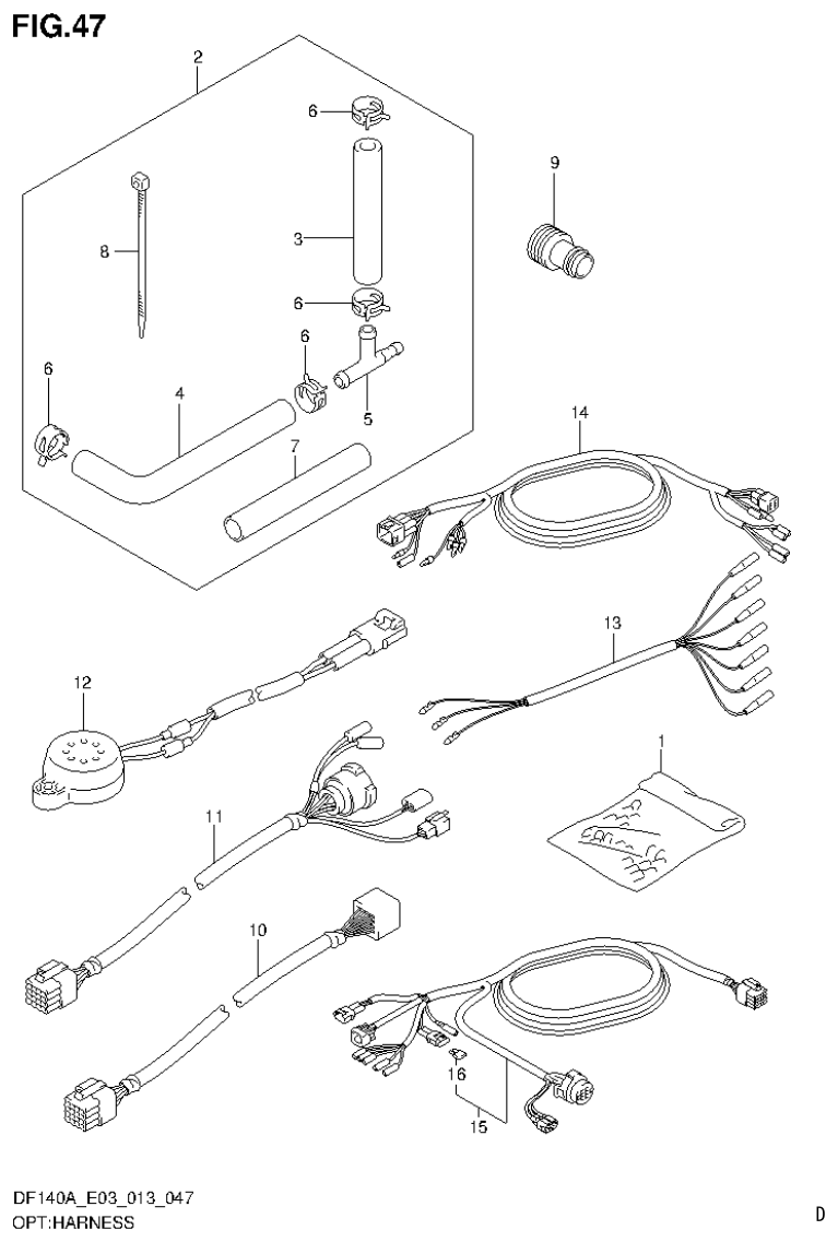
Suzuki DF140AT, DF140AZ OPT:HARNESS parts diagram
Fig. 47 — OPT:HARNESS
19 items · 3 available products
Suzuki DF140AT, DF140AZ OPT:SWITCH parts diagram
Fig. 48 — OPT:SWITCH
72 items · 3 available products
Suzuki DF140AT, DF140AZ OPT:REMOTE CONTROL ASSY DUAL (1) parts diagram
Fig. 49 — OPT:REMOTE CONTROL ASSY DUAL (1)
30 items · 4 available products
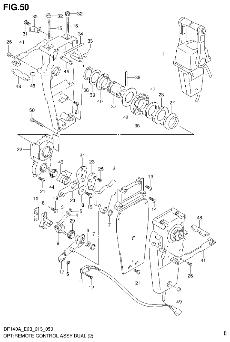
Suzuki DF140AT, DF140AZ OPT:REMOTE CONTROL ASSY DUAL (2) parts diagram
Fig. 50 — OPT:REMOTE CONTROL ASSY DUAL (2)
50 items · 1 available products
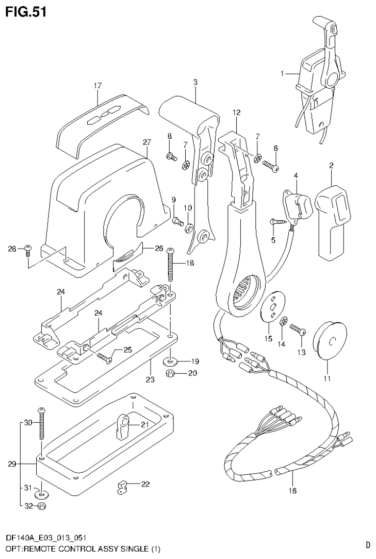
Suzuki DF140AT, DF140AZ OPT:REMOTE CONTROL ASSY SINGLE (1) parts diagram
Fig. 51 — OPT:REMOTE CONTROL ASSY SINGLE (1)
32 items · 4 available products
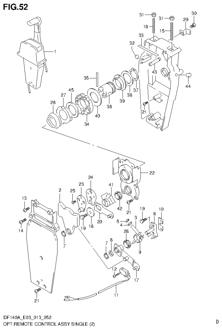
Suzuki DF140AT, DF140AZ OPT:REMOTE CONTROL ASSY SINGLE (2) parts diagram
Fig. 52 — OPT:REMOTE CONTROL ASSY SINGLE (2)
45 items · 2 available products
Suzuki DF140AT, DF140AZ OPT:GASKET SET parts diagram
Fig. 53 — OPT:GASKET SET
12 items · 7 available products
Suzuki DF140AT, DF140AZ OPT:LOWRANCE GAUGE parts diagram
Fig. 54 — OPT:LOWRANCE GAUGE
29 items · 8 available products