Catalogs / Yamaha / Generator
Yamaha 7WY2 Parts Catalog
Browse 18 catalog sections for Yamaha 7WY2. Open a section to view the parts diagram, reference numbers and available products.
Fig. 1 — CYLINDER
13 items
Fig. 2 — CRANKSHAFT. PISTON
20 items
Fig. 3 — GOVERNOR 1
20 items
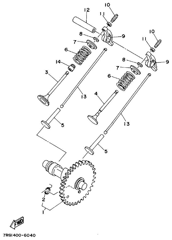
Fig. 4 — CAMSHAFT.VALVE
14 items
Fig. 5 — AIR SHROUD. STARTER
16 items
Fig. 6 — INTAKE
11 items
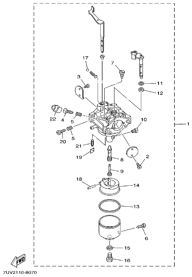
Fig. 7 — CARBURETOR
24 items
Fig. 8 — EXHAUST
9 items
Fig. 9 — CRANKCASE
22 items
Fig. 10 — FRAME
8 items
Fig. 11 — FUEL TANK
23 items
Fig. 12 — MAGNETO
10 items
Fig. 13 — ELECTRICAL
9 items
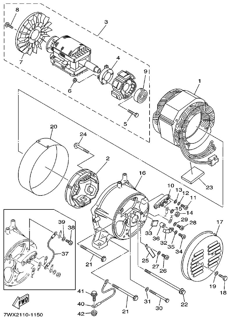
Fig. 14 — GENERATOR 1 (EF4600A)
33 items
Fig. 15 — GENERATOR 2 (EF6600A)
42 items
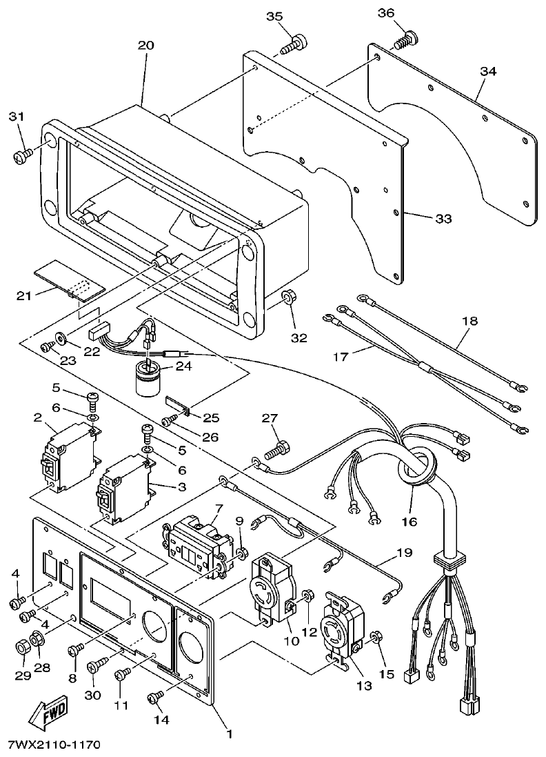
Fig. 16 — CONTROL BOX 1 (EF4600A)
37 items
Fig. 17 — CONTROL BOX 2 (EF6600A)
37 items
Fig. 18 — LABELS
10 items