Catalogs / Yamaha / Inboard

Yamaha ME421STI Parts Catalog

Browse 53 catalog sections for Yamaha ME421STI. Open a section to view the parts diagram, reference numbers and available products.

Yamaha ME421STI CYLINDER HEAD parts diagram
Fig. 1 — CYLINDER HEAD
19 items
Yamaha ME421STI CYLINDER BLOCK parts diagram
Fig. 2 — CYLINDER BLOCK
17 items
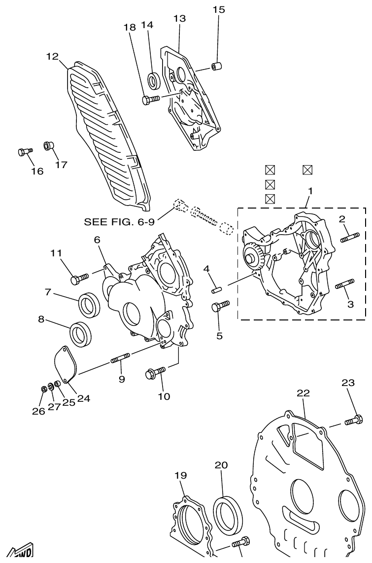
Yamaha ME421STI TIMING GEAR COVER. REAR END PLATE parts diagram
Fig. 3 — TIMING GEAR COVER. REAR END PLATE
16 items
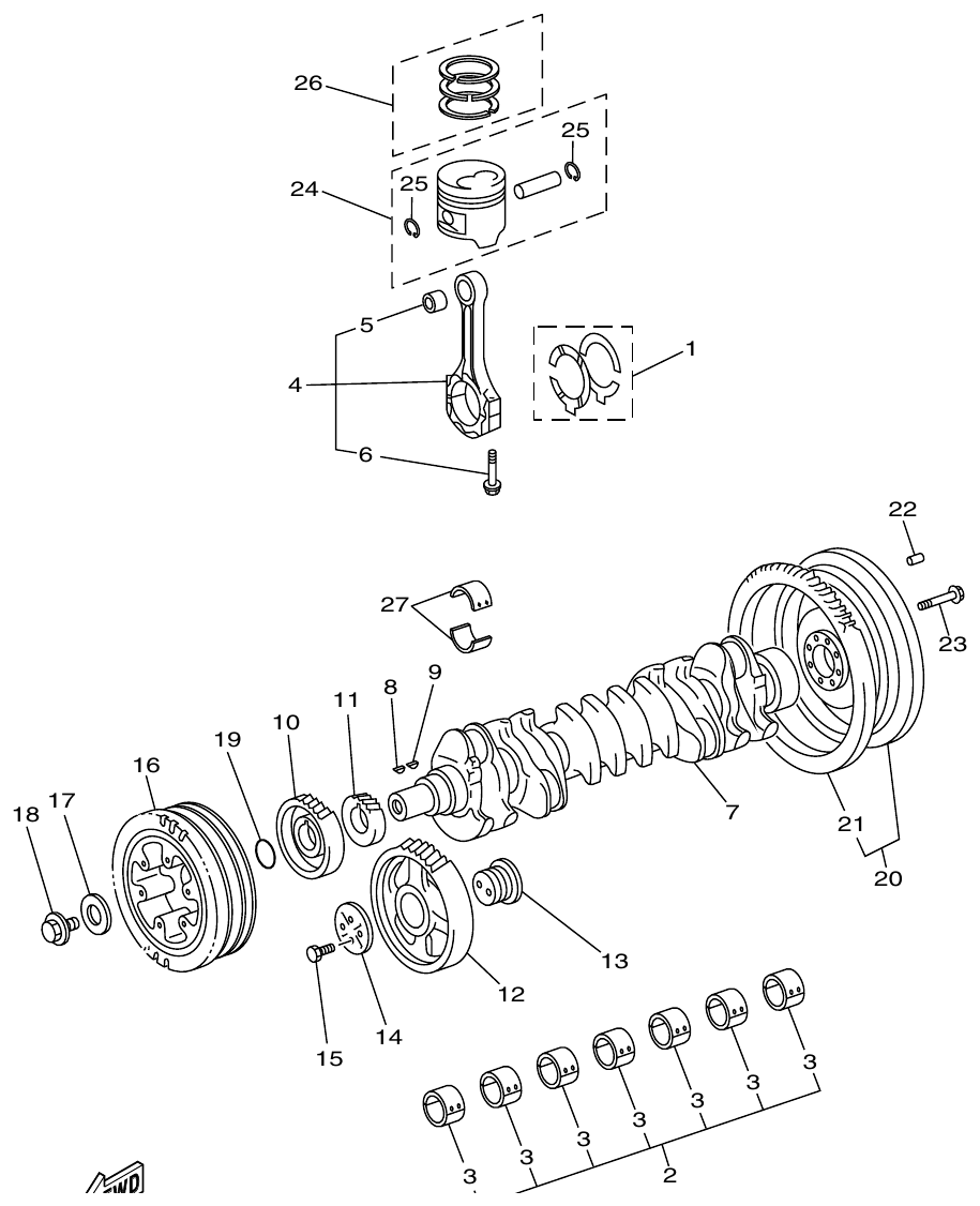
Yamaha ME421STI CRANKSHAFT. PISTON parts diagram
Fig. 4 — CRANKSHAFT. PISTON
25 items
Yamaha ME421STI CAMSHAFT. VALVE parts diagram
Fig. 5 — CAMSHAFT. VALVE
24 items
Yamaha ME421STI OIL PUMP parts diagram
Fig. 6 — OIL PUMP
11 items
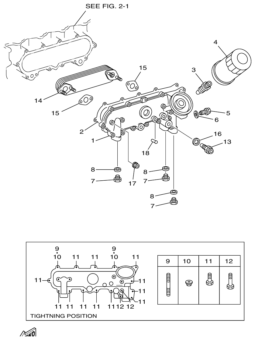
Yamaha ME421STI OIL FILTER. COOLER parts diagram
Fig. 7 — OIL FILTER. COOLER
14 items
Yamaha ME421STI WATER PUMP (CIRCULATION) parts diagram
Fig. 8 — WATER PUMP (CIRCULATION)
9 items
Yamaha ME421STI GLOW PLUG, INJECTION NOZZLE parts diagram
Fig. 9 — GLOW PLUG, INJECTION NOZZLE
7 items
Yamaha ME421STI NOZZLE HOLDER ASSY parts diagram
Fig. 10 — NOZZLE HOLDER ASSY
9 items
Yamaha ME421STI ADJUSTING SHIM (FOR NOZZLE HOLDER ASSY) parts diagram
Fig. 11 — ADJUSTING SHIM (FOR NOZZLE HOLDER ASSY)
59 items
Yamaha ME421STI INJECTION PUMP parts diagram
Fig. 12 — INJECTION PUMP
17 items
Yamaha ME421STI FLYWHEEL HOUSING 1 (ME421STIP1/STIP2) parts diagram
Fig. 13 — FLYWHEEL HOUSING 1 (ME421STIP1/STIP2)
25 items · 1 available products
Yamaha ME421STI FLYWHEEL HOUSING 2 (ME421DTIP1/DTIP2) parts diagram
Fig. 14 — FLYWHEEL HOUSING 2 (ME421DTIP1/DTIP2)
16 items · 1 available products
Yamaha ME421STI MOUNTING 1 (ME421STIP1/STIP2) parts diagram
Fig. 15 — MOUNTING 1 (ME421STIP1/STIP2)
8 items
Yamaha ME421STI MOUNTING 2 (ME421DTIP1/DTIP2) parts diagram
Fig. 16 — MOUNTING 2 (ME421DTIP1/DTIP2)
14 items
Yamaha ME421STI OIL COOLER 1 parts diagram
Fig. 17 — OIL COOLER 1
9 items
Yamaha ME421STI OIL COOLER 2 (ME421DTIP1/DTIP2) parts diagram
Fig. 18 — OIL COOLER 2 (ME421DTIP1/DTIP2)
9 items
Yamaha ME421STI LUBRICATION SYSTEM parts diagram
Fig. 19 — LUBRICATION SYSTEM
15 items
Yamaha ME421STI VENTILATION parts diagram
Fig. 20 — VENTILATION
13 items · 1 available products
Yamaha ME421STI WATER COOLER (HEAT EXCHANGER) parts diagram
Fig. 21 — WATER COOLER (HEAT EXCHANGER)
15 items
Yamaha ME421STI WATER COOLING 1 (OUTLET) parts diagram
Fig. 22 — WATER COOLING 1 (OUTLET)
12 items
Yamaha ME421STI WATER COOLING 2 (THERMO UNIT) parts diagram
Fig. 23 — WATER COOLING 2 (THERMO UNIT)
12 items
Yamaha ME421STI SEA WATER PUMP 1 (ME421STIP1/STIP2) parts diagram
Fig. 24 — SEA WATER PUMP 1 (ME421STIP1/STIP2)
14 items
Yamaha ME421STI SEA WATER PUMP 2 (ME421DTIP1/DTIP2) parts diagram
Fig. 25 — SEA WATER PUMP 2 (ME421DTIP1/DTIP2)
16 items
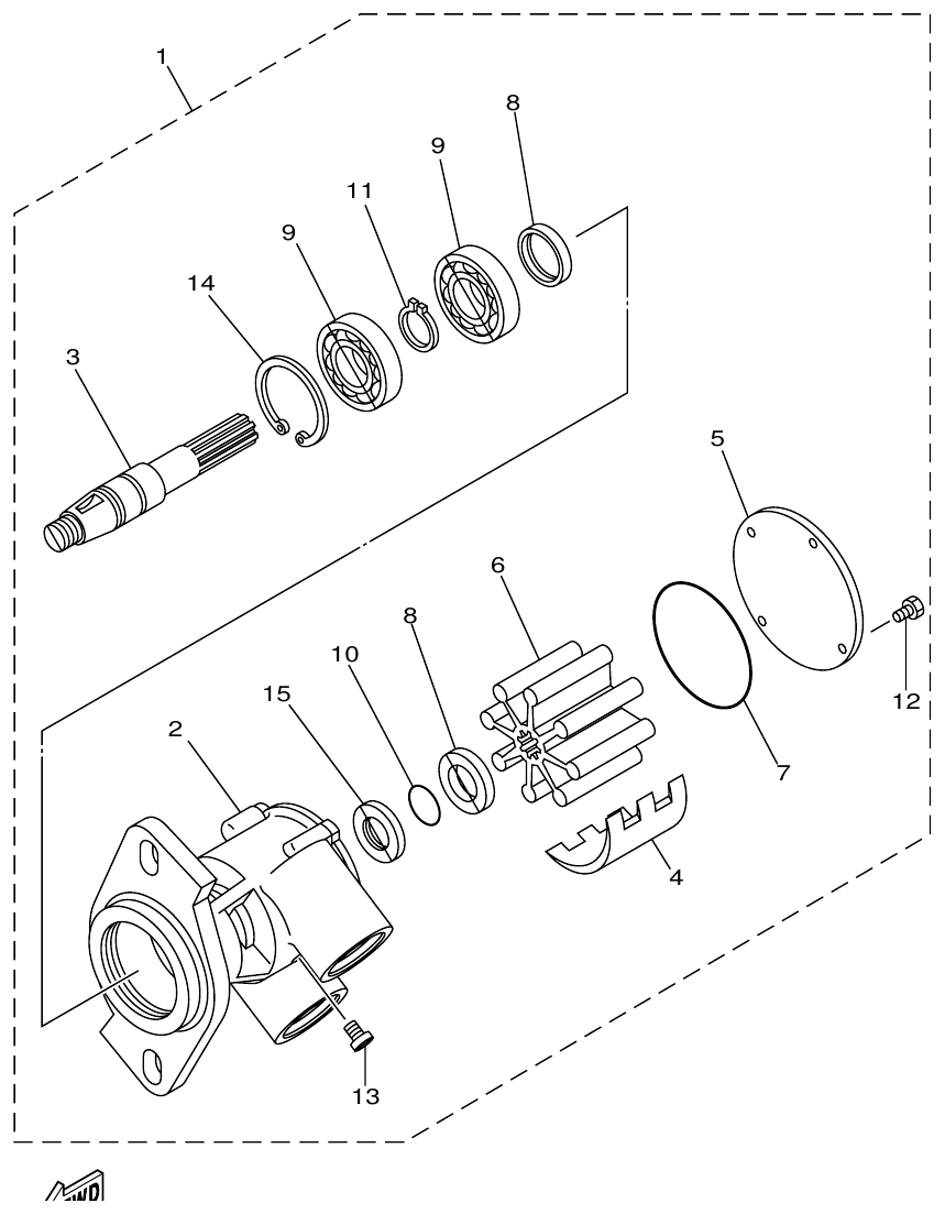
Yamaha ME421STI SEA WATER PUMP SUB-ASSY parts diagram
Fig. 26 — SEA WATER PUMP SUB-ASSY
12 items
Yamaha ME421STI WATER FILTER (SEA WATER) parts diagram
Fig. 27 — WATER FILTER (SEA WATER)
23 items
Yamaha ME421STI POWER STEERING PUMP parts diagram
Fig. 28 — POWER STEERING PUMP
17 items
Yamaha ME421STI INTAKE MANIFOLD parts diagram
Fig. 29 — INTAKE MANIFOLD
8 items
Yamaha ME421STI FUEL FILTER parts diagram
Fig. 30 — FUEL FILTER
11 items
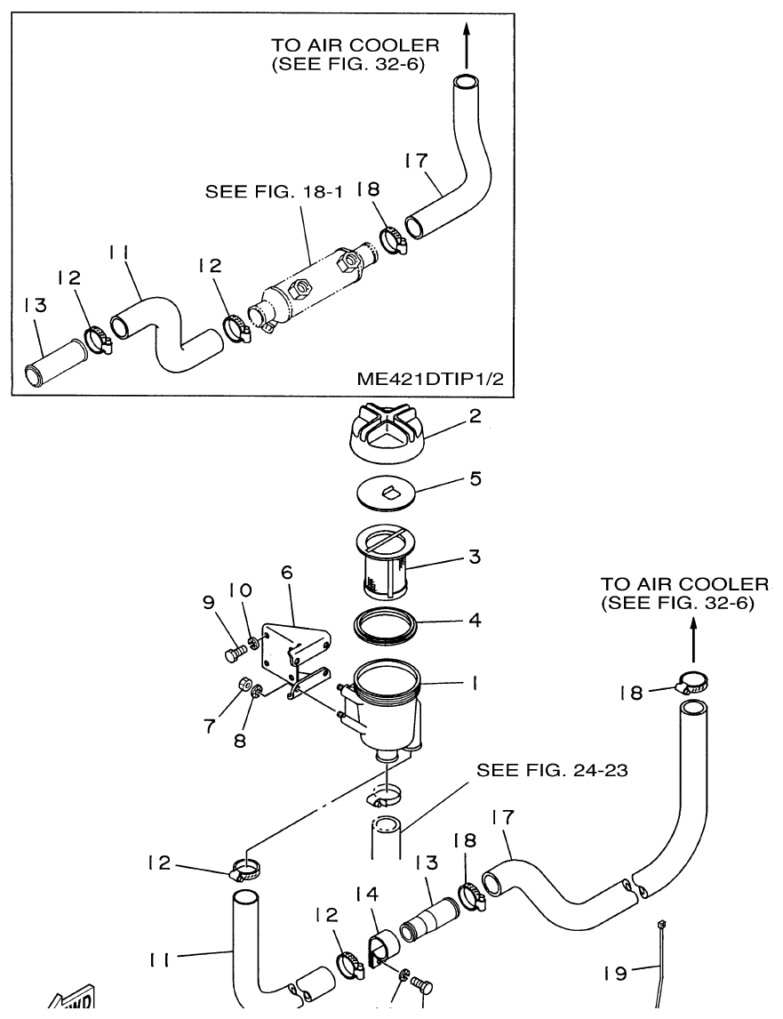
Yamaha ME421STI AIR CLEANER parts diagram
Fig. 31 — AIR CLEANER
13 items
Yamaha ME421STI AIR COOLER parts diagram
Fig. 32 — AIR COOLER
20 items
Yamaha ME421STI EXHAUST 1 parts diagram
Fig. 33 — EXHAUST 1
11 items
Yamaha ME421STI EXHAUST 2 (TURBO SUPERCHARGER:ME421STIP1/STIP2) parts diagram
Fig. 34 — EXHAUST 2 (TURBO SUPERCHARGER:ME421STIP1/STIP2)
14 items
Yamaha ME421STI EXHAUST 3 (TURBO SUPERCHARGER:ME421DTIP1/DTIP2) parts diagram
Fig. 35 — EXHAUST 3 (TURBO SUPERCHARGER:ME421DTIP1/DTIP2)
18 items
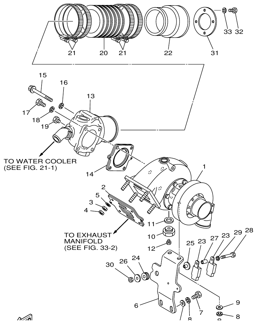
Yamaha ME421STI TURBO SUPERCHARGER ASSY parts diagram
Fig. 36 — TURBO SUPERCHARGER ASSY
10 items
Yamaha ME421STI THROTTLE CONTROL ATTACHMENT parts diagram
Fig. 37 — THROTTLE CONTROL ATTACHMENT
14 items
Yamaha ME421STI SHIFT ASSIST UNIT (ME421STIP1/STIP2) parts diagram
Fig. 38 — SHIFT ASSIST UNIT (ME421STIP1/STIP2)
13 items
Yamaha ME421STI SHIFT CONTROL (ME421DTIP1/DTIP2) parts diagram
Fig. 39 — SHIFT CONTROL (ME421DTIP1/DTIP2)
22 items
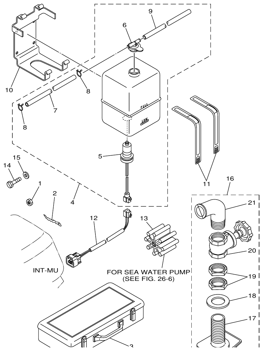
Yamaha ME421STI RESERVE TANK. TOOL parts diagram
Fig. 40 — RESERVE TANK. TOOL
13 items
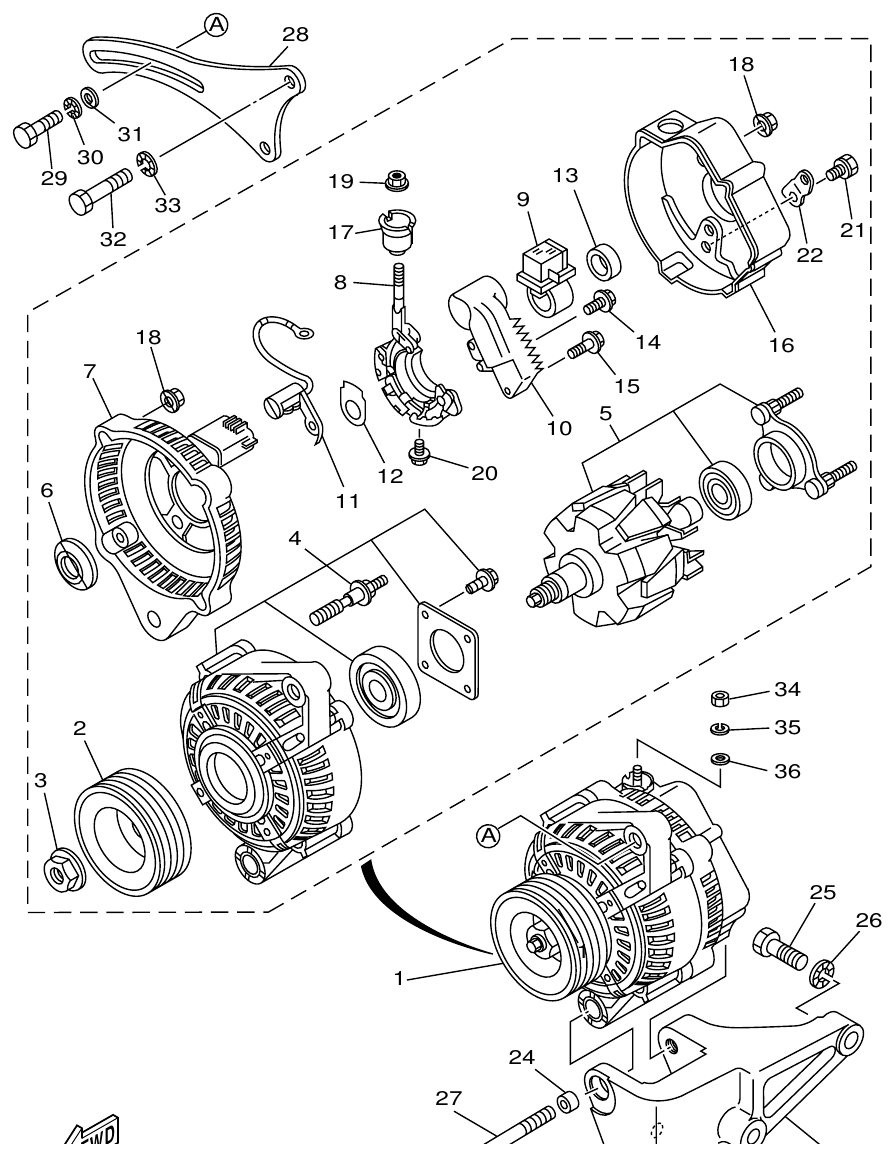
Yamaha ME421STI GENERATOR parts diagram
Fig. 41 — GENERATOR
22 items
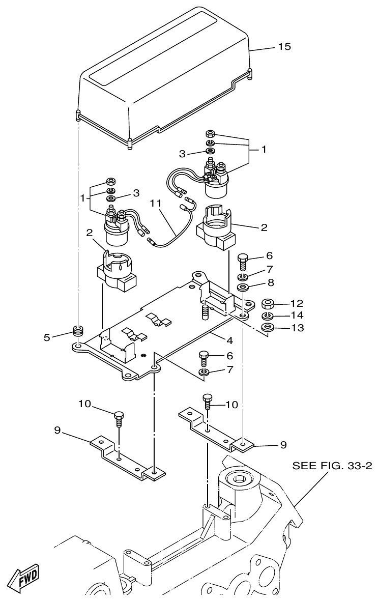
Yamaha ME421STI STARTING MOTOR parts diagram
Fig. 42 — STARTING MOTOR
15 items
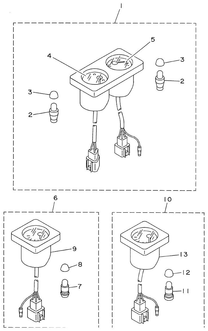
Yamaha ME421STI ELECTRICAL 1 parts diagram
Fig. 43 — ELECTRICAL 1
11 items
Yamaha ME421STI ELECTRICAL 2 parts diagram
Fig. 44 — ELECTRICAL 2
10 items
Yamaha ME421STI ELECTRICAL 3 parts diagram
Fig. 45 — ELECTRICAL 3
9 items
Yamaha ME421STI PULLEYS. BELTS parts diagram
Fig. 46 — PULLEYS. BELTS
9 items
Yamaha ME421STI LABELS. CAUTIONS parts diagram
Fig. 47 — LABELS. CAUTIONS
10 items
Yamaha ME421STI TRANSMISSION 1 (HOUSING:ME421DTIP1/DTIP2) parts diagram
Fig. 48 — TRANSMISSION 1 (HOUSING:ME421DTIP1/DTIP2)
18 items
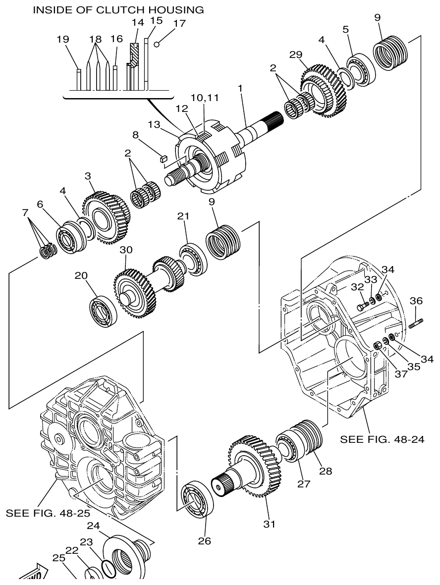
Yamaha ME421STI TRANSMISSION 2 (ROTATION & REDUCTION:ME421DTIP1/DTIP2) parts diagram
Fig. 49 — TRANSMISSION 2 (ROTATION & REDUCTION:ME421DTIP1/DTIP2)
23 items
Yamaha ME421STI OPTIONAL PARTS 1 parts diagram
Fig. 50 — OPTIONAL PARTS 1
13 items
Yamaha ME421STI OPTIONAL PARTS 2 parts diagram
Fig. 51 — OPTIONAL PARTS 2
16 items
Yamaha ME421STI OPTIONAL PARTS 3 parts diagram
Fig. 52 — OPTIONAL PARTS 3
15 items
Yamaha ME421STI OPTIONAL PARTS 4 parts diagram
Fig. 53 — OPTIONAL PARTS 4
6 items