Catalogs / Yamaha / Outboard

Yamaha 20D, 25N Parts Catalog

Browse 54 catalog sections for Yamaha 20D, 25N. Open a section to view the parts diagram, reference numbers and available products.

Yamaha 20D, 25N TOP COWLING parts diagram
Fig. 1 — TOP COWLING
16 items
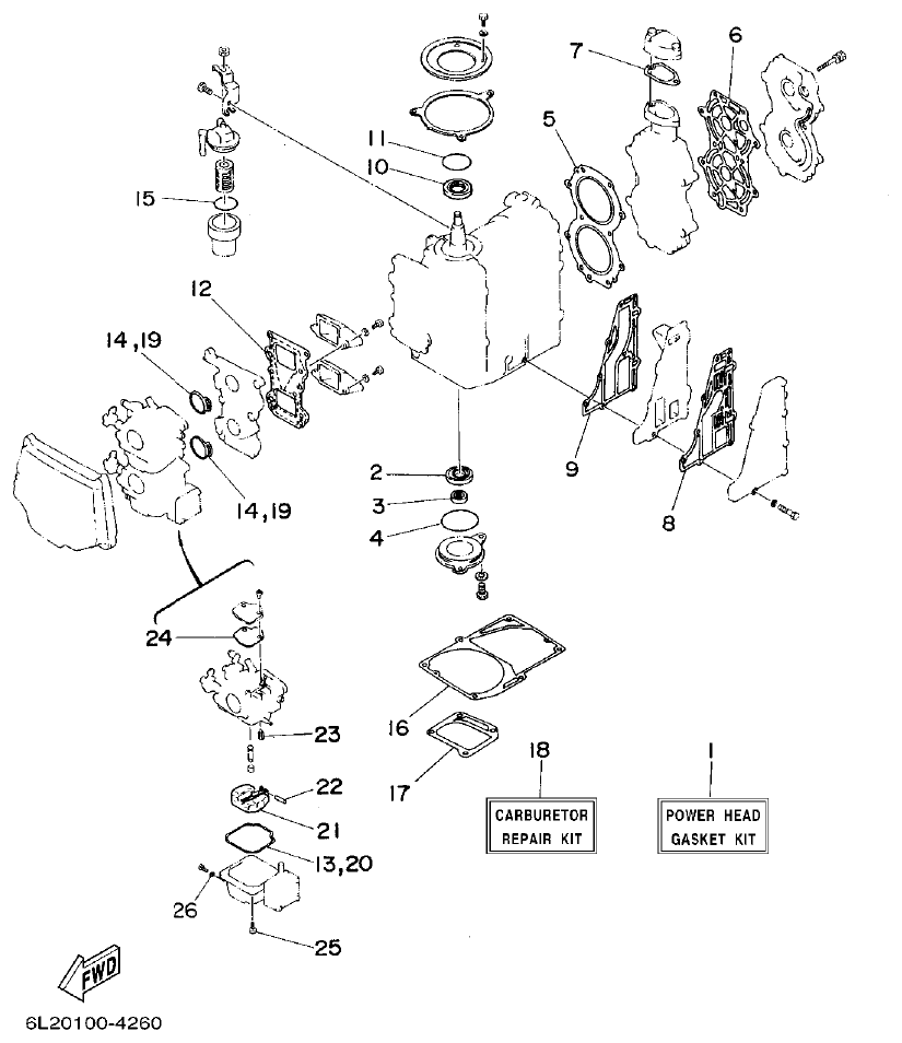
Yamaha 20D, 25N CYLINDER. CRANKCASE parts diagram
Fig. 2 — CYLINDER. CRANKCASE
38 items · 4 available products
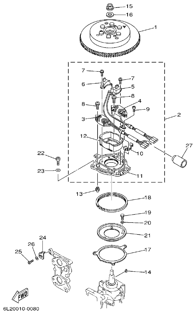
Yamaha 20D, 25N CRANKSHAFT. PISTON parts diagram
Fig. 3 — CRANKSHAFT. PISTON
34 items · 8 available products
Yamaha 20D, 25N INTAKE parts diagram
Fig. 4 — INTAKE
28 items · 1 available products
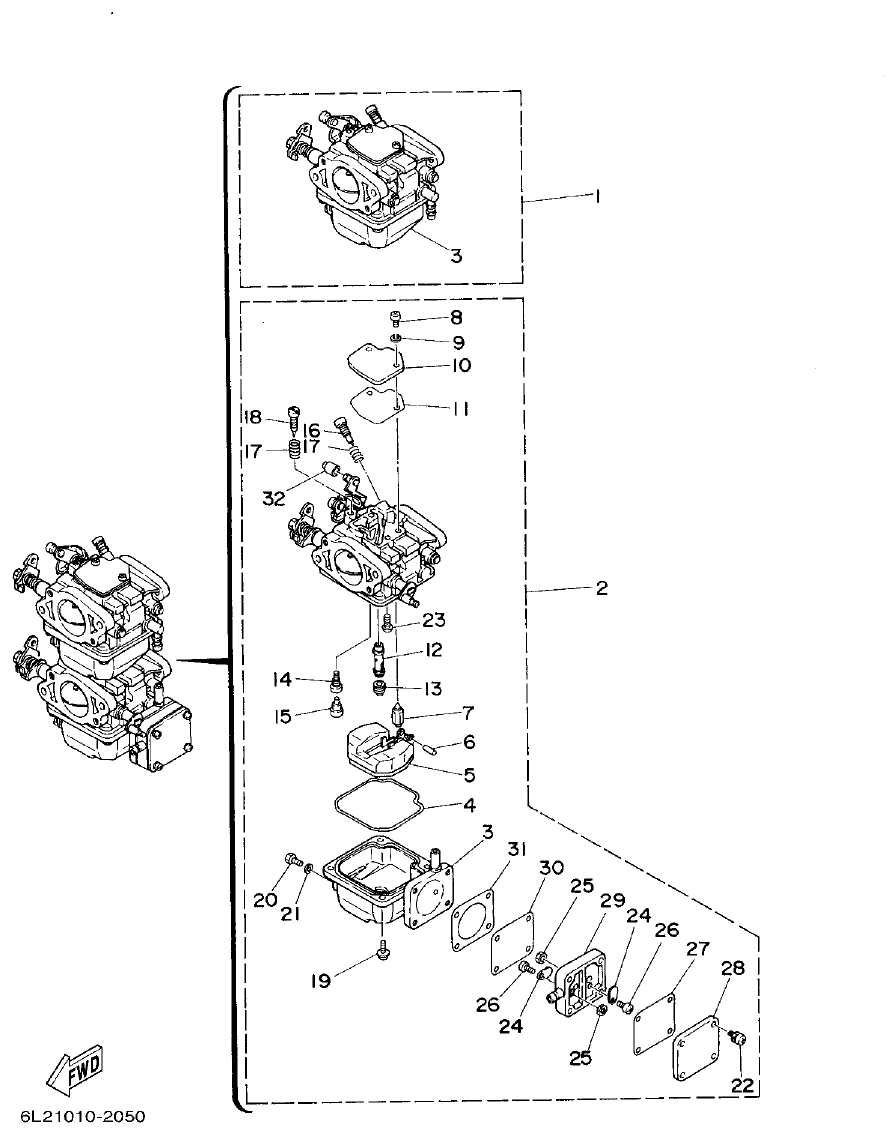
Yamaha 20D, 25N CARBURETOR parts diagram
Fig. 5 — CARBURETOR
35 items · 5 available products
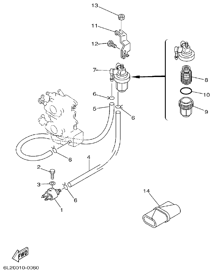
Yamaha 20D, 25N FUEL 1 parts diagram
Fig. 6 — FUEL 1
14 items · 2 available products
Yamaha 20D, 25N FUEL 2 parts diagram
Fig. 7 — FUEL 2
9 items · 1 available products
Yamaha 20D, 25N STARTER parts diagram
Fig. 8 — STARTER
39 items · 4 available products
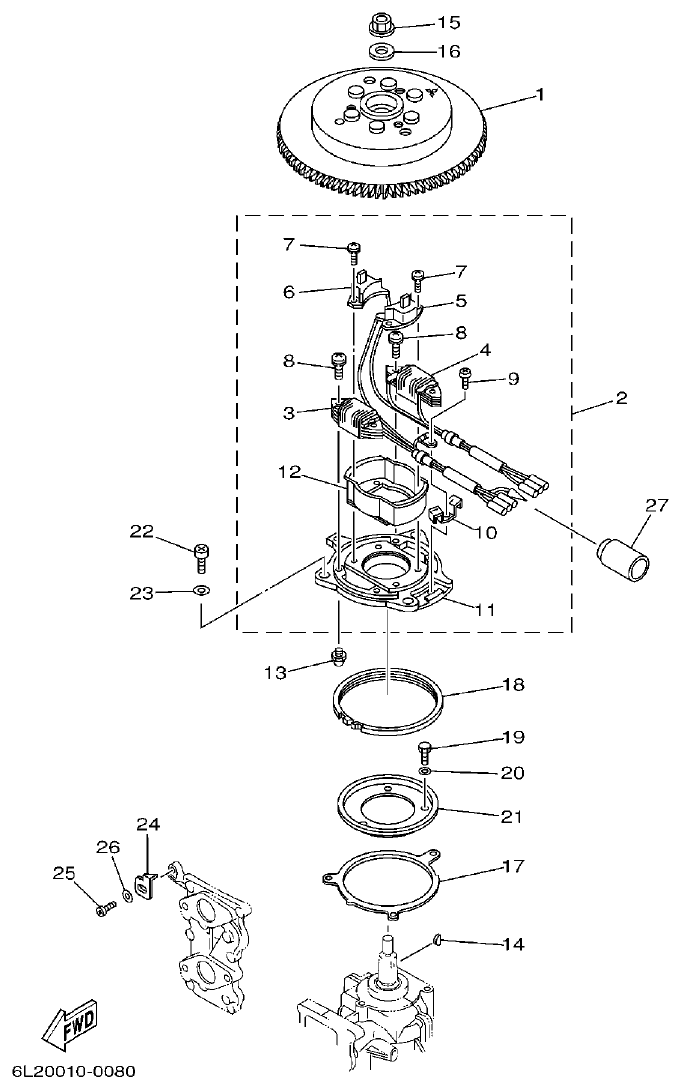
Yamaha 20D, 25N GENERATOR parts diagram
Fig. 9 — GENERATOR
28 items
Yamaha 20D, 25N ELECTRICAL 1 parts diagram
Fig. 10 — ELECTRICAL 1
25 items · 2 available products
Yamaha 20D, 25N ELECTRICAL 2 parts diagram
Fig. 11 — ELECTRICAL 2
28 items · 2 available products
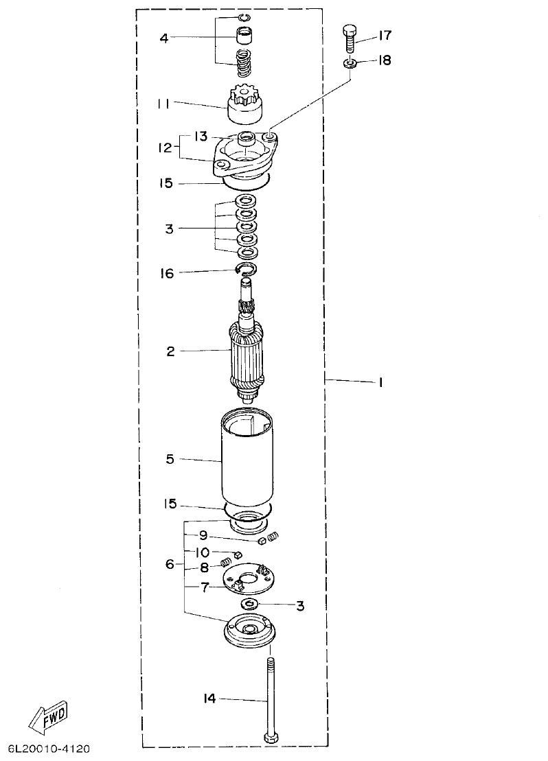
Yamaha 20D, 25N STARTING MOTOR parts diagram
Fig. 12 — STARTING MOTOR
18 items
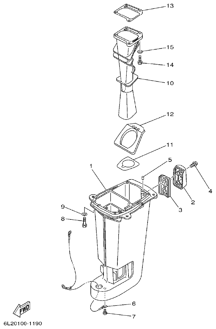
Yamaha 20D, 25N BOTTOM COWLING parts diagram
Fig. 13 — BOTTOM COWLING
34 items · 4 available products
Yamaha 20D, 25N STEERING parts diagram
Fig. 14 — STEERING
41 items · 1 available products
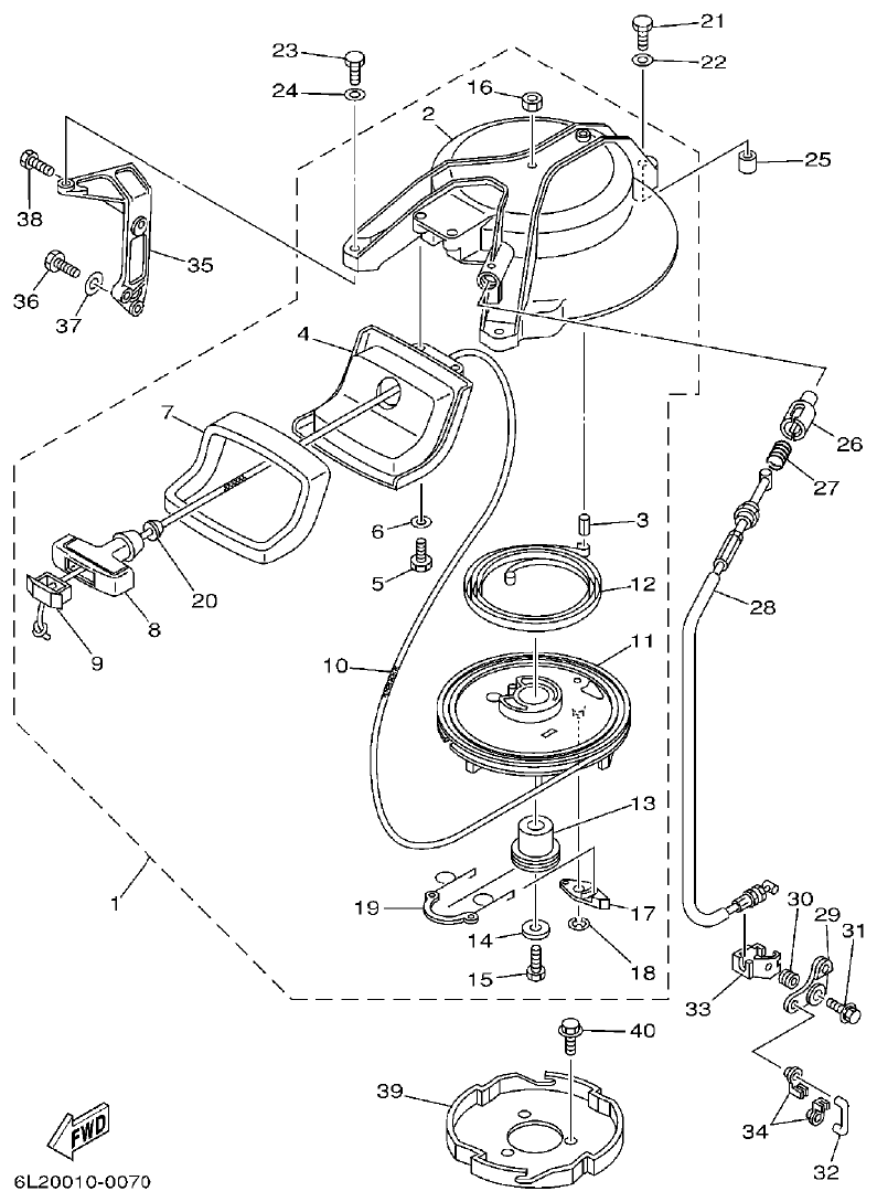
Yamaha 20D, 25N CONTROL 1 parts diagram
Fig. 15 — CONTROL 1
48 items
Yamaha 20D, 25N CONTROL 2 parts diagram
Fig. 16 — CONTROL 2
19 items · 1 available products
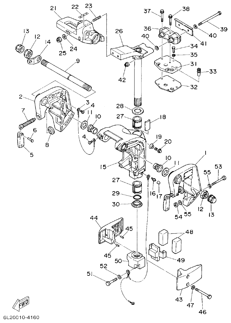
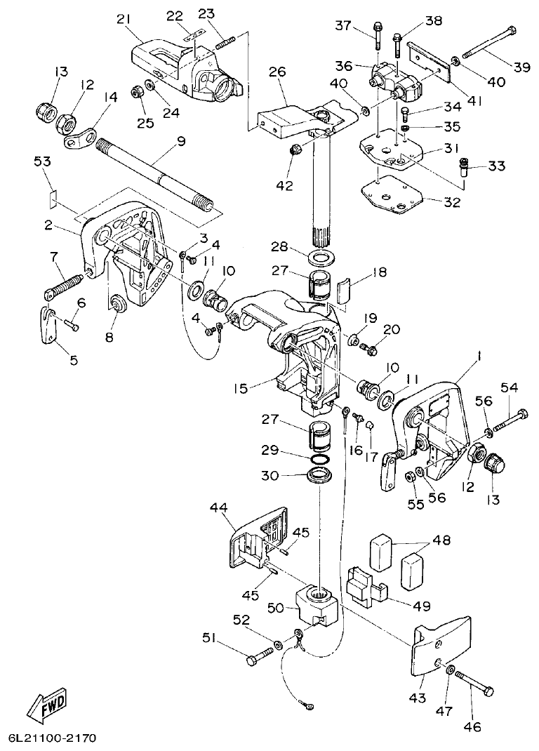
Yamaha 20D, 25N BRACKET 1 parts diagram
Fig. 17 — BRACKET 1
56 items · 5 available products
Yamaha 20D, 25N BRACKET 2 parts diagram
Fig. 18 — BRACKET 2
36 items
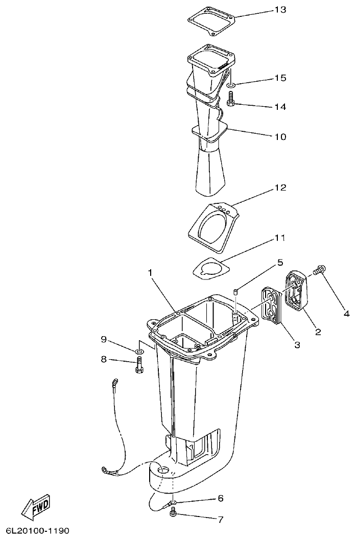
Yamaha 20D, 25N UPPER CASING parts diagram
Fig. 19 — UPPER CASING
17 items
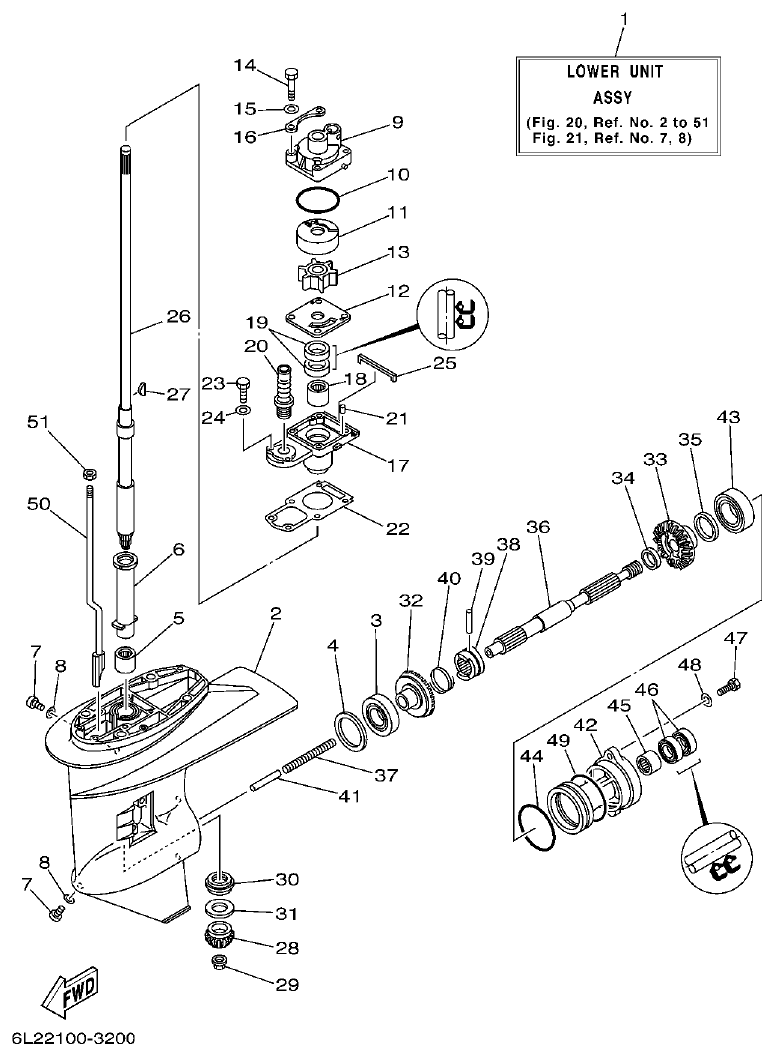
Yamaha 20D, 25N LOWER CASING. DRIVE 1 parts diagram
Fig. 20 — LOWER CASING. DRIVE 1
62 items · 7 available products
Yamaha 20D, 25N LOWER CASING. DRIVE 2 parts diagram
Fig. 21 — LOWER CASING. DRIVE 2
30 items · 5 available products
Yamaha 20D, 25N FUEL TANK parts diagram
Fig. 22 — FUEL TANK
19 items · 3 available products
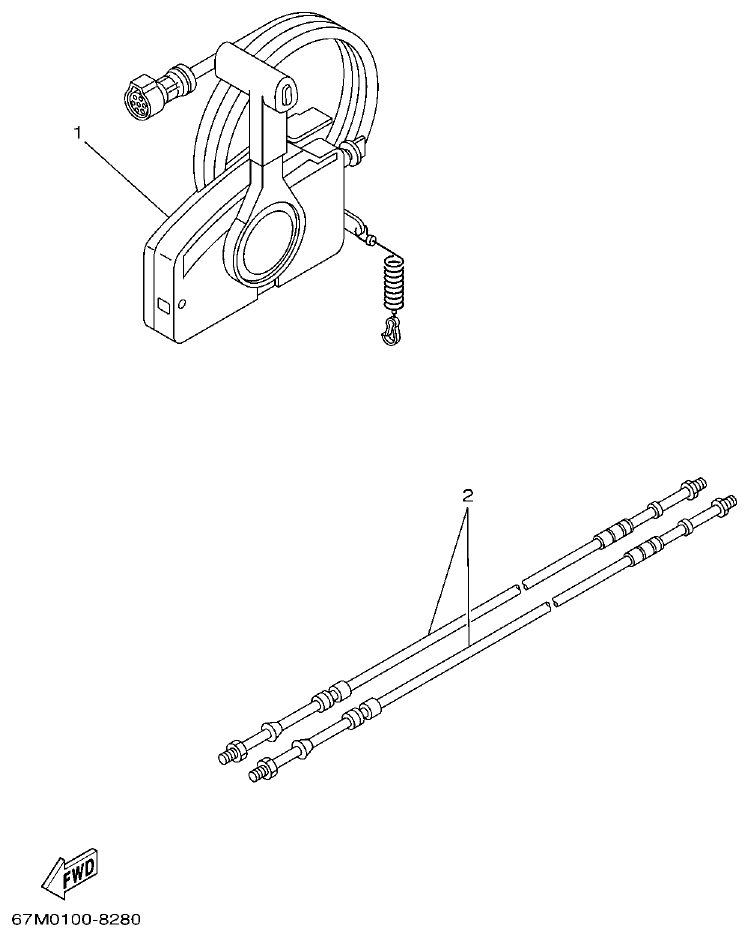
Yamaha 20D, 25N REMOTE CONTROL BOX parts diagram
Fig. 23 — REMOTE CONTROL BOX
5 items
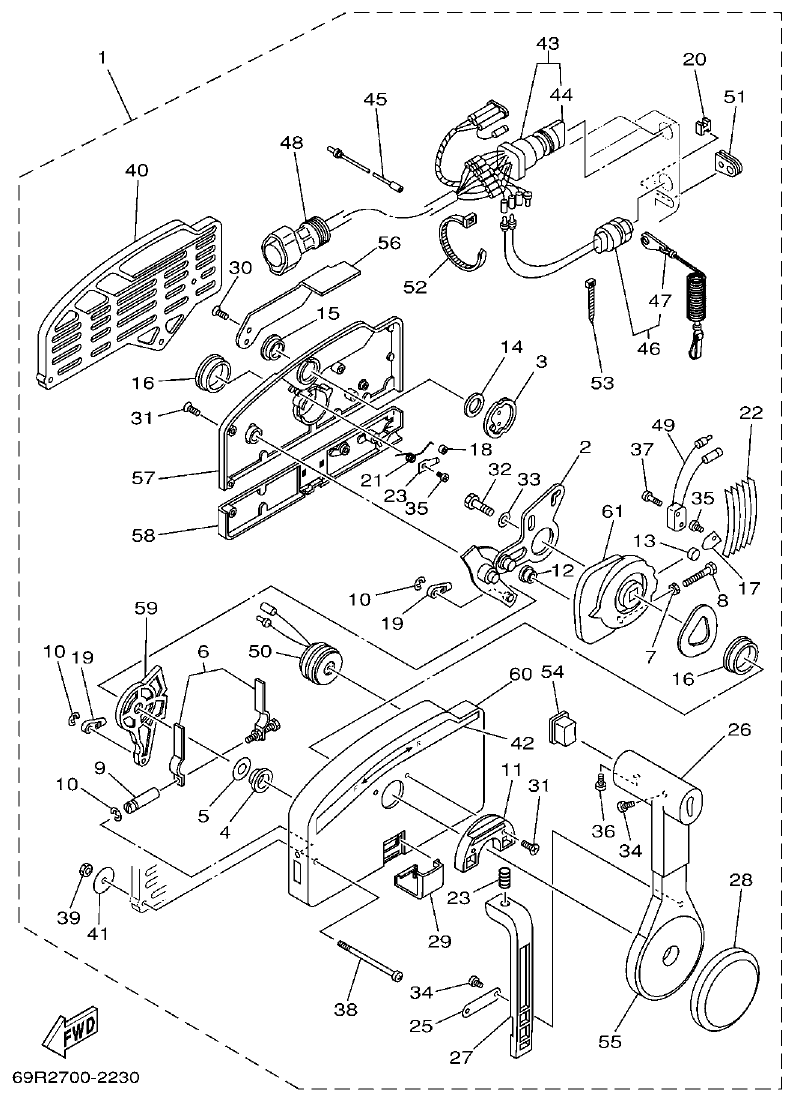
Yamaha 20D, 25N REMOTE CONTROL ASSY parts diagram
Fig. 24 — REMOTE CONTROL ASSY
44 items · 1 available products
Yamaha 20D, 25N SWITCH. PANEL parts diagram
Fig. 25 — SWITCH. PANEL
12 items · 2 available products
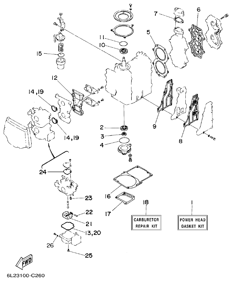
Yamaha 20D, 25N REPAIR KIT 1 parts diagram
Fig. 26 — REPAIR KIT 1
26 items · 4 available products
Yamaha 20D, 25N REPAIR KIT 2 parts diagram
Fig. 27 — REPAIR KIT 2
17 items · 4 available products
Yamaha 20D, 25N TOP COWLING parts diagram
Fig. 1 — TOP COWLING
16 items
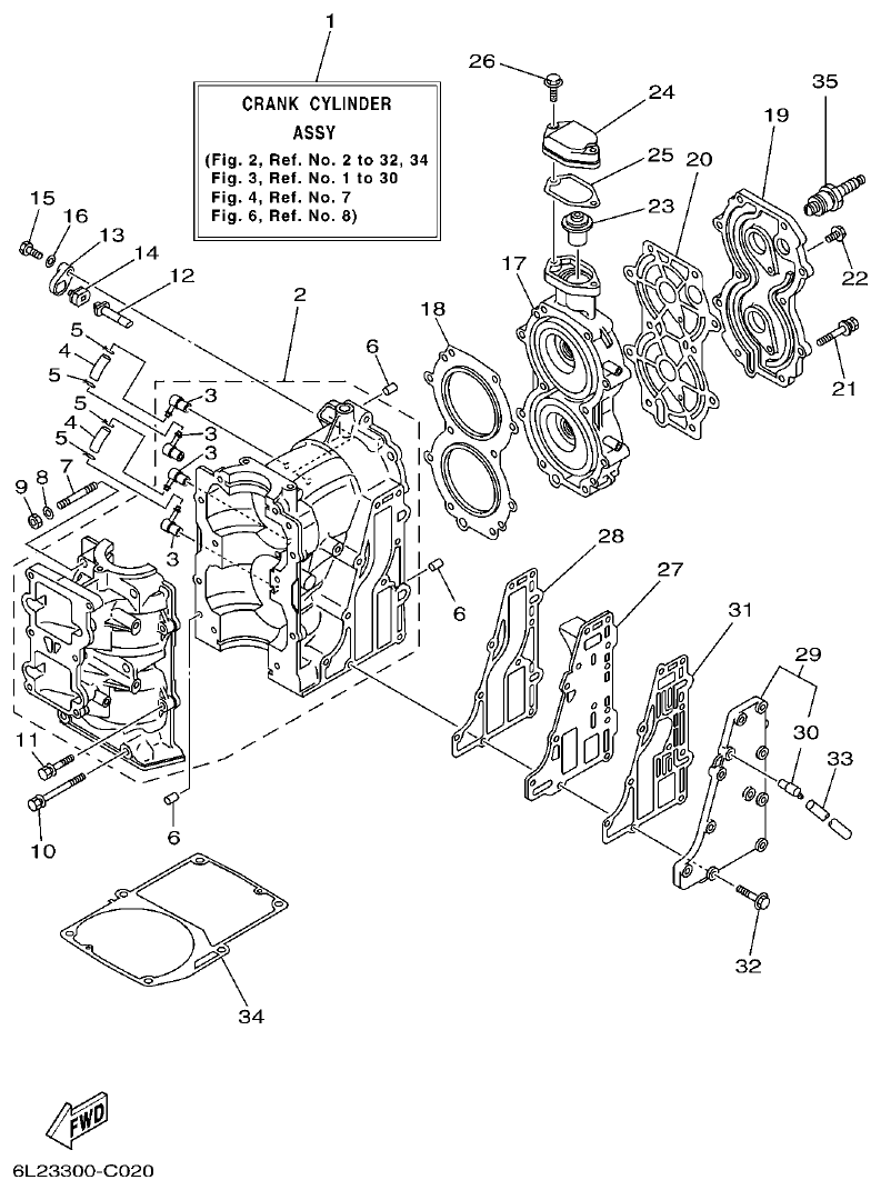
Yamaha 20D, 25N CYLINDER & CRANKCASE parts diagram
Fig. 2 — CYLINDER & CRANKCASE
35 items · 4 available products
Yamaha 20D, 25N CRANKSHAFT & PISTON parts diagram
Fig. 3 — CRANKSHAFT & PISTON
34 items · 8 available products
Yamaha 20D, 25N INTAKE parts diagram
Fig. 4 — INTAKE
29 items · 1 available products
Yamaha 20D, 25N CARBURETOR parts diagram
Fig. 5 — CARBURETOR
35 items · 5 available products
Yamaha 20D, 25N OIL PUMP parts diagram
Fig. 6 — OIL PUMP
45 items · 2 available products
Yamaha 20D, 25N FUEL parts diagram
Fig. 7 — FUEL
19 items · 2 available products
Yamaha 20D, 25N STARTER parts diagram
Fig. 8 — STARTER
40 items · 4 available products
Yamaha 20D, 25N GENERATOR parts diagram
Fig. 9 — GENERATOR
28 items
Yamaha 20D, 25N ELECTRICAL 1 parts diagram
Fig. 10 — ELECTRICAL 1
23 items · 1 available products
Yamaha 20D, 25N ELECTRICAL 2 parts diagram
Fig. 11 — ELECTRICAL 2
28 items · 2 available products
Yamaha 20D, 25N STARTING MOTOR parts diagram
Fig. 12 — STARTING MOTOR
18 items
Yamaha 20D, 25N BOTTOM COWLING parts diagram
Fig. 13 — BOTTOM COWLING
34 items · 4 available products
Yamaha 20D, 25N STEERING parts diagram
Fig. 14 — STEERING
42 items · 1 available products
Yamaha 20D, 25N CONTROL 1 parts diagram
Fig. 15 — CONTROL 1
40 items
Yamaha 20D, 25N CONTROL 2 parts diagram
Fig. 16 — CONTROL 2
16 items · 1 available products
Yamaha 20D, 25N BRACKET 1 parts diagram
Fig. 17 — BRACKET 1
55 items · 5 available products
Yamaha 20D, 25N BRACKET 2 parts diagram
Fig. 18 — BRACKET 2
38 items · 1 available products
Yamaha 20D, 25N UPPER CASING parts diagram
Fig. 19 — UPPER CASING
17 items
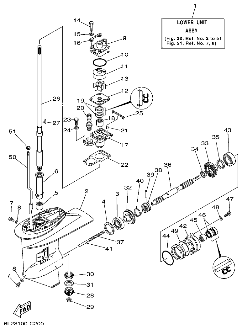
Yamaha 20D, 25N LOWER CASING & DRIVE 1 parts diagram
Fig. 20 — LOWER CASING & DRIVE 1
62 items · 8 available products
Yamaha 20D, 25N LOWER CASING & DRIVE 2 parts diagram
Fig. 21 — LOWER CASING & DRIVE 2
30 items · 5 available products
Yamaha 20D, 25N FUEL TANK parts diagram
Fig. 22 — FUEL TANK
8 items
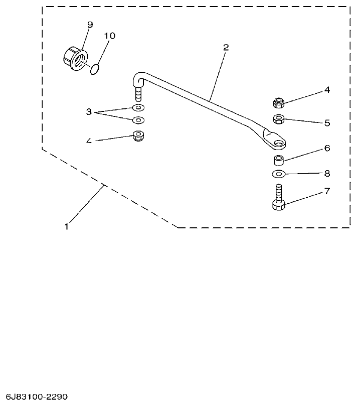
Yamaha 20D, 25N STEERING GUIDE parts diagram
Fig. 23 — STEERING GUIDE
10 items · 1 available products
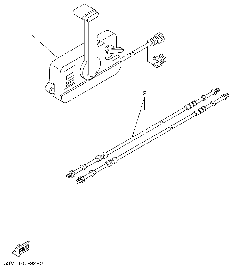
Yamaha 20D, 25N REMOTE CONTROL BOX parts diagram
Fig. 24 — REMOTE CONTROL BOX
5 items
Yamaha 20D, 25N REMOTE CONTROL ASSY parts diagram
Fig. 25 — REMOTE CONTROL ASSY
61 items · 10 available products
Yamaha 20D, 25N REPAIR KIT 1 parts diagram
Fig. 26 — REPAIR KIT 1
26 items · 4 available products
Yamaha 20D, 25N REPAIR KIT 2 parts diagram
Fig. 27 — REPAIR KIT 2
17 items · 4 available products