Catalogs / Yamaha / Outboard

Yamaha 225DETO Parts Catalog

Browse 29 catalog sections for Yamaha 225DETO. Open a section to view the parts diagram, reference numbers and available products.

Yamaha 225DETO TOP COWLING parts diagram
Fig. 1 — TOP COWLING
18 items
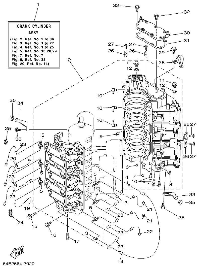
Yamaha 225DETO CYLINDER & CRANKCASE 1 parts diagram
Fig. 2 — CYLINDER & CRANKCASE 1
36 items · 6 available products
Yamaha 225DETO CRANKSHAFT & PISTON parts diagram
Fig. 3 — CRANKSHAFT & PISTON
35 items · 12 available products
Yamaha 225DETO CYLINDER & CRANKCASE 2 parts diagram
Fig. 4 — CYLINDER & CRANKCASE 2
27 items · 12 available products
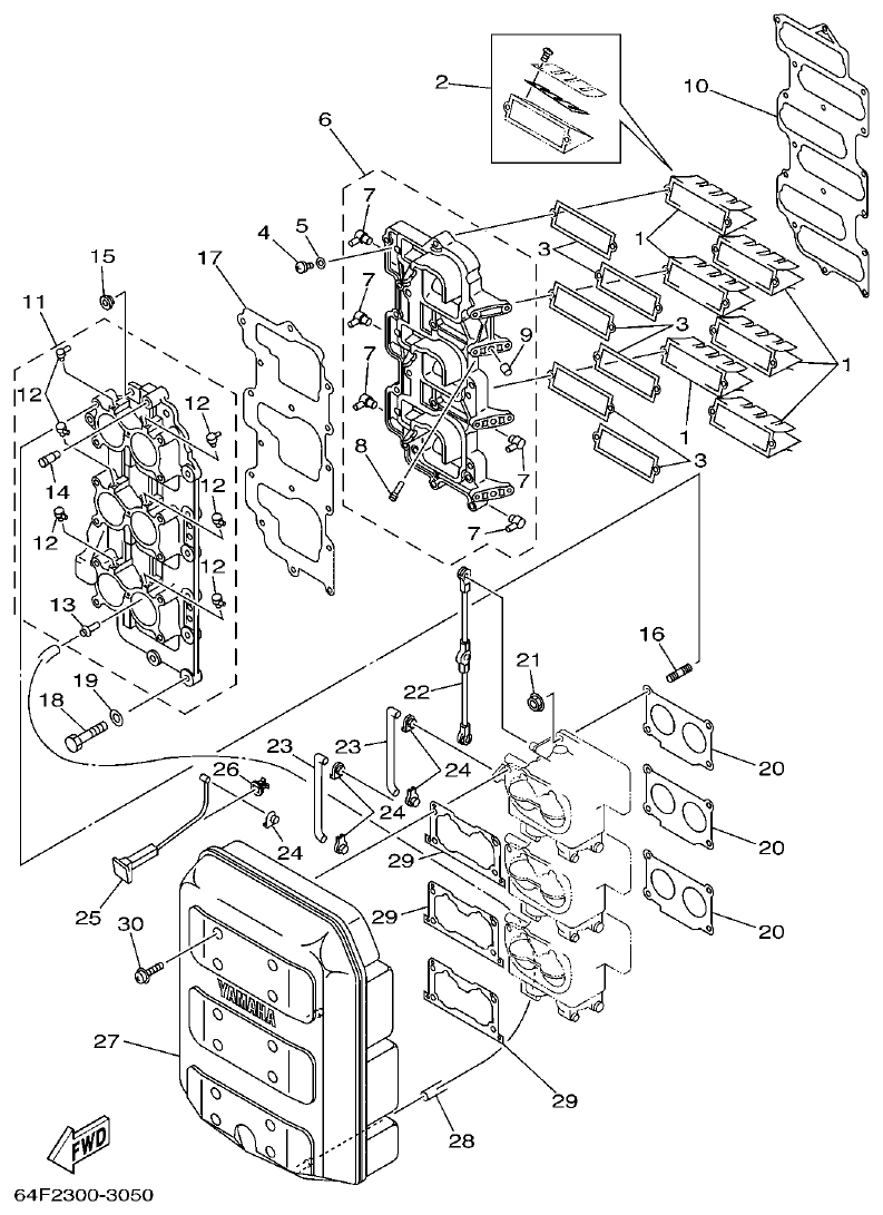
Yamaha 225DETO INTAKE parts diagram
Fig. 5 — INTAKE
30 items · 6 available products
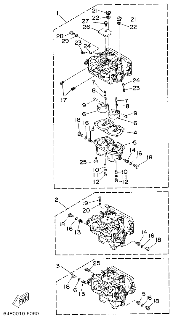
Yamaha 225DETO CARBURETOR parts diagram
Fig. 6 — CARBURETOR
29 items · 9 available products
Yamaha 225DETO OIL PUMP parts diagram
Fig. 7 — OIL PUMP
28 items · 2 available products
Yamaha 225DETO OIL TANK parts diagram
Fig. 8 — OIL TANK
41 items · 1 available products
Yamaha 225DETO FUEL parts diagram
Fig. 9 — FUEL
45 items · 6 available products
Yamaha 225DETO GENERATOR parts diagram
Fig. 10 — GENERATOR
24 items · 2 available products
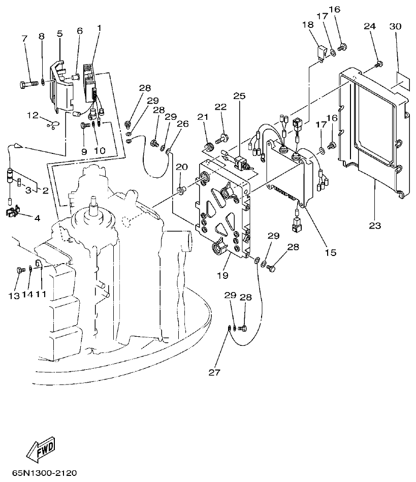
Yamaha 225DETO ELECTRICAL 1 parts diagram
Fig. 11 — ELECTRICAL 1
30 items · 4 available products
Yamaha 225DETO ELECTRICAL 2 parts diagram
Fig. 12 — ELECTRICAL 2
52 items · 9 available products
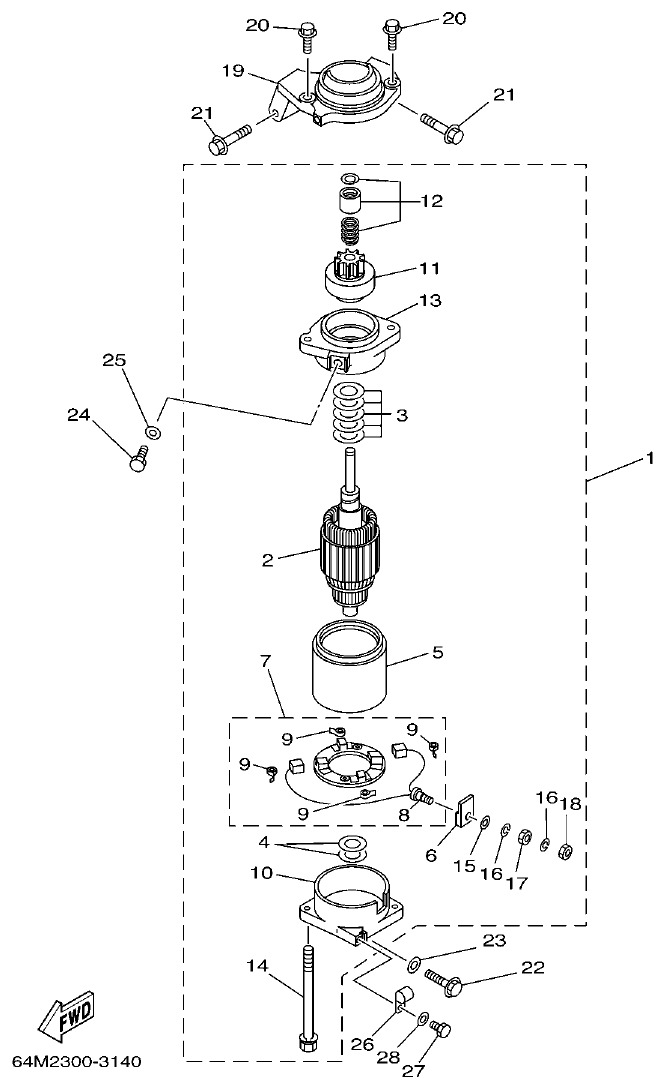
Yamaha 225DETO STARTING MOTOR parts diagram
Fig. 13 — STARTING MOTOR
28 items · 7 available products
Yamaha 225DETO BOTTOM COWLING parts diagram
Fig. 14 — BOTTOM COWLING
43 items · 1 available products
Yamaha 225DETO CONTROL parts diagram
Fig. 15 — CONTROL
57 items · 8 available products
Yamaha 225DETO BRACKET 1 parts diagram
Fig. 16 — BRACKET 1
42 items · 9 available products
Yamaha 225DETO BRACKET 2 parts diagram
Fig. 17 — BRACKET 2
40 items · 3 available products
Yamaha 225DETO POWER TRIM & TILT ASSY 1 parts diagram
Fig. 18 — POWER TRIM & TILT ASSY 1
33 items · 8 available products
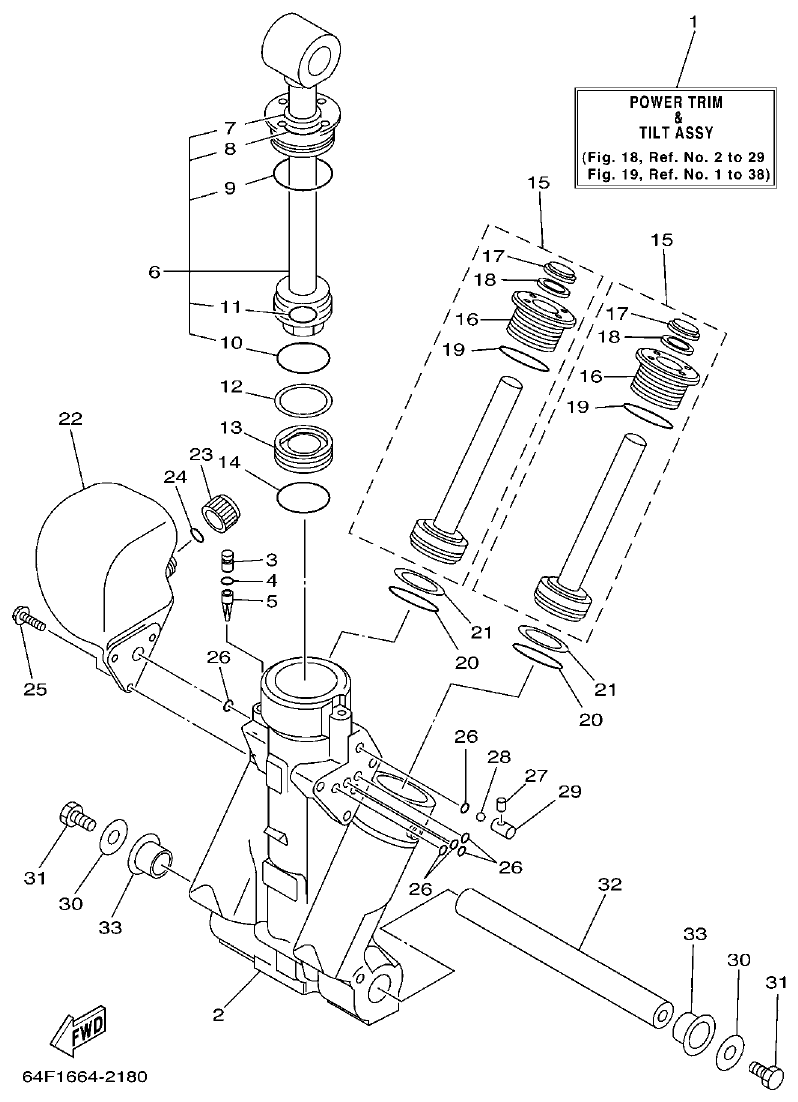
Yamaha 225DETO POWER TRIM & TILT ASSY 2 parts diagram
Fig. 19 — POWER TRIM & TILT ASSY 2
38 items · 9 available products
Yamaha 225DETO UPPER CASING parts diagram
Fig. 20 — UPPER CASING
34 items · 8 available products
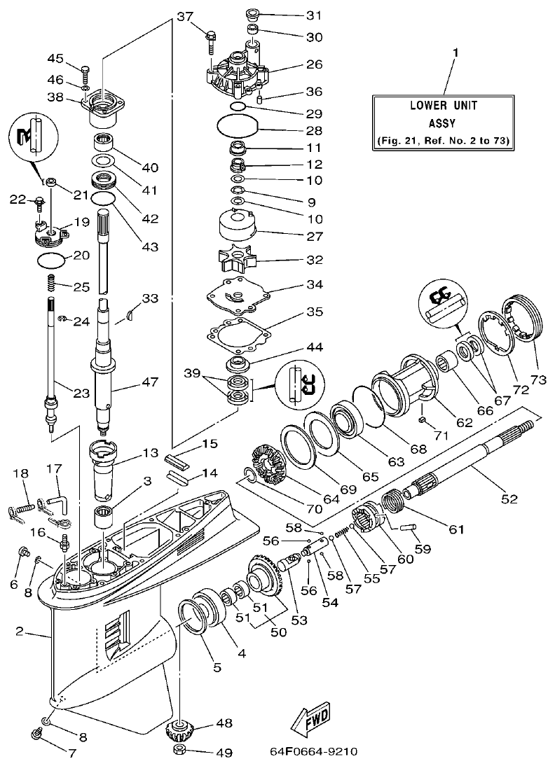
Yamaha 225DETO LOWER CASING & DRIVE 1 parts diagram
Fig. 21 — LOWER CASING & DRIVE 1
91 items · 19 available products
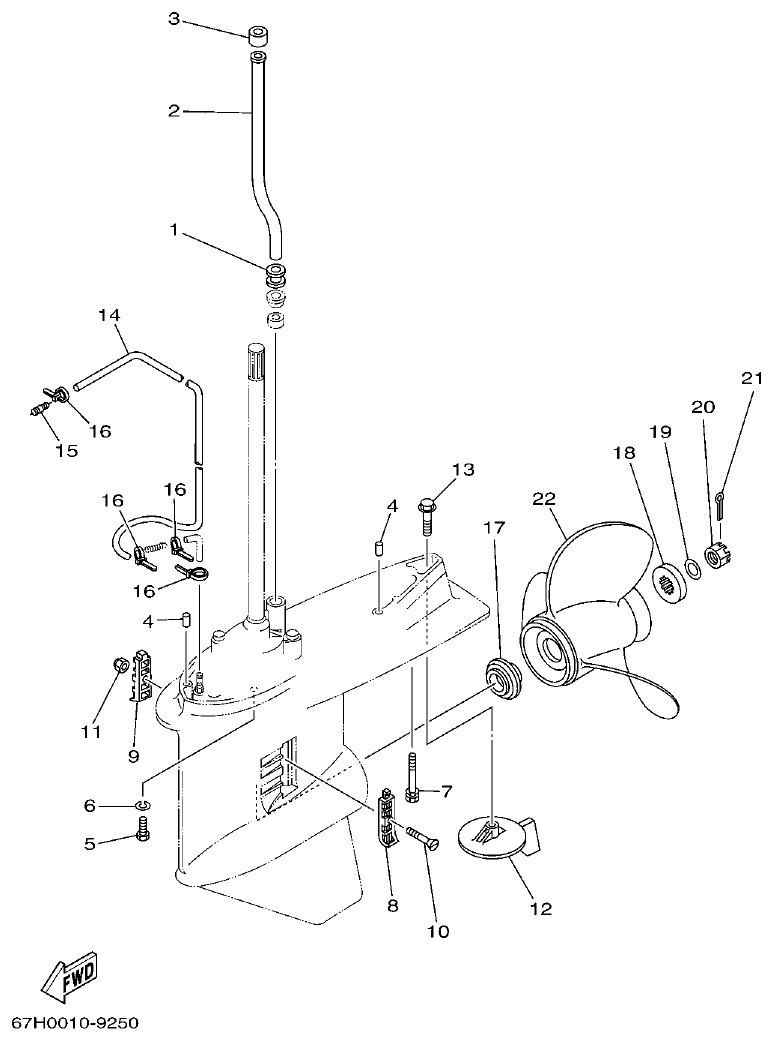
Yamaha 225DETO LOWER CASING & DRIVE 2 parts diagram
Fig. 22 — LOWER CASING & DRIVE 2
34 items · 7 available products
Yamaha 225DETO FUEL TANK parts diagram
Fig. 23 — FUEL TANK
14 items · 3 available products
Yamaha 225DETO STEERING GUIDE parts diagram
Fig. 24 — STEERING GUIDE
9 items · 2 available products
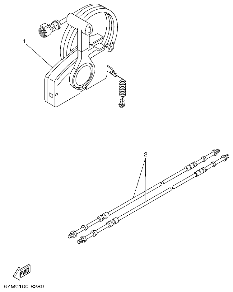
Yamaha 225DETO REMOTE CONTROL BOX parts diagram
Fig. 25 — REMOTE CONTROL BOX
6 items
Yamaha 225DETO REMOTE CONTROL ASSY parts diagram
Fig. 26 — REMOTE CONTROL ASSY
62 items · 12 available products
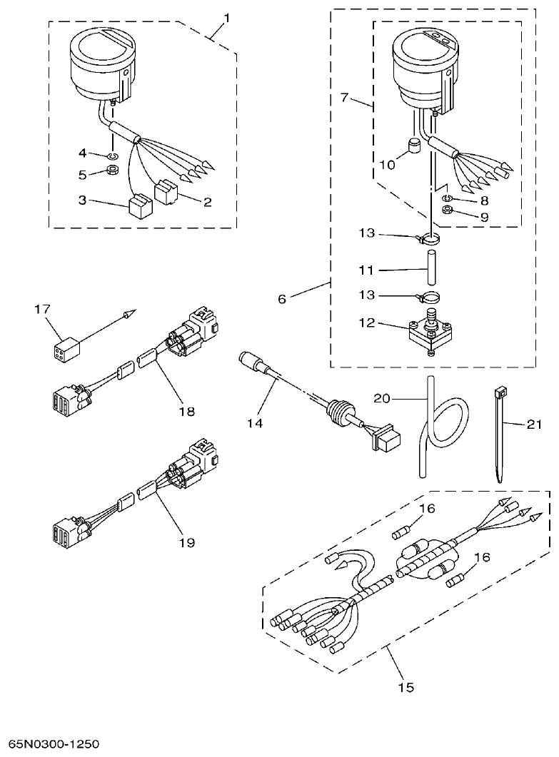
Yamaha 225DETO METER parts diagram
Fig. 27 — METER
21 items · 1 available products
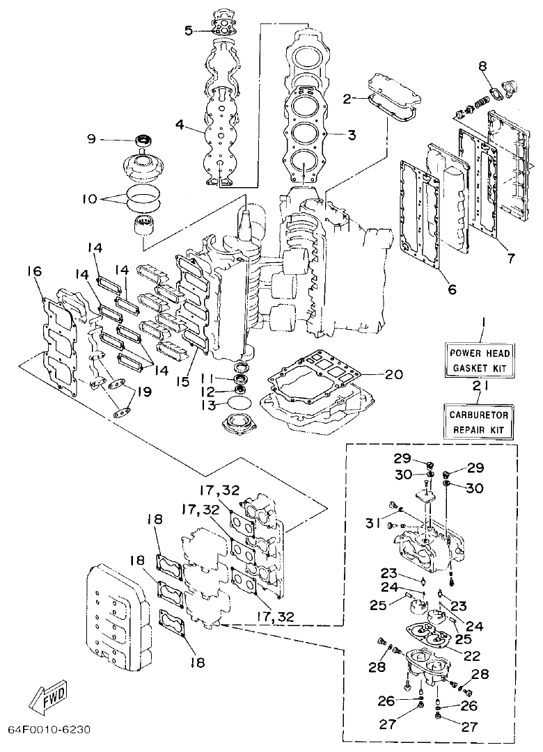
Yamaha 225DETO REPAIR KIT 1 parts diagram
Fig. 28 — REPAIR KIT 1
32 items · 16 available products
Yamaha 225DETO REPAIR KIT 2 parts diagram
Fig. 29 — REPAIR KIT 2
30 items · 11 available products