Catalogs / Yamaha / Outboard

Yamaha 250GETO, L250GETO Parts Catalog

Browse 37 catalog sections for Yamaha 250GETO, L250GETO. Open a section to view the parts diagram, reference numbers and available products.

Yamaha 250GETO, L250GETO TOP COWLING parts diagram
Fig. 1 — TOP COWLING
22 items · 1 available products
Yamaha 250GETO, L250GETO CYLINDER & CRANKCASE 1 parts diagram
Fig. 2 — CYLINDER & CRANKCASE 1
40 items · 6 available products
Yamaha 250GETO, L250GETO CRANKSHAFT & PISTON parts diagram
Fig. 3 — CRANKSHAFT & PISTON
38 items · 8 available products
Yamaha 250GETO, L250GETO CYLINDER & CRANKCASE 2 parts diagram
Fig. 4 — CYLINDER & CRANKCASE 2
21 items · 5 available products
Yamaha 250GETO, L250GETO INTAKE parts diagram
Fig. 5 — INTAKE
33 items · 7 available products
Yamaha 250GETO, L250GETO CARBURETOR parts diagram
Fig. 6 — CARBURETOR
34 items · 8 available products
Yamaha 250GETO, L250GETO OIL PUMP parts diagram
Fig. 7 — OIL PUMP
20 items · 2 available products
Yamaha 250GETO, L250GETO OIL TANK parts diagram
Fig. 8 — OIL TANK
45 items · 2 available products
Yamaha 250GETO, L250GETO FUEL 1 parts diagram
Fig. 9 — FUEL 1
54 items · 11 available products
Yamaha 250GETO, L250GETO FUEL 2 parts diagram
Fig. 10 — FUEL 2
6 items · 2 available products
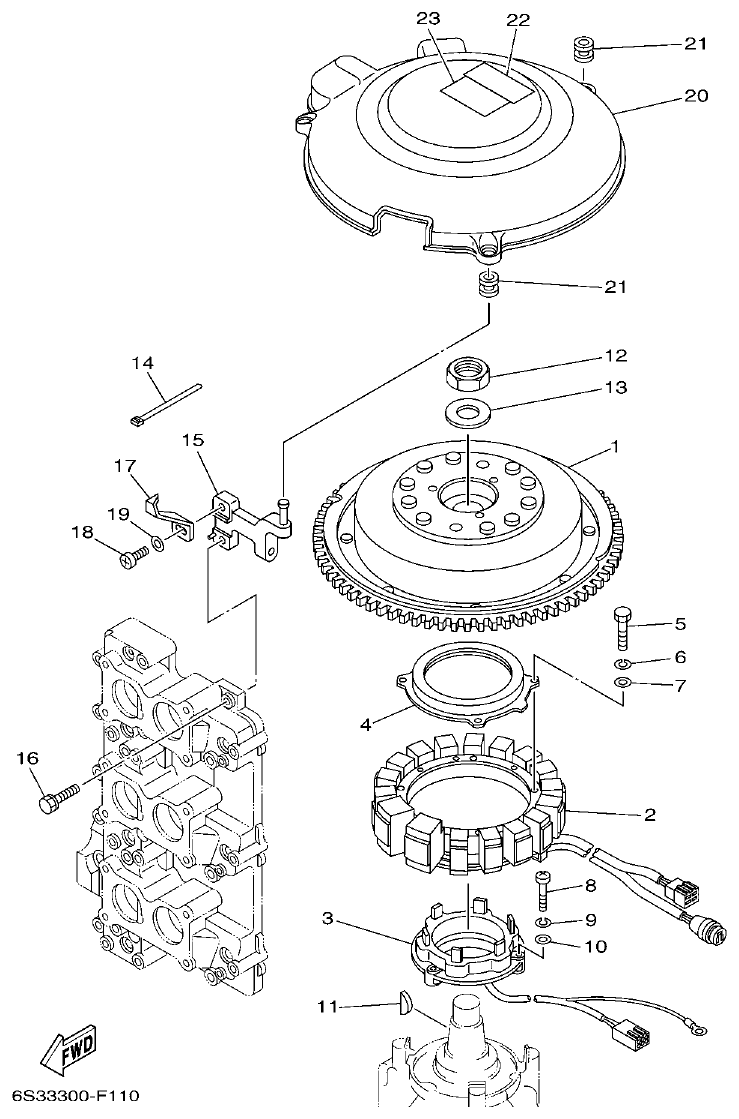
Yamaha 250GETO, L250GETO GENERATOR parts diagram
Fig. 11 — GENERATOR
23 items
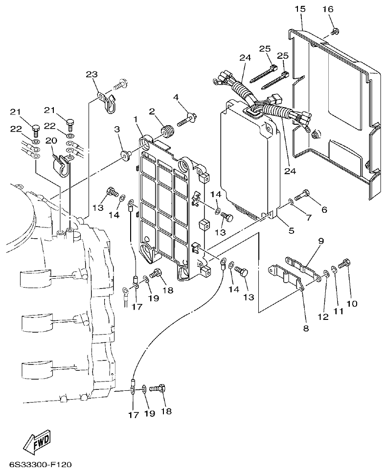
Yamaha 250GETO, L250GETO ELECTRICAL 1 parts diagram
Fig. 12 — ELECTRICAL 1
25 items
Yamaha 250GETO, L250GETO ELECTRICAL 2 parts diagram
Fig. 13 — ELECTRICAL 2
20 items · 2 available products
Yamaha 250GETO, L250GETO ELECTRICAL 3 parts diagram
Fig. 14 — ELECTRICAL 3
39 items · 3 available products
Yamaha 250GETO, L250GETO ELECTRICAL 4 parts diagram
Fig. 15 — ELECTRICAL 4
30 items · 3 available products
Yamaha 250GETO, L250GETO STARTING MOTOR parts diagram
Fig. 16 — STARTING MOTOR
27 items · 6 available products
Yamaha 250GETO, L250GETO BOTTOM COWLING parts diagram
Fig. 17 — BOTTOM COWLING
60 items · 5 available products
Yamaha 250GETO, L250GETO CONTROL parts diagram
Fig. 18 — CONTROL
63 items · 3 available products
Yamaha 250GETO, L250GETO BRACKET 1 parts diagram
Fig. 19 — BRACKET 1
46 items · 8 available products
Yamaha 250GETO, L250GETO BRACKET 2 parts diagram
Fig. 20 — BRACKET 2
35 items · 4 available products
Yamaha 250GETO, L250GETO POWER TRIM & TILT ASSY parts diagram
Fig. 21 — POWER TRIM & TILT ASSY
93 items · 15 available products
Yamaha 250GETO, L250GETO UPPER CASING parts diagram
Fig. 22 — UPPER CASING
40 items · 6 available products
Yamaha 250GETO, L250GETO LOWER CASING & DRIVE 1 parts diagram
Fig. 23 — LOWER CASING & DRIVE 1
90 items · 38 available products
Yamaha 250GETO, L250GETO LOWER CASING & DRIVE 2 parts diagram
Fig. 24 — LOWER CASING & DRIVE 2
33 items · 4 available products
Yamaha 250GETO, L250GETO LOWER CASING & DRIVE 3 parts diagram
Fig. 25 — LOWER CASING & DRIVE 3
104 items · 42 available products
Yamaha 250GETO, L250GETO LOWER CASING & DRIVE 4 parts diagram
Fig. 26 — LOWER CASING & DRIVE 4
33 items · 3 available products
Yamaha 250GETO, L250GETO FUEL TANK parts diagram
Fig. 27 — FUEL TANK
14 items · 5 available products
Yamaha 250GETO, L250GETO STEERING GUIDE ATTACHMENT 1 ADITAMENTO GUIA DE GOBIERNO 1 parts diagram
Fig. 28 — STEERING GUIDE ATTACHMENT 1 ADITAMENTO GUIA DE GOBIERNO 1
9 items · 2 available products
Yamaha 250GETO, L250GETO STEERING GUIDE ATTACHMENT 2 ADITAMENTO GUIA DE GOBIERNO 2 parts diagram
Fig. 29 — STEERING GUIDE ATTACHMENT 2 ADITAMENTO GUIA DE GOBIERNO 2
11 items · 1 available products
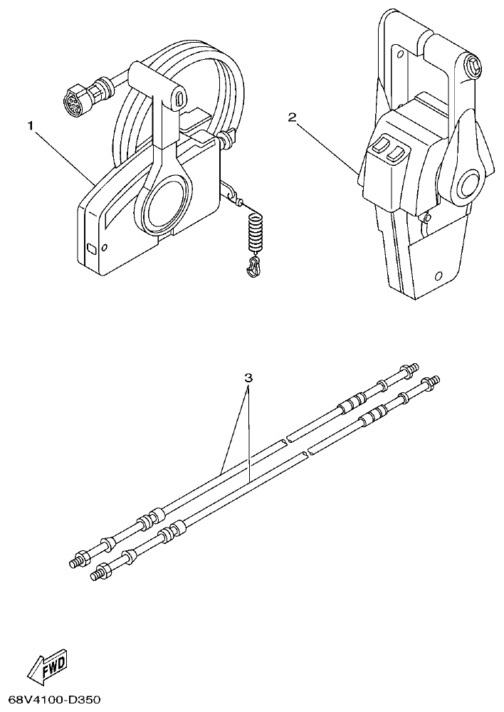
Yamaha 250GETO, L250GETO REMOTE CONTROL BOX parts diagram
Fig. 30 — REMOTE CONTROL BOX
4 items
Yamaha 250GETO, L250GETO REMOTE CONTROL ASSY 1 parts diagram
Fig. 31 — REMOTE CONTROL ASSY 1
62 items · 12 available products
Yamaha 250GETO, L250GETO REMOTE CONTROL ASSY 2 parts diagram
Fig. 32 — REMOTE CONTROL ASSY 2
70 items · 2 available products
Yamaha 250GETO, L250GETO METER parts diagram
Fig. 33 — METER
27 items · 1 available products
Yamaha 250GETO, L250GETO SWITCH & PANEL parts diagram
Fig. 34 — SWITCH & PANEL
24 items · 2 available products
Yamaha 250GETO, L250GETO REPAIR KIT 1 parts diagram
Fig. 35 — REPAIR KIT 1
18 items · 8 available products
Yamaha 250GETO, L250GETO REPAIR KIT 2 parts diagram
Fig. 36 — REPAIR KIT 2
12 items · 7 available products
Yamaha 250GETO, L250GETO REPAIR KIT 3 parts diagram
Fig. 37 — REPAIR KIT 3
29 items · 8 available products