Catalogs / Yamaha / Outboard
Yamaha 30DMH Parts Catalog
Browse 25 catalog sections for Yamaha 30DMH. Open a section to view the parts diagram, reference numbers and available products.
Fig. 1 — TOP COWLING
14 items
· 1 available products
Fig. 2 — CYLINDER. CRANKCASE
33 items
· 3 available products
Fig. 3 — CRANKSHAFT. PISTON
22 items
· 2 available products
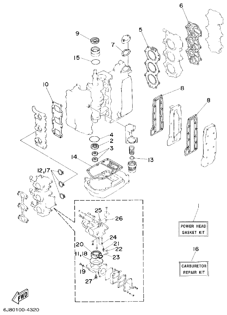
Fig. 4 — INTAKE
26 items
· 4 available products
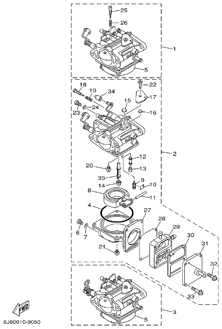
Fig. 5 — CARBURETOR
35 items
· 2 available products
Fig. 6 — FUEL
22 items
· 2 available products
Fig. 7 — STARTER
49 items
· 6 available products
Fig. 8 — GENERATOR
27 items
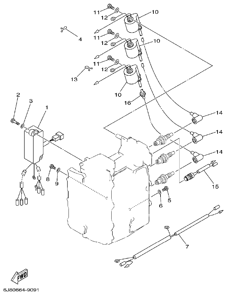
Fig. 9 — ELECTRICAL 1
16 items
· 1 available products
Fig. 10 — ELECTRICAL 2
30 items
· 1 available products
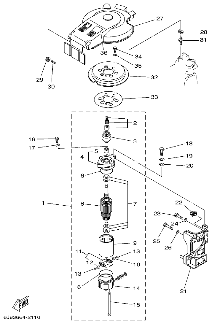
Fig. 11 — STARTING MOTOR
36 items
· 4 available products
Fig. 12 — BOTTOM COWLING
41 items
· 2 available products
Fig. 13 — STEERING
34 items
· 2 available products
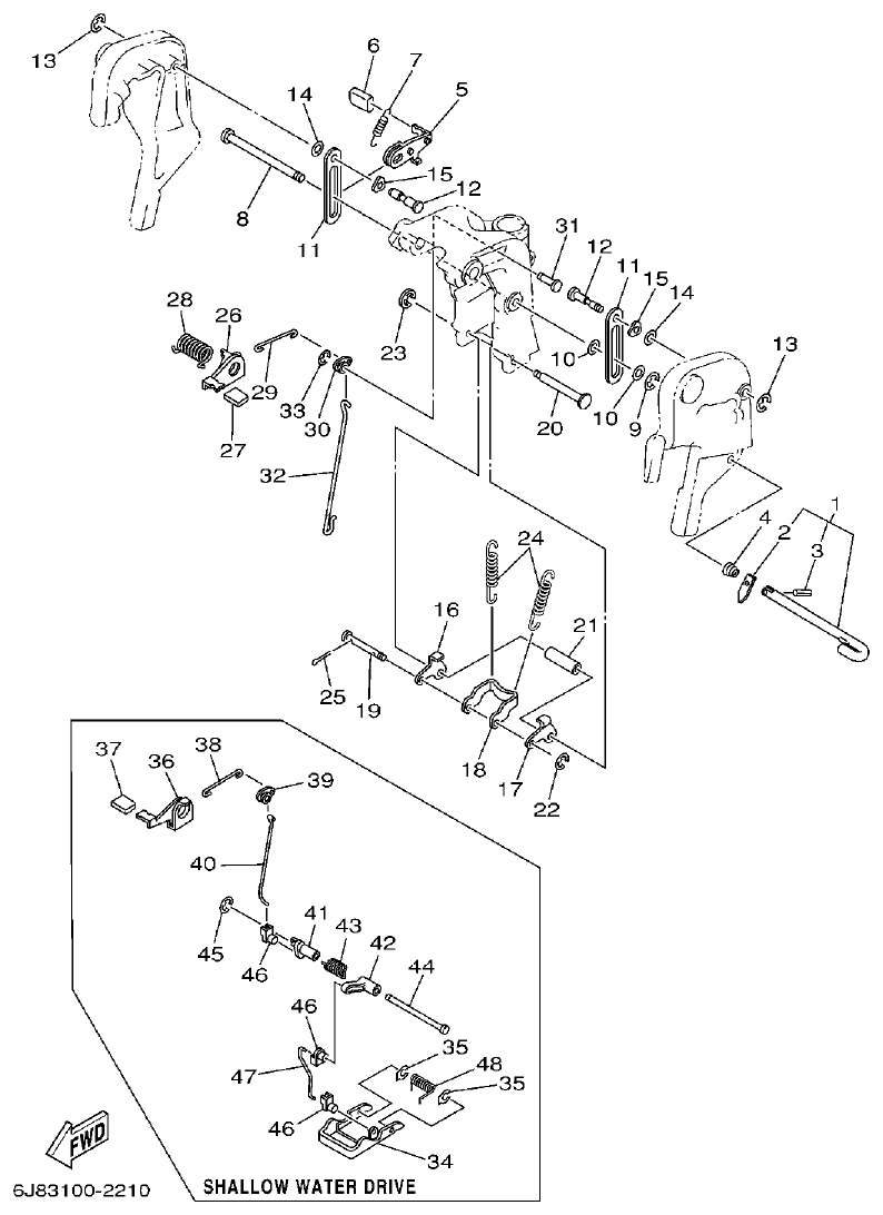
Fig. 14 — CONTROL 1
36 items
· 1 available products
Fig. 15 — CONTROL 2
15 items
· 1 available products
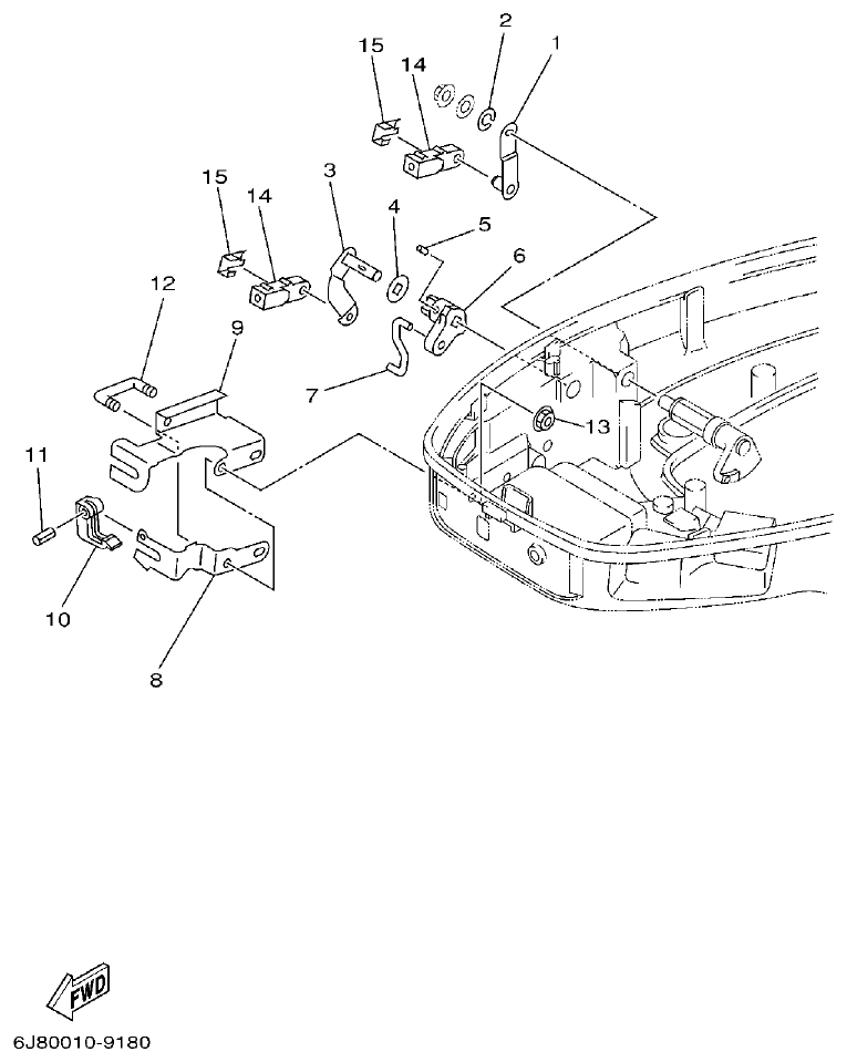
Fig. 16 — BRACKET 1
56 items
· 5 available products
Fig. 17 — BRACKET 2
48 items
· 1 available products
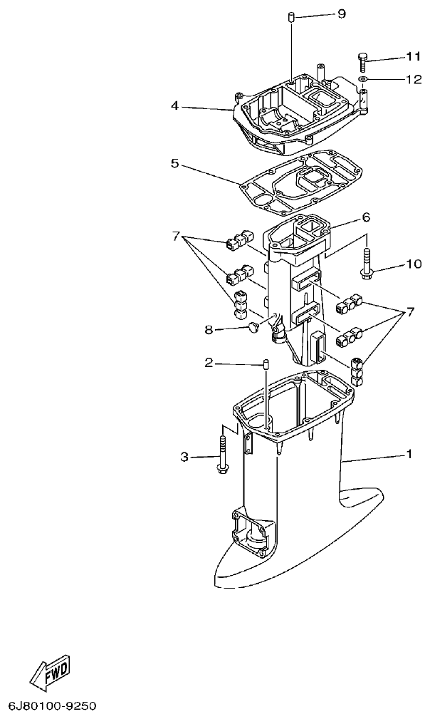
Fig. 18 — UPPER CASING
13 items
Fig. 19 — LOWER CASING. DRIVE 1
78 items
· 11 available products
Fig. 20 — LOWER CASING. DRIVE 2
36 items
· 4 available products
Fig. 21 — FUEL TANK
16 items
· 2 available products
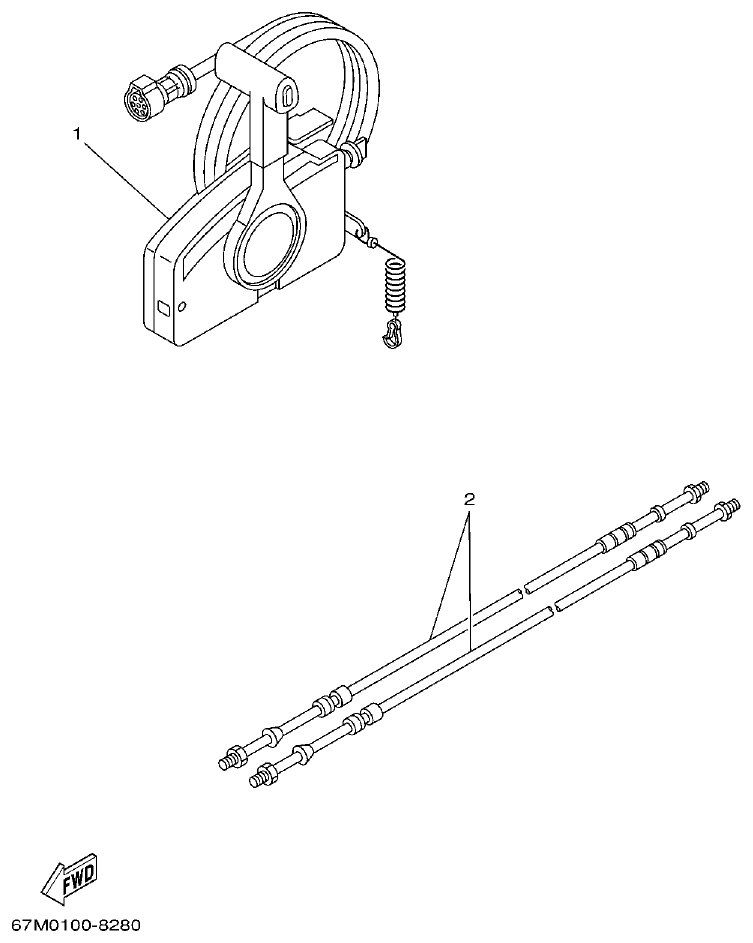
Fig. 22 — REMOTE CONTROL BOX
4 items
Fig. 23 — REMOTE CONTROL ASSY
61 items
· 10 available products
Fig. 24 — REPAIR KIT 1
27 items
· 2 available products
Fig. 25 — REPAIR KIT 2
23 items
· 6 available products