Catalogs / Yamaha / Outboard
Yamaha 50GETO, 60FETO, 70BETO Parts Catalog
Browse 27 catalog sections for Yamaha 50GETO, 60FETO, 70BETO. Open a section to view the parts diagram, reference numbers and available products.
Fig. 1 — TOP COWLING
36 items
Fig. 2 — CYLINDER & CRANKCASE
46 items
· 7 available products
Fig. 3 — CRANKSHAFT & PISTON
23 items
· 7 available products
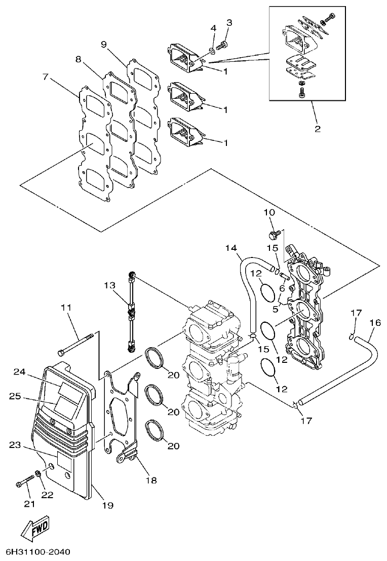
Fig. 4 — INTAKE
28 items
· 4 available products
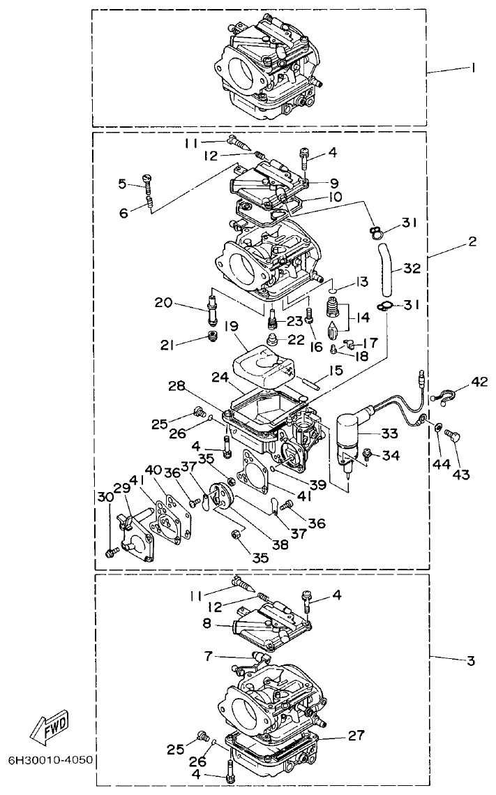
Fig. 5 — CARBURETOR
59 items
· 7 available products
Fig. 6 — OIL PUMP
61 items
· 2 available products
Fig. 7 — FUEL
44 items
· 7 available products
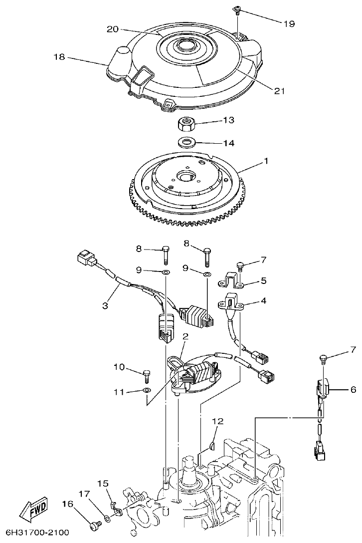
Fig. 8 — GENERATOR
21 items
Fig. 9 — ELECTRICAL
51 items
· 5 available products
Fig. 10 — STARTING MOTOR
21 items
· 3 available products
Fig. 11 — BOTTOM COWLING
43 items
· 1 available products
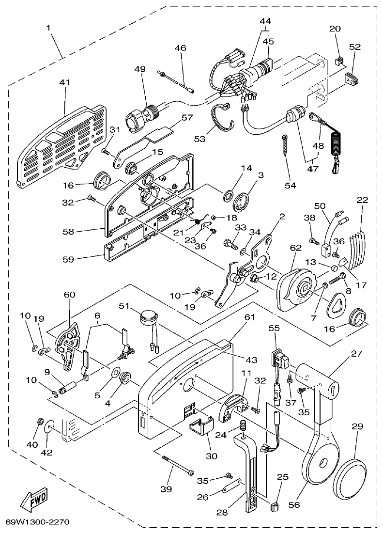
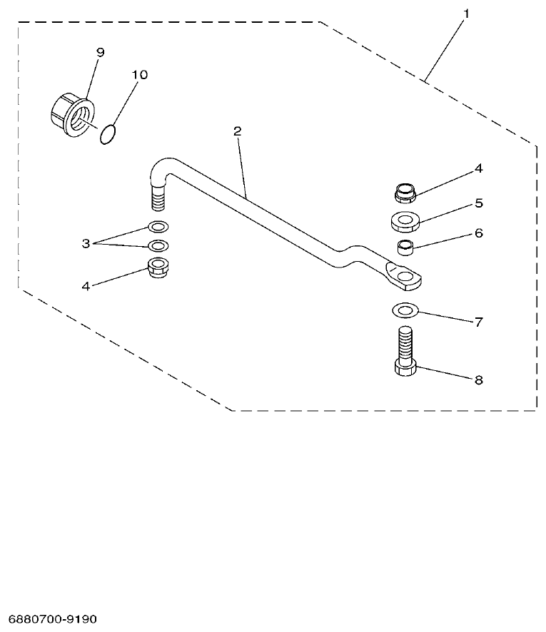
Fig. 12 — CONTROL
43 items
· 8 available products
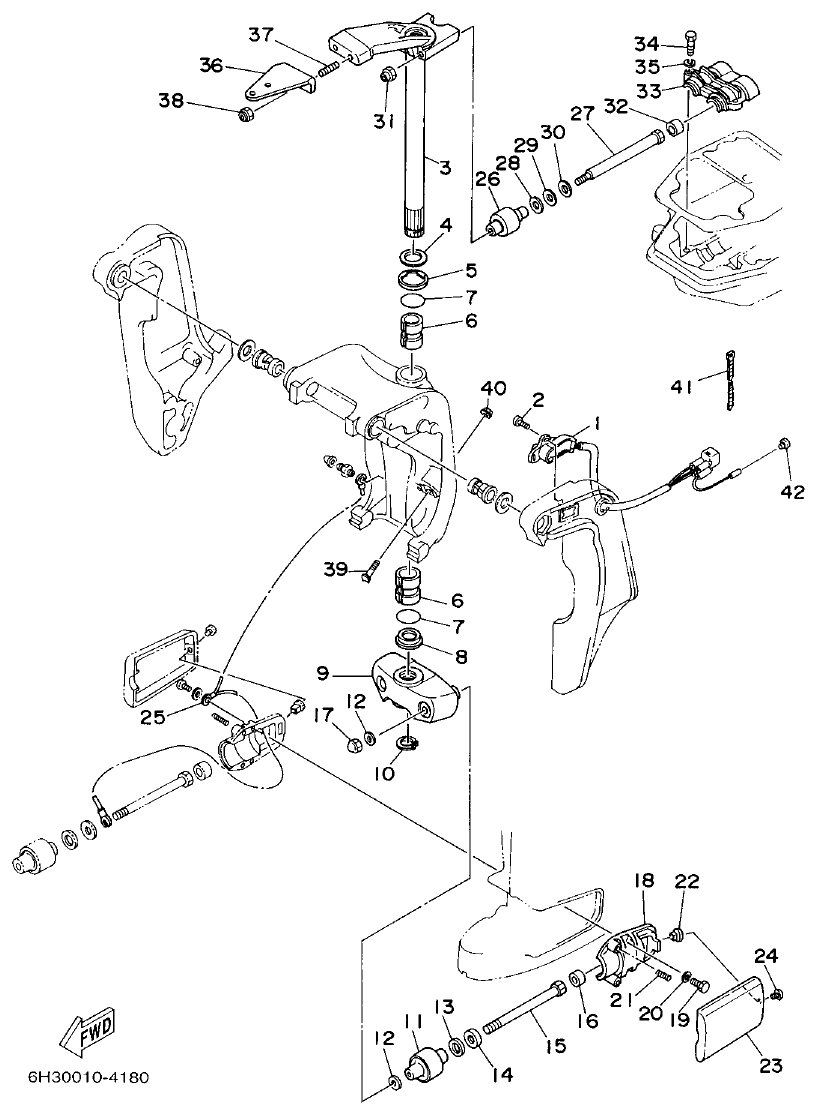
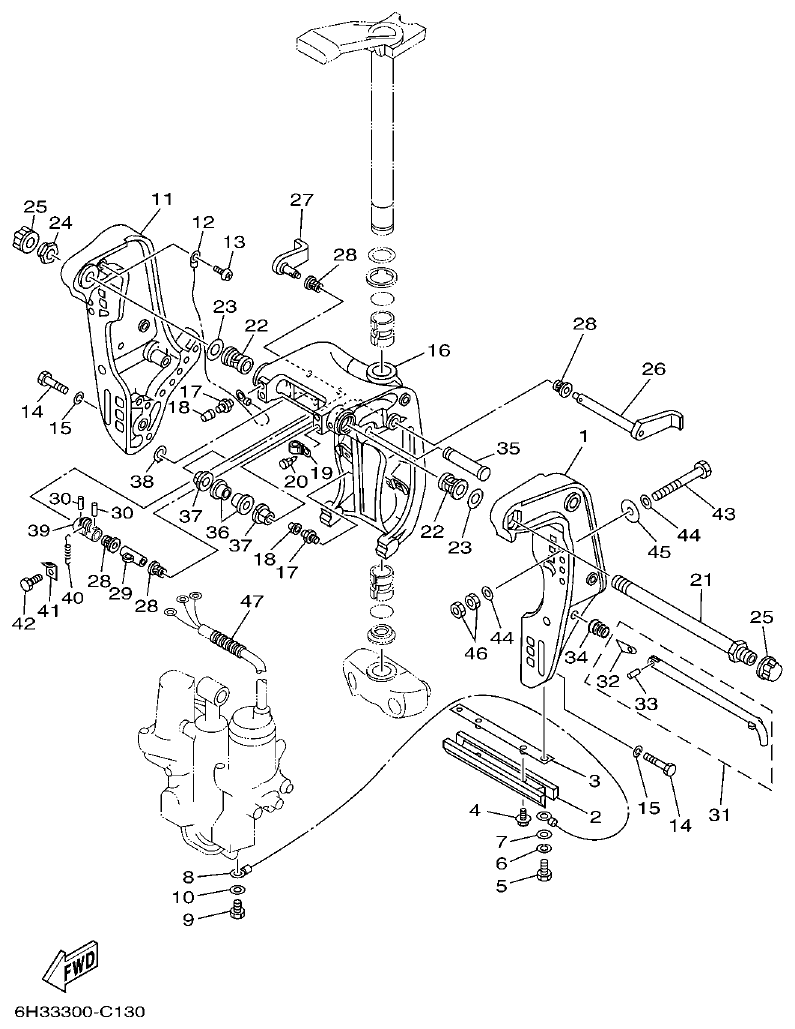
Fig. 13 — BRACKET 1
47 items
· 6 available products
Fig. 14 — BRACKET 2
43 items
Fig. 15 — POWER TRIM & TILT ASSY
81 items
· 17 available products
Fig. 16 — UPPER CASING
21 items
· 2 available products
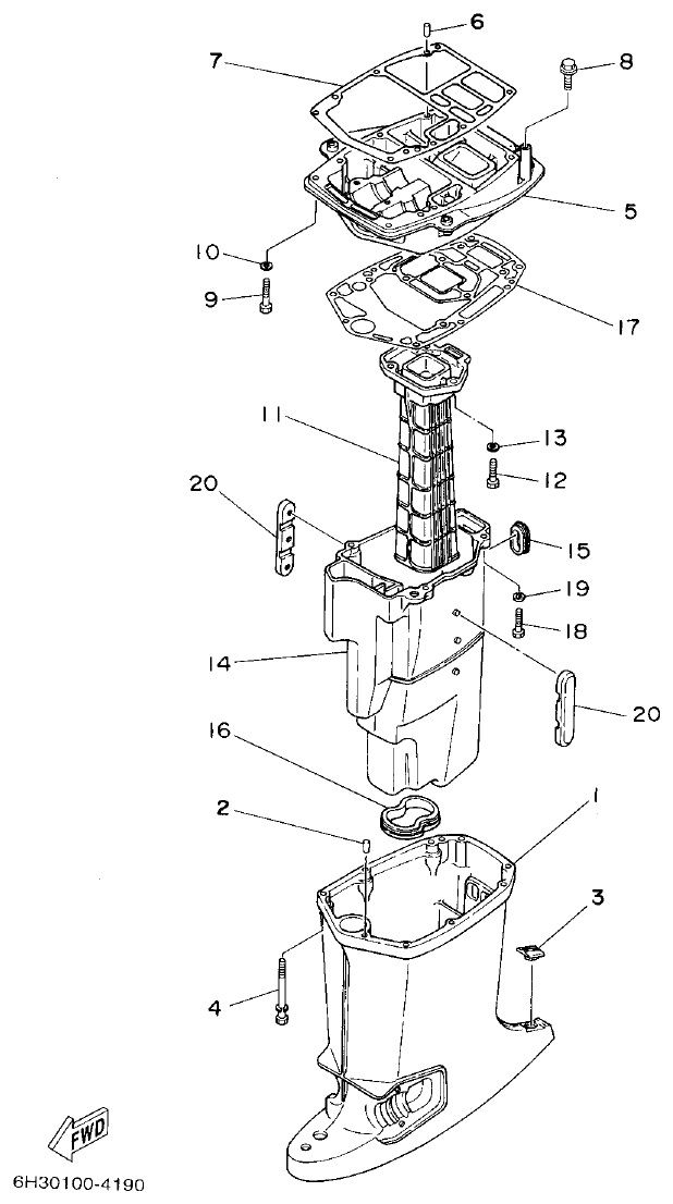
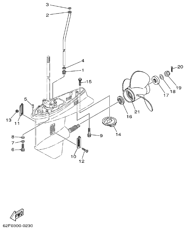
Fig. 17 — LOWER CASING & DRIVE 1
90 items
· 21 available products
Fig. 18 — LOWER CASING & DRIVE 2
45 items
· 10 available products
Fig. 19 — LOWER CASING & DRIVE 3
81 items
· 15 available products
Fig. 20 — LOWER CASING & DRIVE 4
30 items
· 4 available products
Fig. 21 — FUEL TANK
8 items
Fig. 22 — STEERING GUIDE
10 items
· 2 available products
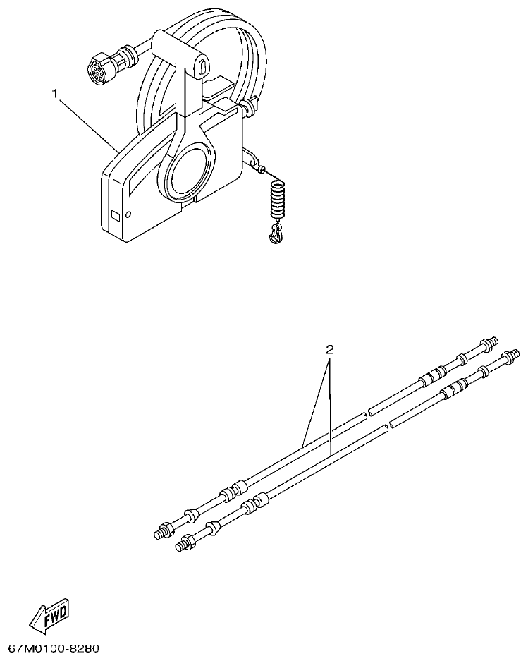
Fig. 23 — REMOTE CONTROL BOX
7 items
Fig. 24 — REMOTE CONTROL ASSY
62 items
· 11 available products
Fig. 25 — METER
9 items
· 1 available products
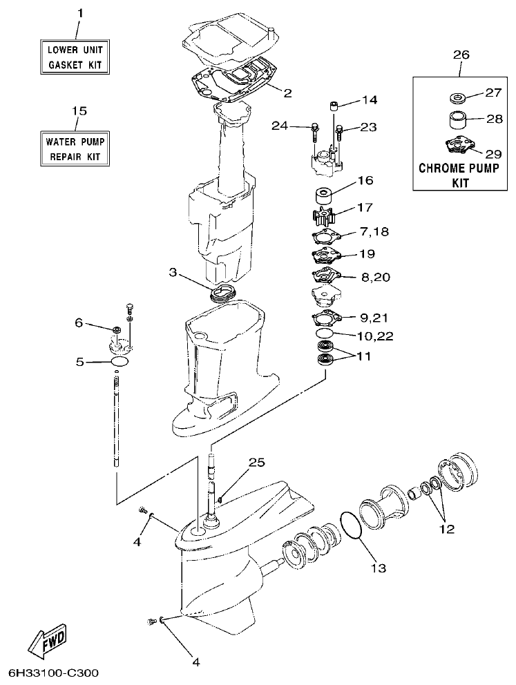
Fig. 26 — REPAIR KIT 1
35 items
· 10 available products
Fig. 27 — REPAIR KIT 2
49 items
· 18 available products