Catalogs / Yamaha / Outboard

Yamaha 60FET, 60FED, 60FEHTO, 70BETO Parts Catalog

Browse 34 catalog sections for Yamaha 60FET, 60FED, 60FEHTO, 70BETO. Open a section to view the parts diagram, reference numbers and available products.

Yamaha 60FET, 60FED, 60FEHTO, 70BETO TOP COWLING 1 parts diagram
Fig. 1 — TOP COWLING 1
22 items
Yamaha 60FET, 60FED, 60FEHTO, 70BETO TOP COWLING 2 parts diagram
Fig. 2 — TOP COWLING 2
33 items
Yamaha 60FET, 60FED, 60FEHTO, 70BETO CYLINDER & CRANKCASE parts diagram
Fig. 3 — CYLINDER & CRANKCASE
46 items · 7 available products
Yamaha 60FET, 60FED, 60FEHTO, 70BETO CRANKSHAFT & PISTON parts diagram
Fig. 4 — CRANKSHAFT & PISTON
24 items · 7 available products
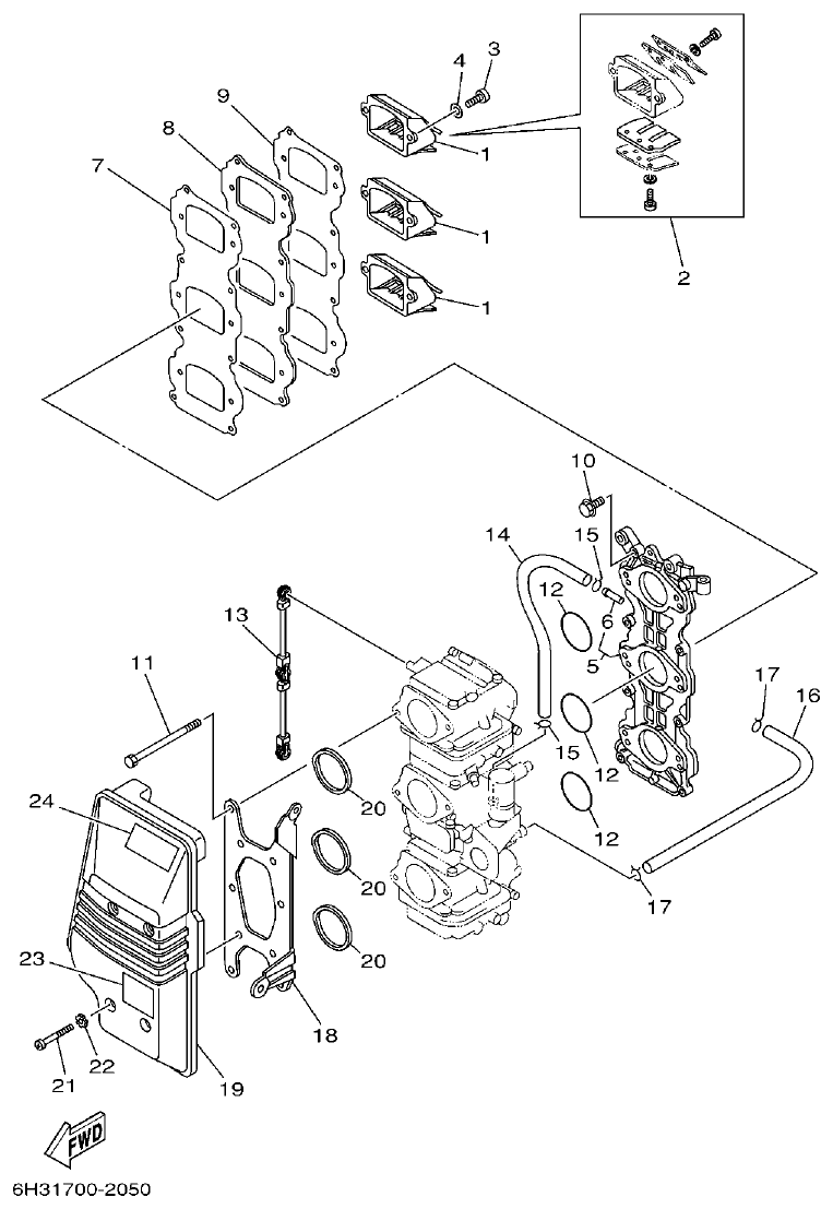
Yamaha 60FET, 60FED, 60FEHTO, 70BETO INTAKE parts diagram
Fig. 5 — INTAKE
27 items · 3 available products
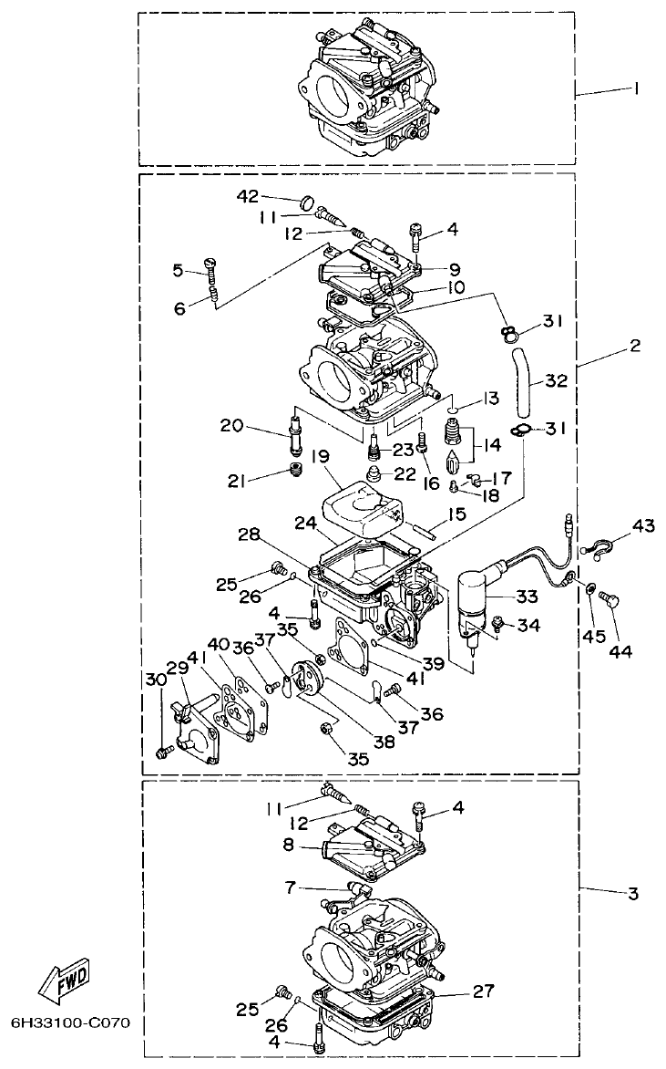
Yamaha 60FET, 60FED, 60FEHTO, 70BETO CARBURETOR parts diagram
Fig. 6 — CARBURETOR
66 items · 8 available products
Yamaha 60FET, 60FED, 60FEHTO, 70BETO OIL PUMP parts diagram
Fig. 7 — OIL PUMP
60 items · 2 available products
Yamaha 60FET, 60FED, 60FEHTO, 70BETO FUEL parts diagram
Fig. 8 — FUEL
40 items · 7 available products
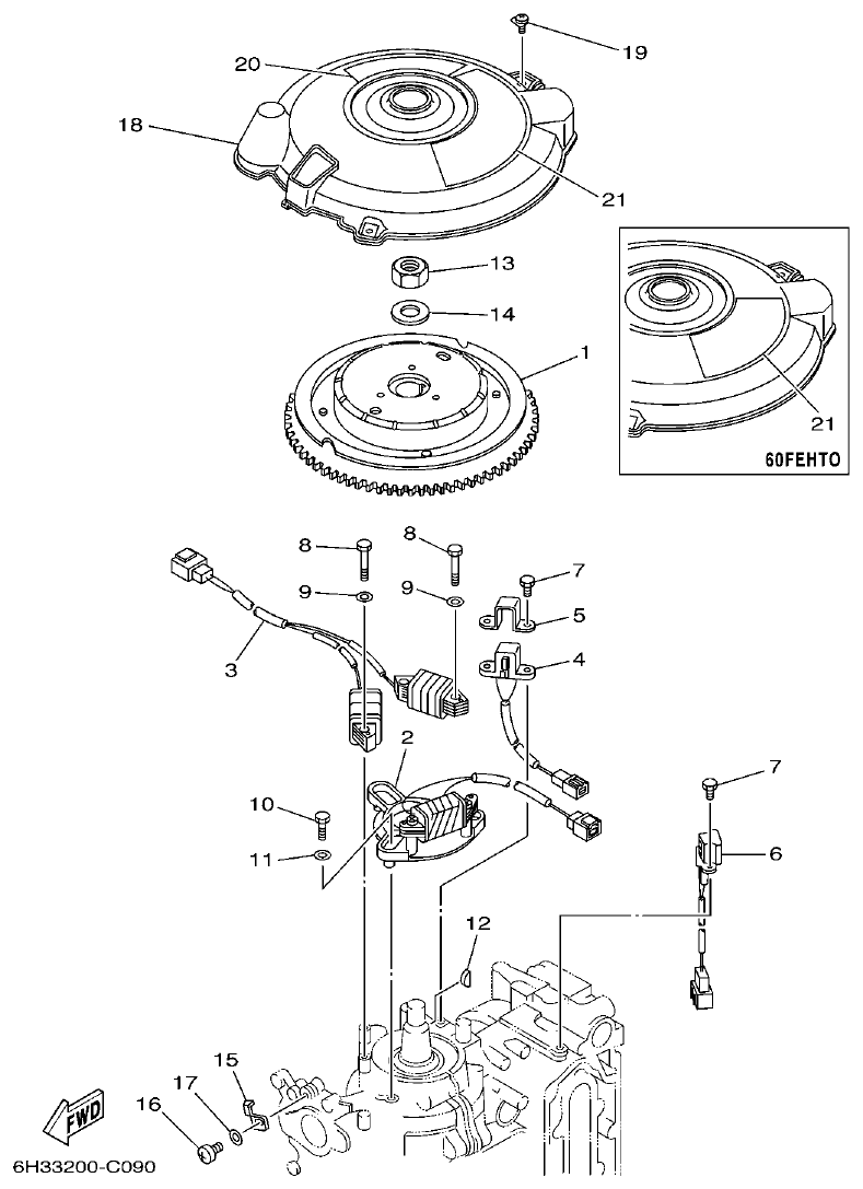
Yamaha 60FET, 60FED, 60FEHTO, 70BETO GENERATOR parts diagram
Fig. 9 — GENERATOR
22 items
Yamaha 60FET, 60FED, 60FEHTO, 70BETO ELECTRICAL 1 parts diagram
Fig. 10 — ELECTRICAL 1
52 items · 5 available products
Yamaha 60FET, 60FED, 60FEHTO, 70BETO ELECTRICAL 2 parts diagram
Fig. 11 — ELECTRICAL 2
27 items · 2 available products
Yamaha 60FET, 60FED, 60FEHTO, 70BETO STARTING MOTOR parts diagram
Fig. 12 — STARTING MOTOR
21 items · 3 available products
Yamaha 60FET, 60FED, 60FEHTO, 70BETO BOTTOM COWLING parts diagram
Fig. 13 — BOTTOM COWLING
50 items · 1 available products
Yamaha 60FET, 60FED, 60FEHTO, 70BETO STEERING parts diagram
Fig. 14 — STEERING
67 items · 2 available products
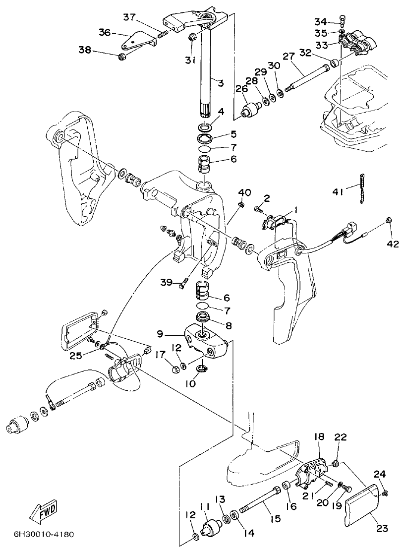
Yamaha 60FET, 60FED, 60FEHTO, 70BETO CONTROL parts diagram
Fig. 15 — CONTROL
43 items · 8 available products
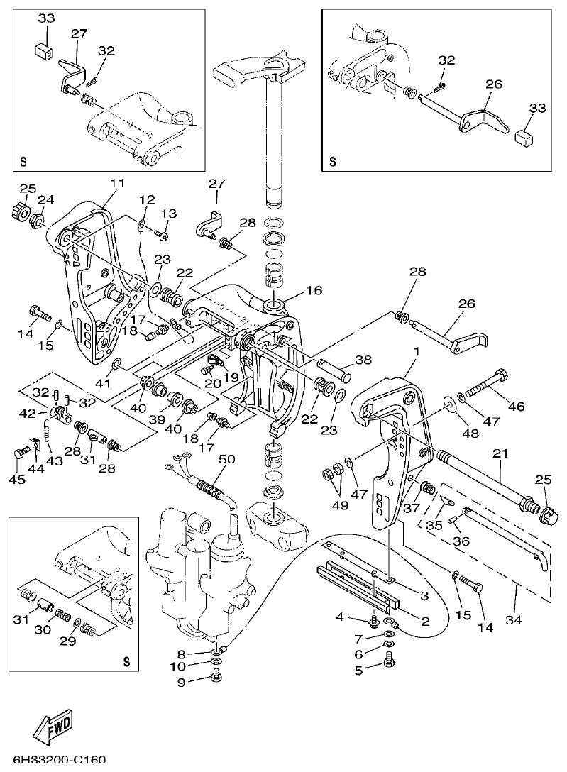
Yamaha 60FET, 60FED, 60FEHTO, 70BETO BRACKET 1 parts diagram
Fig. 16 — BRACKET 1
60 items · 8 available products
Yamaha 60FET, 60FED, 60FEHTO, 70BETO BRACKET 2 parts diagram
Fig. 17 — BRACKET 2
58 items · 9 available products
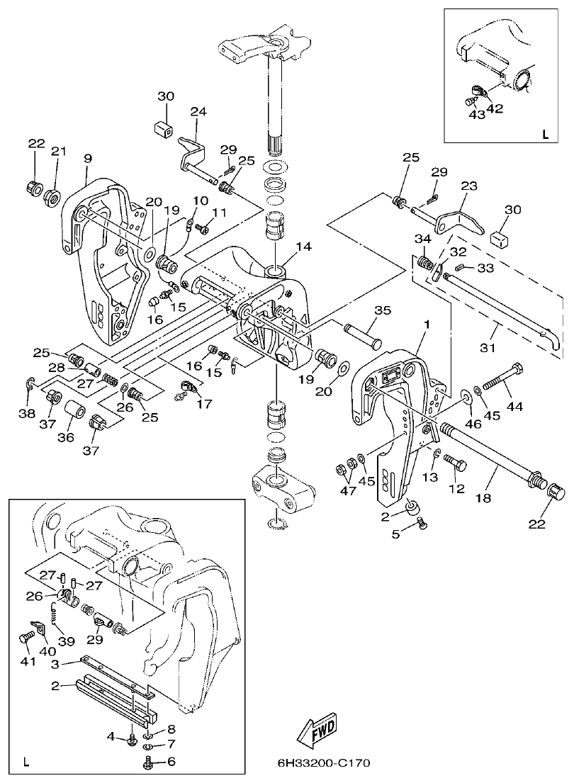
Yamaha 60FET, 60FED, 60FEHTO, 70BETO BRACKET 3 parts diagram
Fig. 18 — BRACKET 3
18 items · 3 available products
Yamaha 60FET, 60FED, 60FEHTO, 70BETO BRACKET 4 parts diagram
Fig. 19 — BRACKET 4
47 items
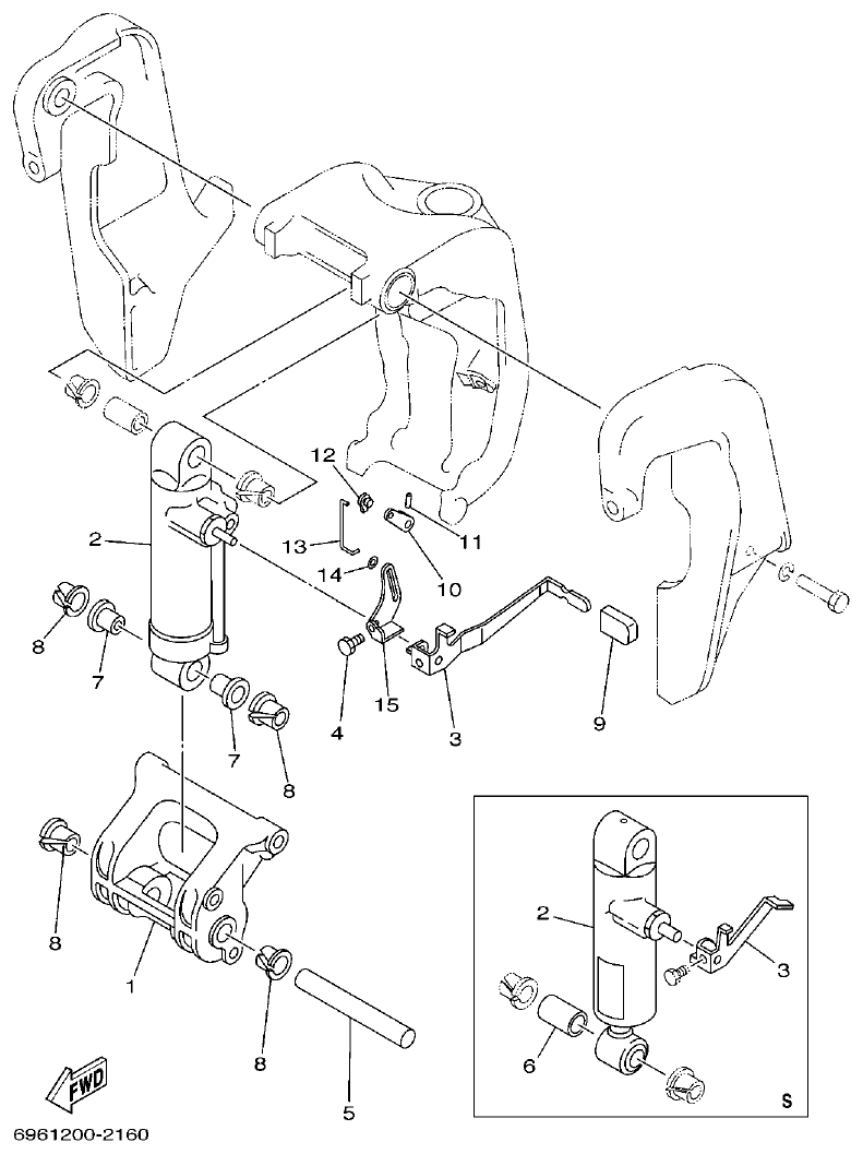
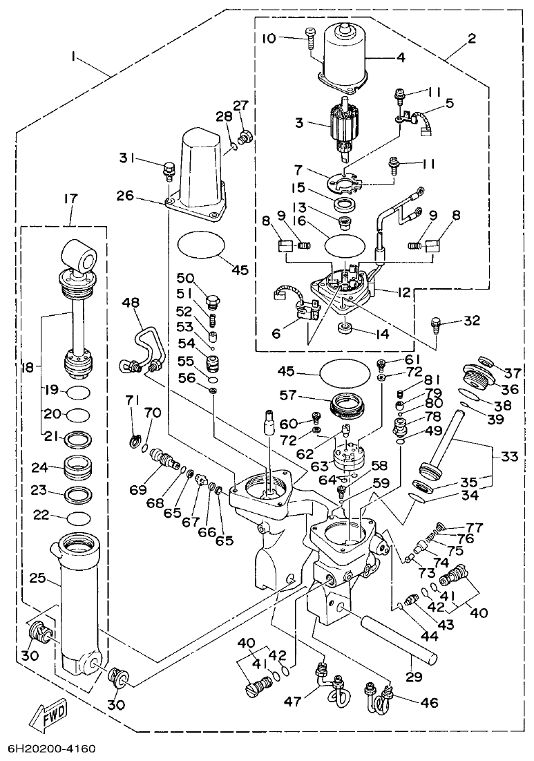
Yamaha 60FET, 60FED, 60FEHTO, 70BETO POWER TRIM & TILT ASSY 1 parts diagram
Fig. 20 — POWER TRIM & TILT ASSY 1
81 items · 10 available products
Yamaha 60FET, 60FED, 60FEHTO, 70BETO POWER TRIM & TILT ASSY 2 parts diagram
Fig. 21 — POWER TRIM & TILT ASSY 2
79 items · 17 available products
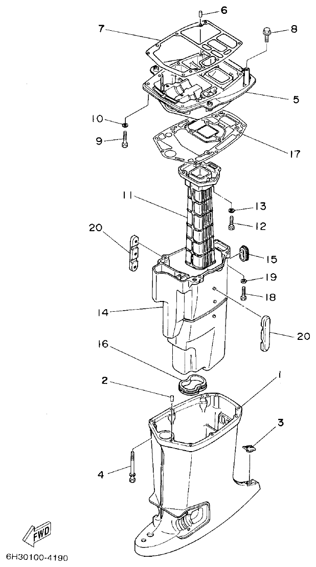
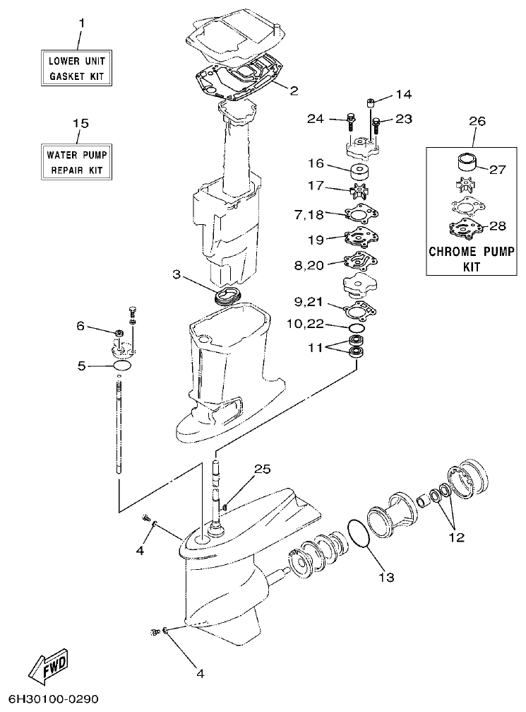
Yamaha 60FET, 60FED, 60FEHTO, 70BETO UPPER CASING parts diagram
Fig. 22 — UPPER CASING
24 items · 2 available products
Yamaha 60FET, 60FED, 60FEHTO, 70BETO LOWER CASING & DRIVE 1 parts diagram
Fig. 23 — LOWER CASING & DRIVE 1
90 items · 19 available products
Yamaha 60FET, 60FED, 60FEHTO, 70BETO LOWER CASING & DRIVE 2 parts diagram
Fig. 24 — LOWER CASING & DRIVE 2
92 items · 22 available products
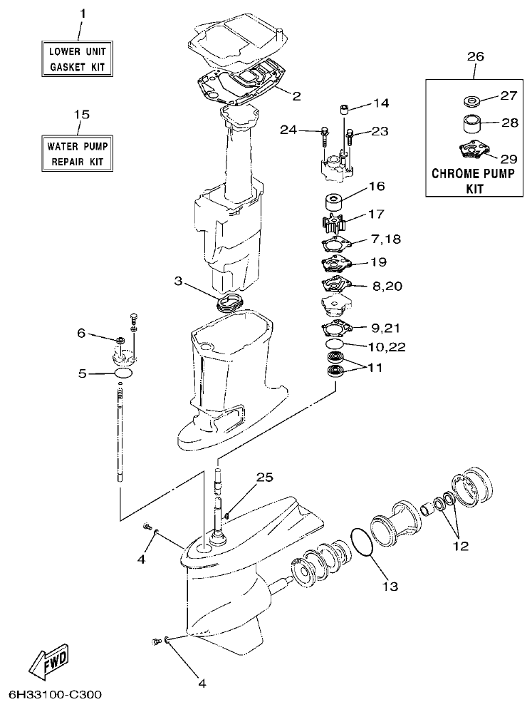
Yamaha 60FET, 60FED, 60FEHTO, 70BETO LOWER CASING & DRIVE 3 parts diagram
Fig. 25 — LOWER CASING & DRIVE 3
46 items · 10 available products
Yamaha 60FET, 60FED, 60FEHTO, 70BETO FUEL TANK parts diagram
Fig. 26 — FUEL TANK
18 items · 2 available products
Yamaha 60FET, 60FED, 60FEHTO, 70BETO STEERING GUIDE parts diagram
Fig. 27 — STEERING GUIDE
10 items · 2 available products
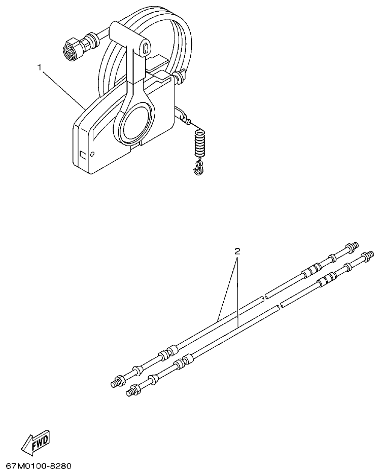
Yamaha 60FET, 60FED, 60FEHTO, 70BETO REMOTE CONTROL BOX parts diagram
Fig. 28 — REMOTE CONTROL BOX
5 items · 1 available products
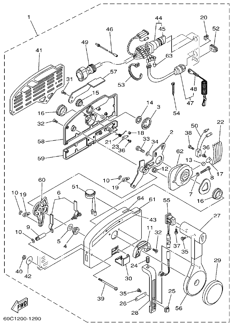
Yamaha 60FET, 60FED, 60FEHTO, 70BETO REMOTE CONTROL ASSY parts diagram
Fig. 29 — REMOTE CONTROL ASSY
68 items · 11 available products
Yamaha 60FET, 60FED, 60FEHTO, 70BETO METER 1 parts diagram
Fig. 30 — METER 1
16 items · 1 available products
Yamaha 60FET, 60FED, 60FEHTO, 70BETO METER 2 parts diagram
Fig. 31 — METER 2
10 items · 1 available products
Yamaha 60FET, 60FED, 60FEHTO, 70BETO REPAIR KIT 1 parts diagram
Fig. 32 — REPAIR KIT 1
30 items · 9 available products
Yamaha 60FET, 60FED, 60FEHTO, 70BETO REPAIR KIT 2 parts diagram
Fig. 33 — REPAIR KIT 2
28 items · 6 available products
Yamaha 60FET, 60FED, 60FEHTO, 70BETO REPAIR KIT 3 parts diagram
Fig. 34 — REPAIR KIT 3
29 items · 12 available products