Catalogs / Yamaha / Outboard
Yamaha 6CMH, 6DMH, 8CMH Parts Catalog
Browse 18 catalog sections for Yamaha 6CMH, 6DMH, 8CMH. Open a section to view the parts diagram, reference numbers and available products.
Fig. 1 — TOP COWLING
16 items
Fig. 2 — CYLINDER & CRANKCASE
28 items
· 4 available products
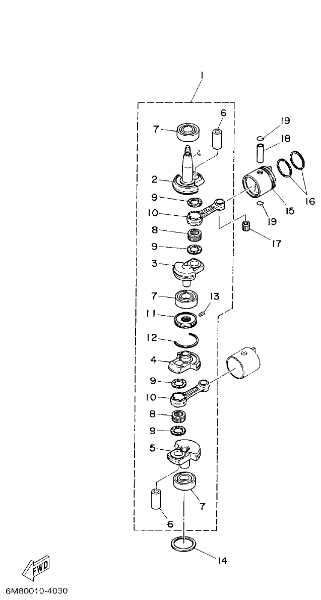
Fig. 3 — CRANKSHAFT & PISTON
19 items
Fig. 4 — INTAKE
16 items
· 1 available products
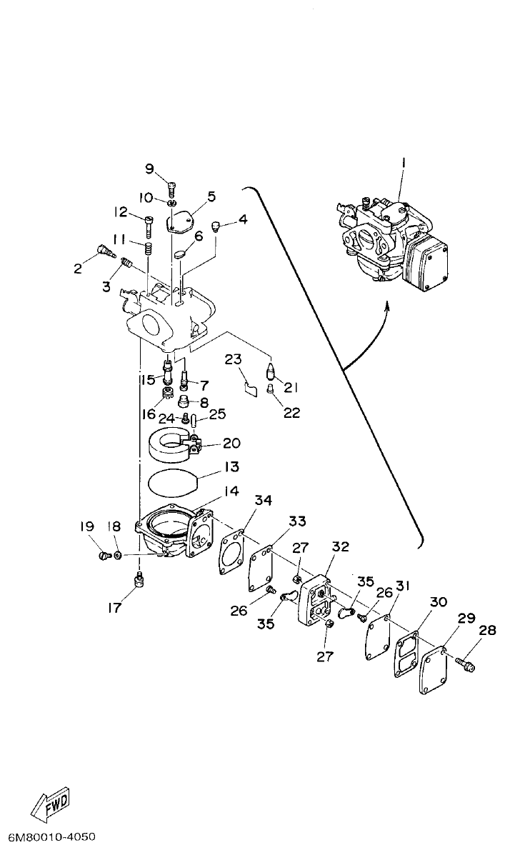
Fig. 5 — CARBURETOR
40 items
· 7 available products
Fig. 6 — FUEL
18 items
· 1 available products
Fig. 7 — STARTER
34 items
· 2 available products
Fig. 8 — GENERATOR
19 items
· 2 available products
Fig. 9 — ELECTRICAL
21 items
· 1 available products
Fig. 10 — BOTTOM COWLING
28 items
· 3 available products
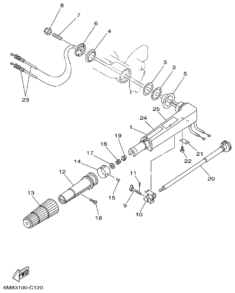
Fig. 11 — STEERING
25 items
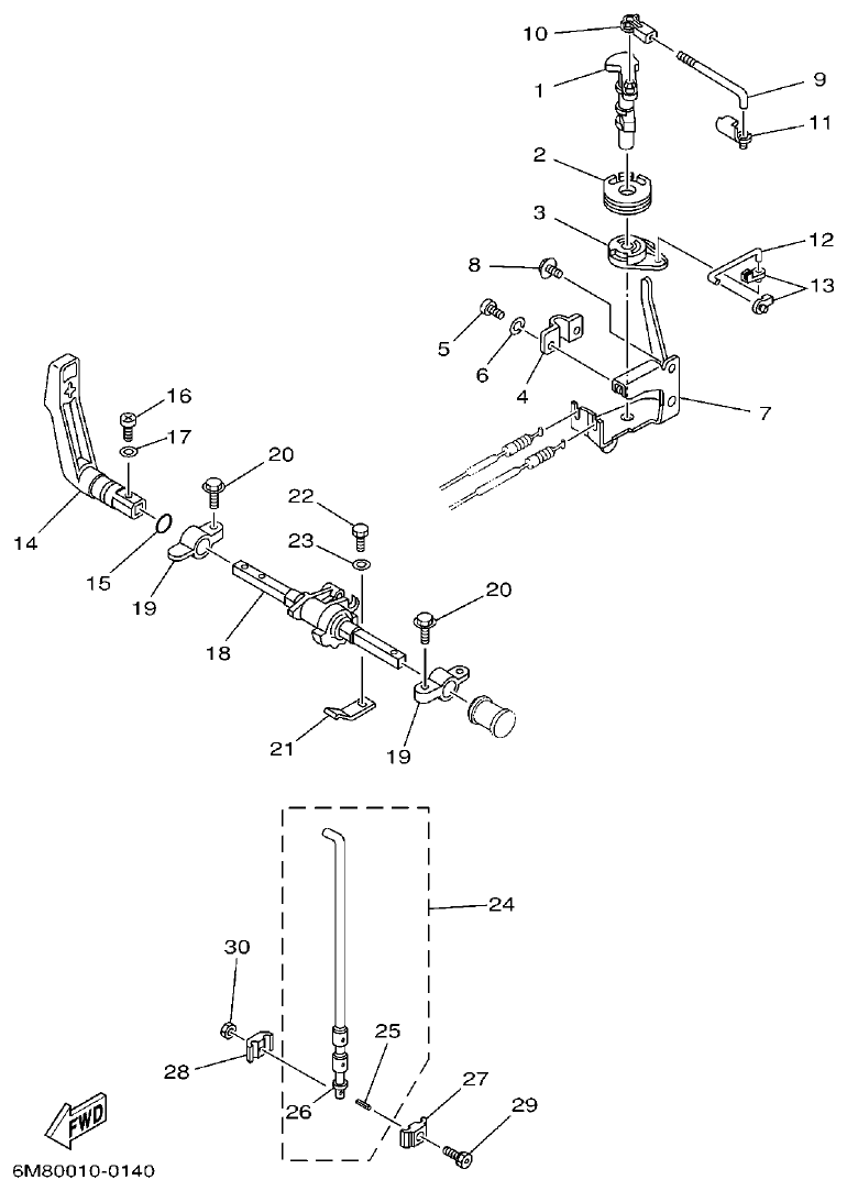
Fig. 12 — CONTROL
32 items
· 1 available products
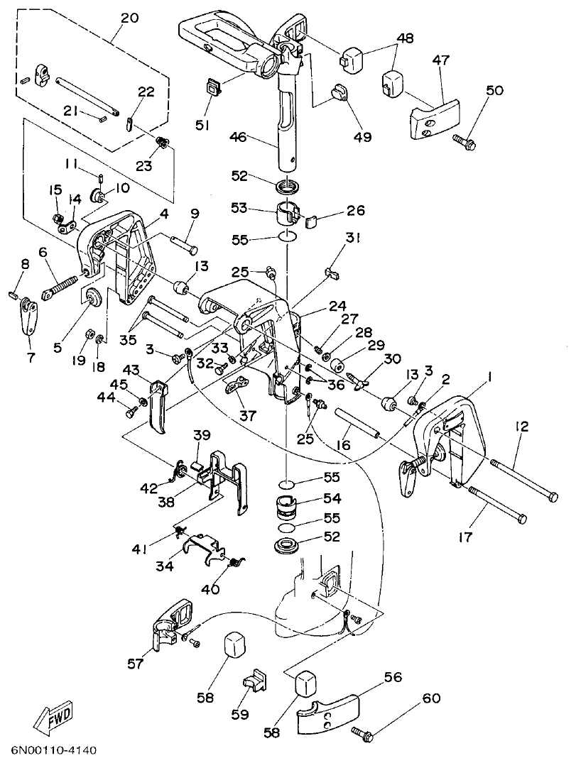
Fig. 13 — BRACKET
60 items
· 3 available products
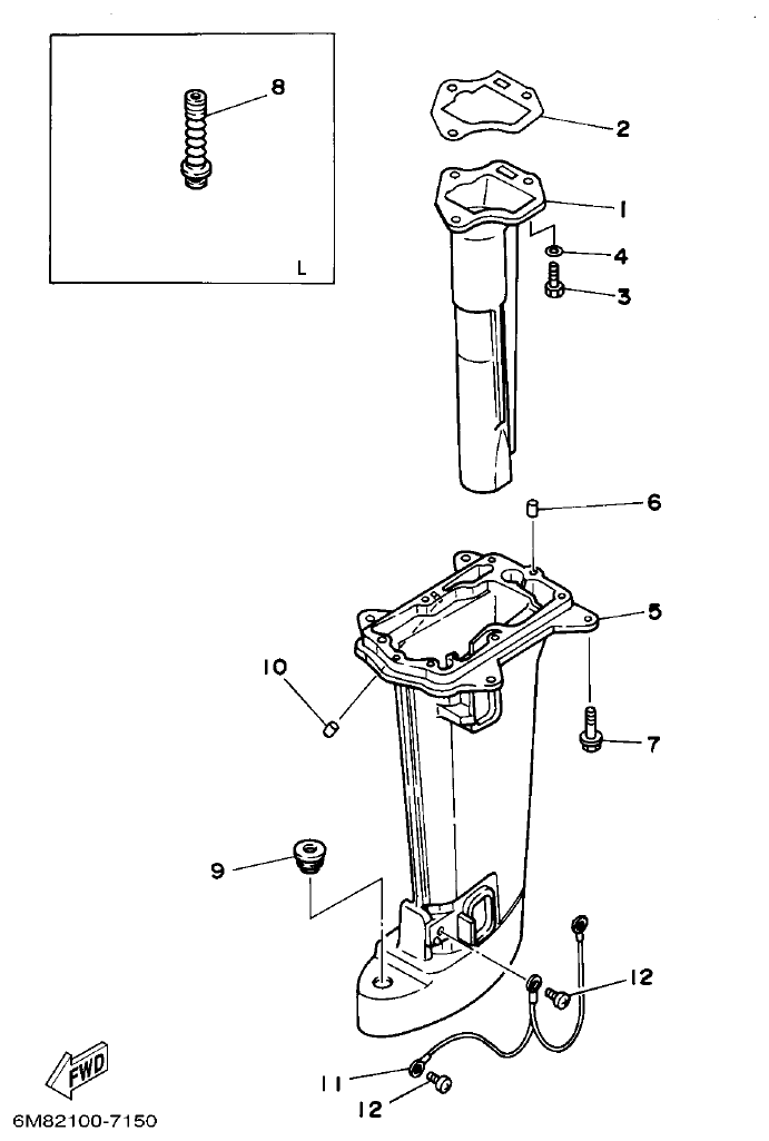
Fig. 14 — UPPER CASING
15 items
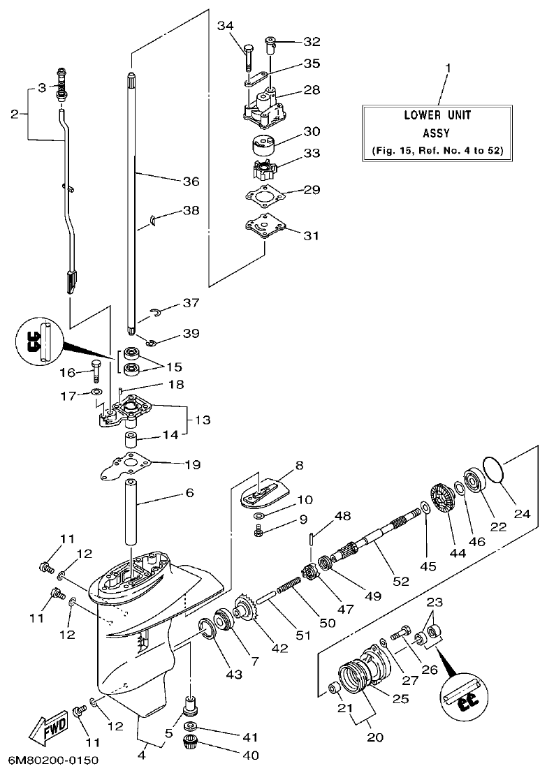
Fig. 15 — LOWER CASING & DRIVE 1
64 items
· 10 available products
Fig. 16 — LOWER CASING & DRIVE 2
21 items
· 2 available products
Fig. 17 — FUEL TANK
8 items
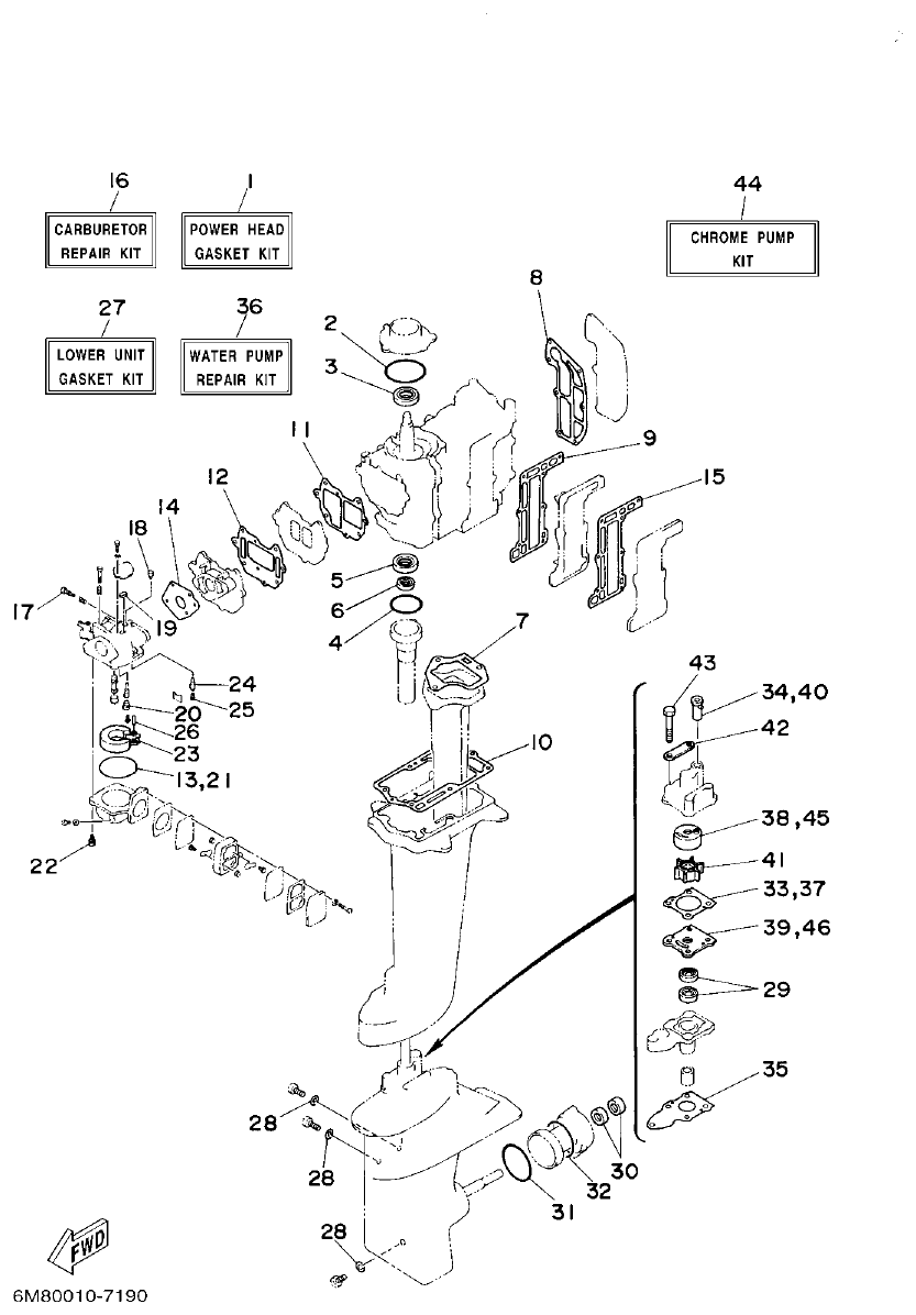
Fig. 18 — REPAIR KIT
46 items
· 12 available products