Catalogs / Yamaha / Outboard
Yamaha 75AET, 85AET Parts Catalog
Browse 23 catalog sections for Yamaha 75AET, 85AET. Open a section to view the parts diagram, reference numbers and available products.
Fig. 1 — TOP COWLING
29 items
· 1 available products
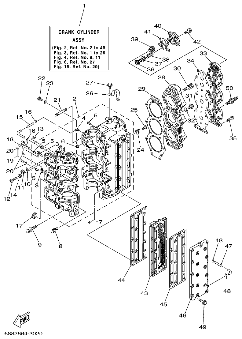
Fig. 2 — CYLINDER & CRANKCASE
52 items
· 16 available products
Fig. 3 — CRANKSHAFT & PISTON
30 items
· 13 available products
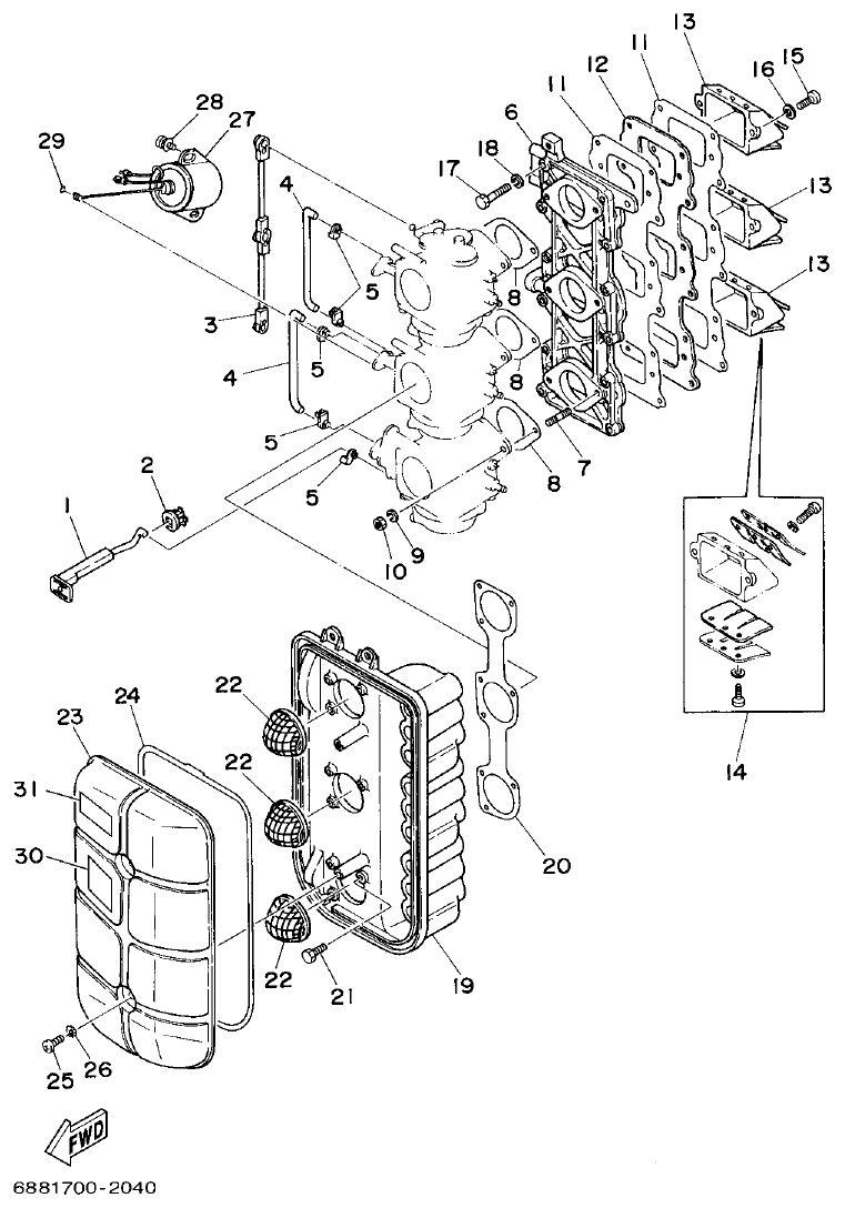
Fig. 4 — INTAKE
33 items
· 15 available products
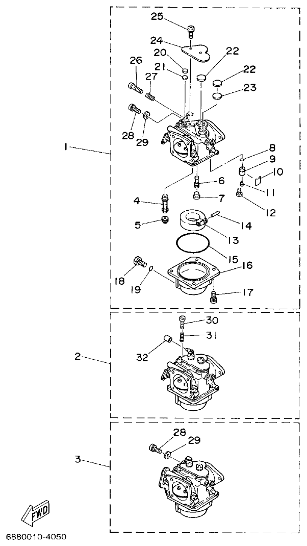
Fig. 5 — CARBURETOR
38 items
· 10 available products
Fig. 6 — FUEL
40 items
· 8 available products
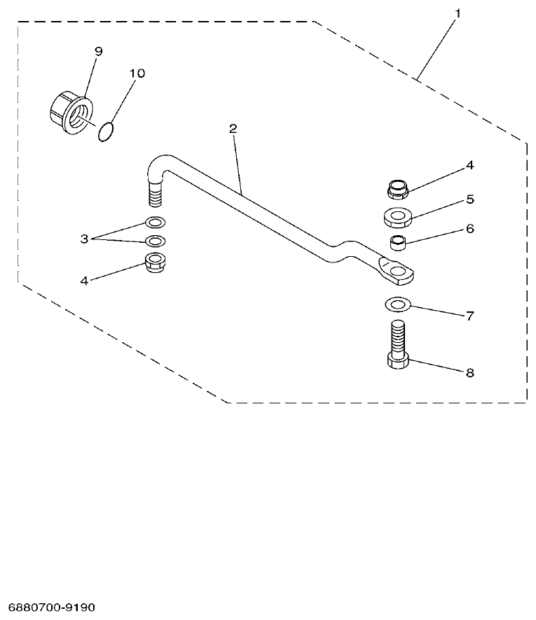
Fig. 7 — GENERATOR
15 items
· 4 available products
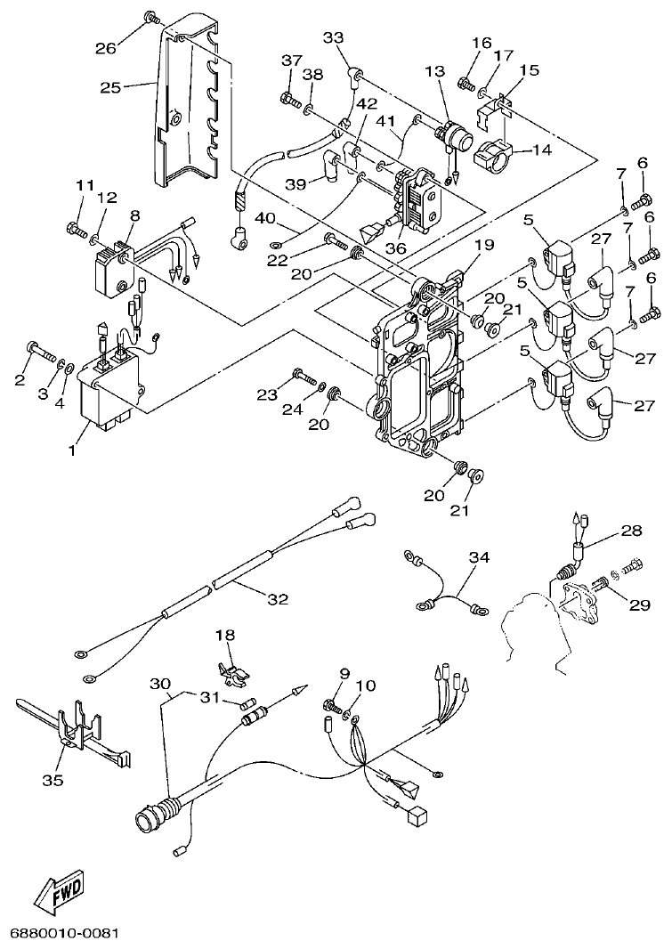
Fig. 8 — ELECTRICAL
42 items
· 9 available products
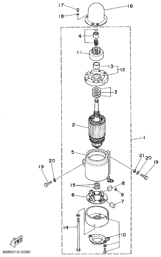
Fig. 9 — STARTING MOTOR
21 items
· 6 available products
Fig. 10 — BOTTOM COWLING
32 items
· 1 available products
Fig. 11 — CONTROL
57 items
· 7 available products
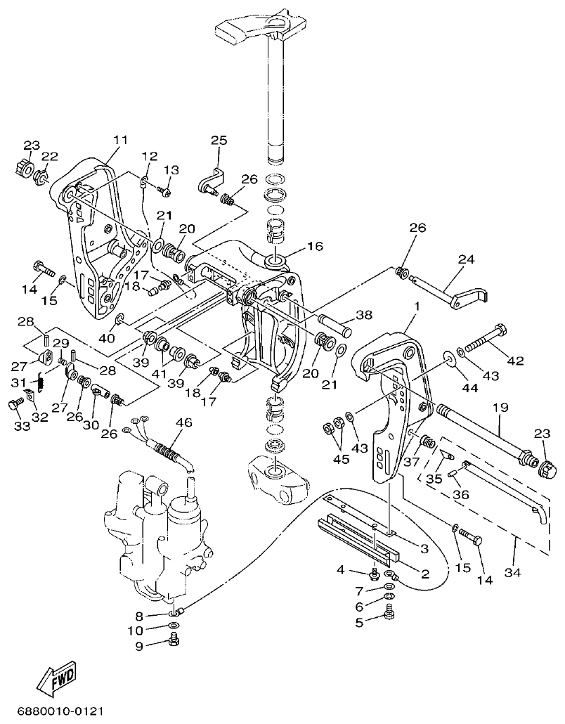
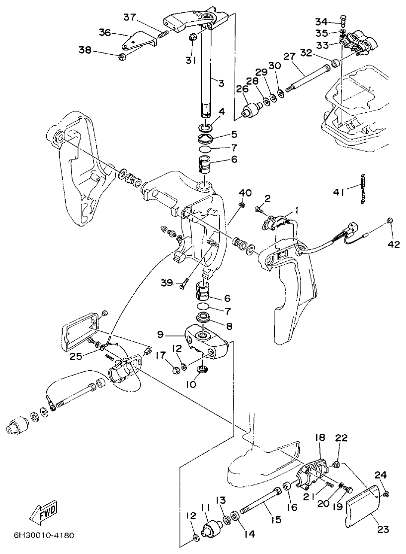
Fig. 12 — BRACKET 1
46 items
· 7 available products
Fig. 13 — BRACKET 2
42 items
Fig. 14 — POWER TRIM & TILT ASSY
79 items
· 17 available products
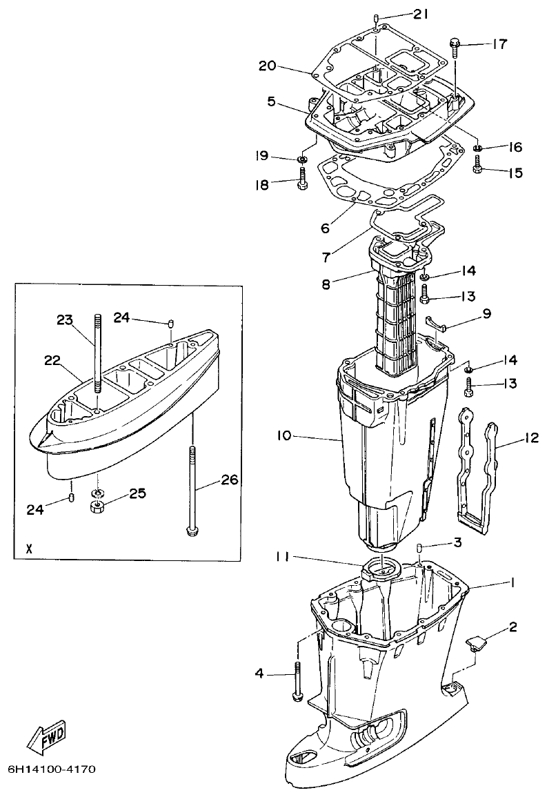
Fig. 15 — UPPER CASING
26 items
· 7 available products
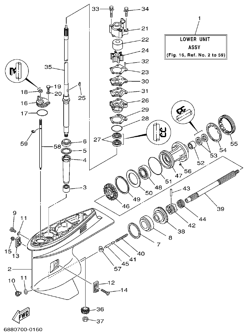
Fig. 16 — LOWER CASING & DRIVE 1
79 items
· 26 available products
Fig. 17 — LOWER CASING & DRIVE 2
43 items
· 11 available products
Fig. 18 — FUEL TANK
16 items
· 1 available products
Fig. 19 — STEERING GUIDE
10 items
· 2 available products
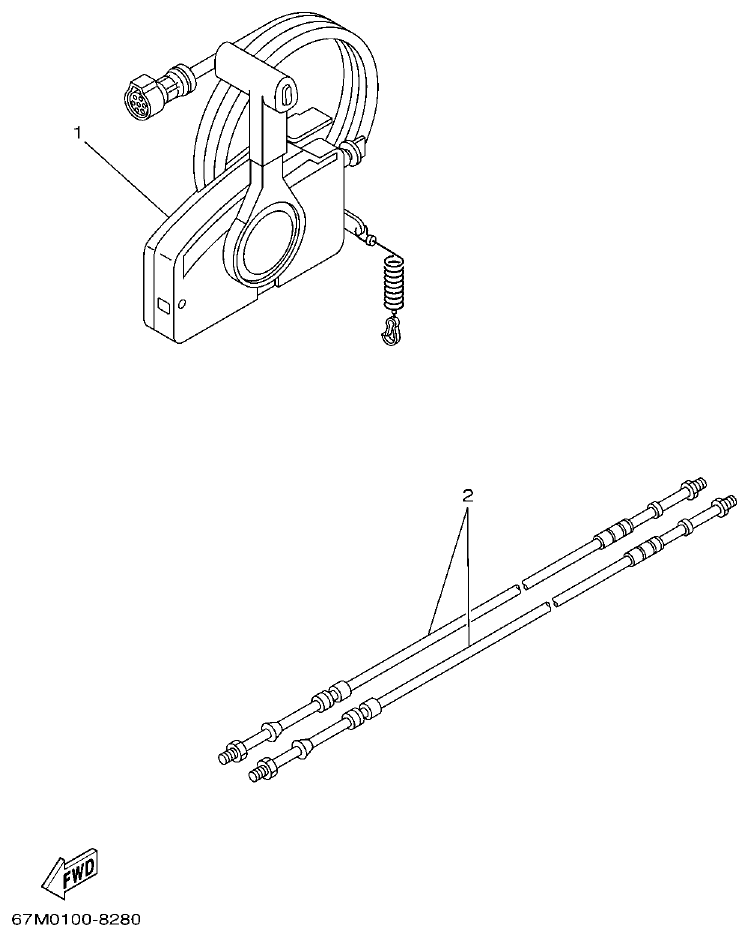
Fig. 20 — REMOTE CONTROL BOX
7 items
Fig. 21 — REMOTE CONTROL ASSY
66 items
· 12 available products
Fig. 22 — REPAIR KIT 1
32 items
· 17 available products
Fig. 23 — REPAIR KIT 2
40 items
· 17 available products