Catalogs / Yamaha / Outboard

Yamaha E115A Parts Catalog

Browse 77 catalog sections for Yamaha E115A. Open a section to view the parts diagram, reference numbers and available products.

Yamaha E115A TOP COWLING 1 parts diagram
Fig. 1 — TOP COWLING 1
24 items · 1 available products
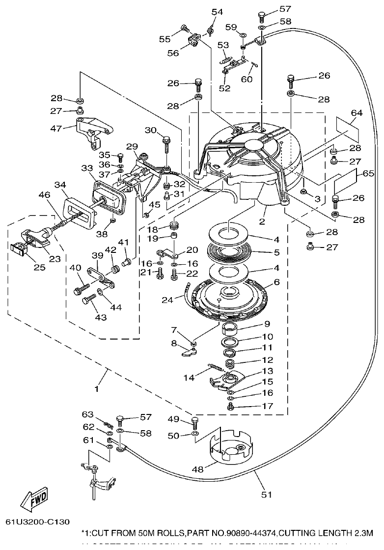
Yamaha E115A TOP COWLING 2 parts diagram
Fig. 2 — TOP COWLING 2
24 items · 1 available products
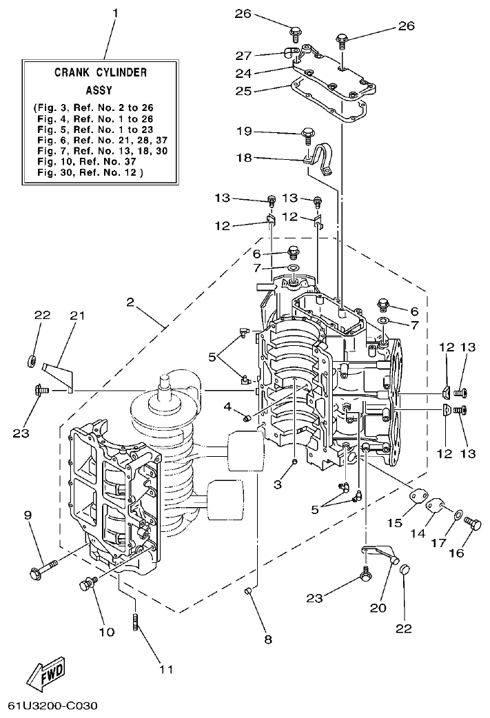
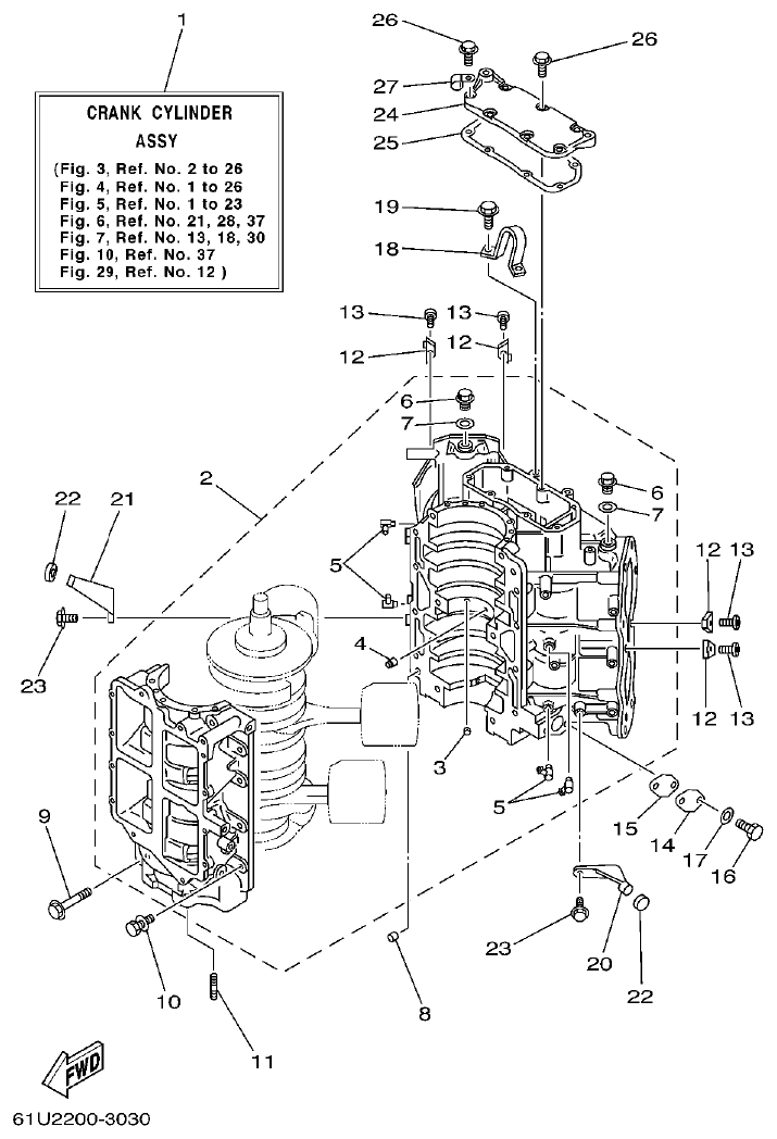
Yamaha E115A CYLINDER. CRANKCASE 1 parts diagram
Fig. 3 — CYLINDER. CRANKCASE 1
28 items · 7 available products
Yamaha E115A CRANKSHAFT. PISTON parts diagram
Fig. 4 — CRANKSHAFT. PISTON
34 items · 16 available products
Yamaha E115A CYLINDER. CRANKCASE 2 parts diagram
Fig. 5 — CYLINDER. CRANKCASE 2
27 items · 10 available products
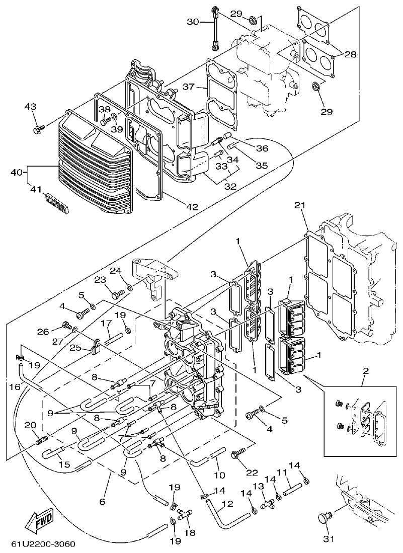
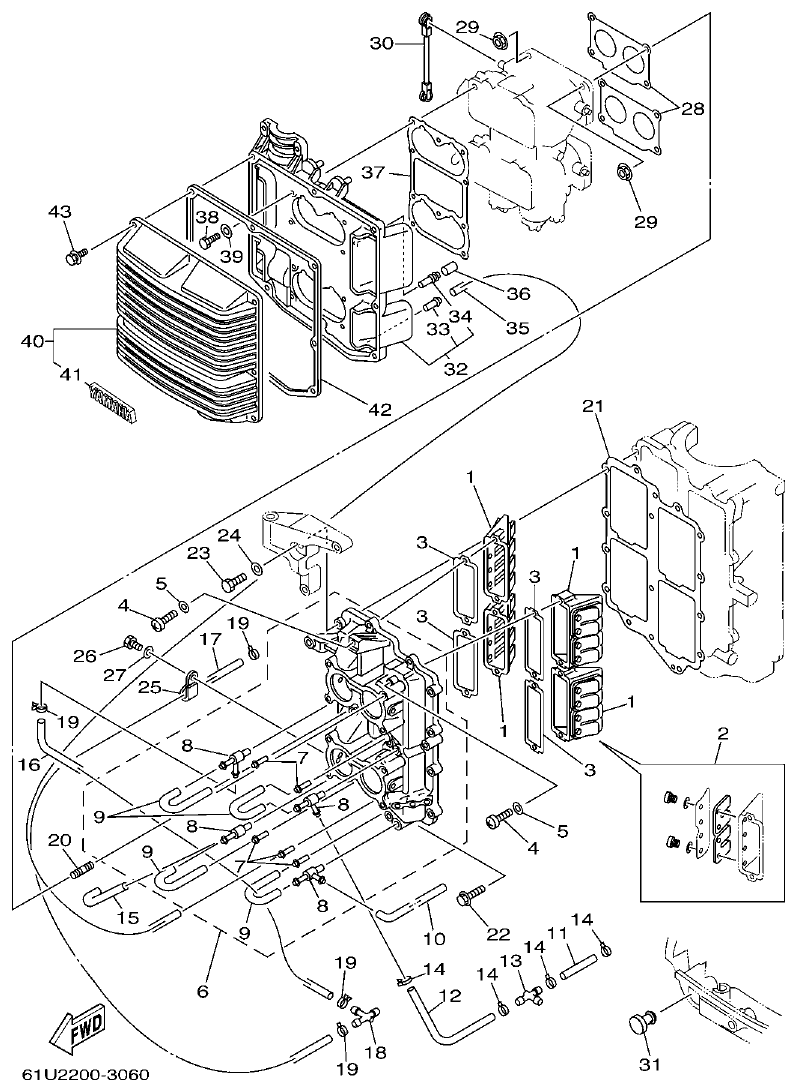
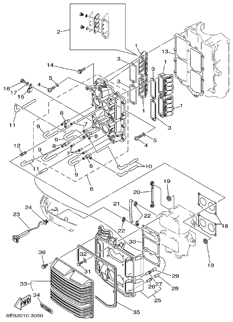
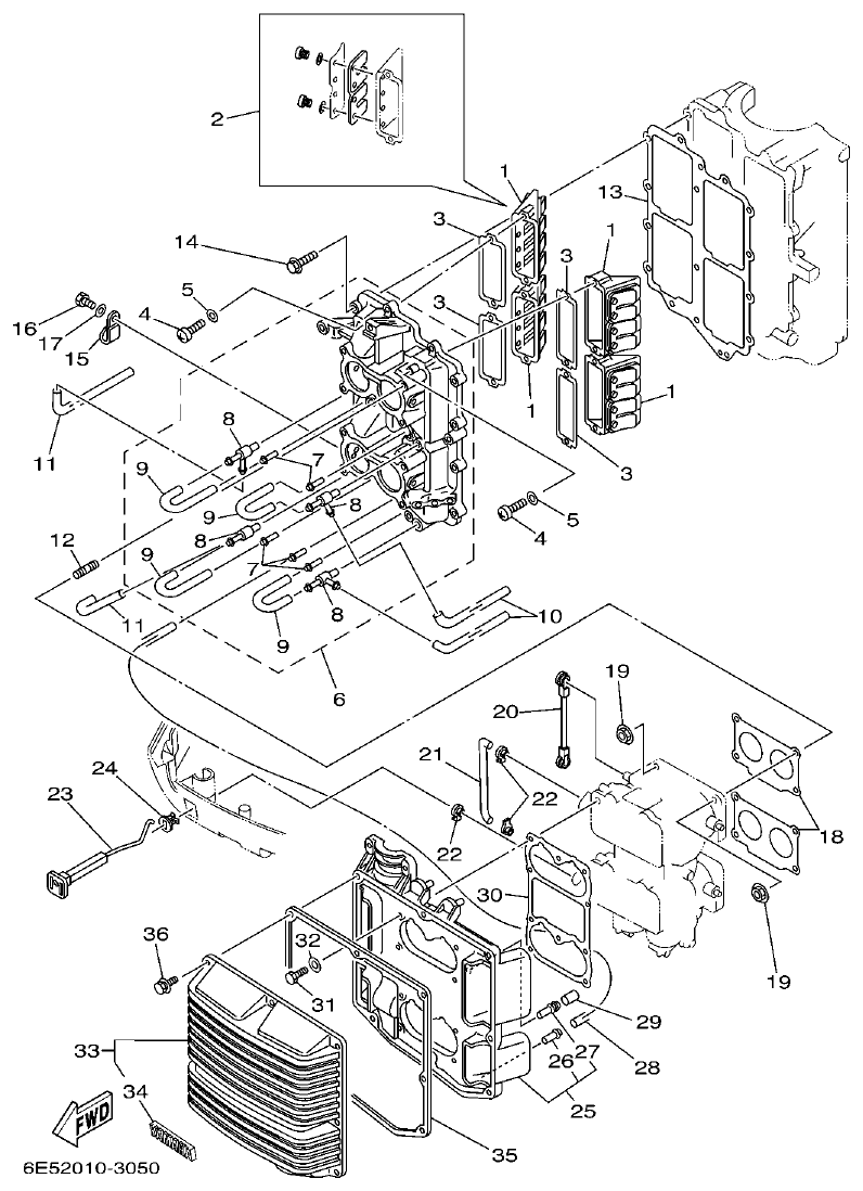
Yamaha E115A INTAKE 1 parts diagram
Fig. 6 — INTAKE 1
43 items · 7 available products
Yamaha E115A INTAKE 2 parts diagram
Fig. 7 — INTAKE 2
36 items · 9 available products
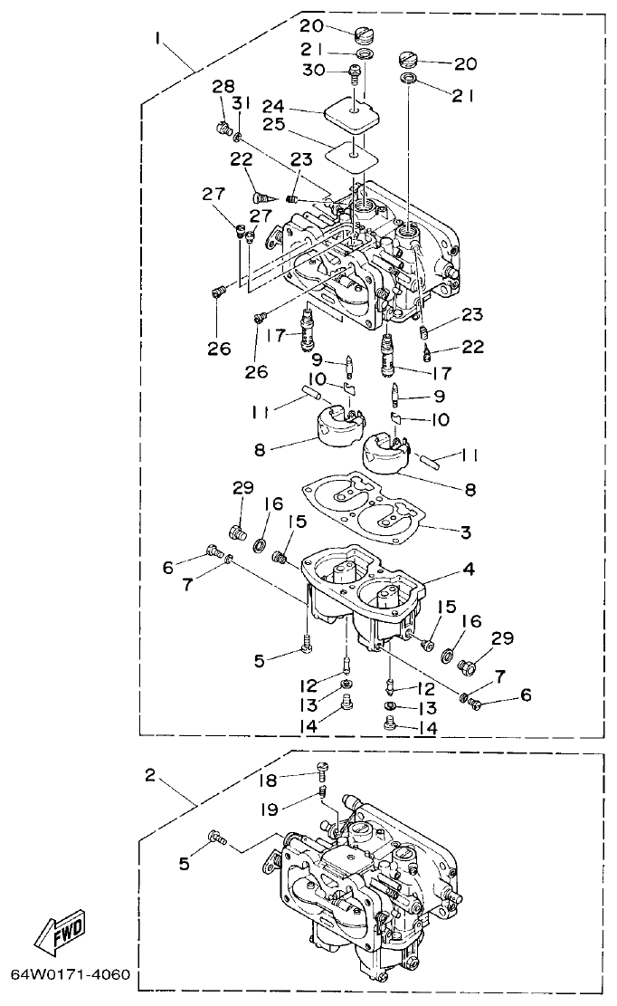
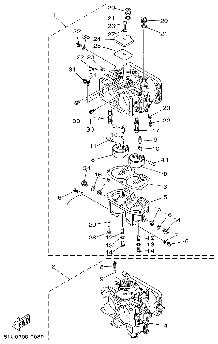
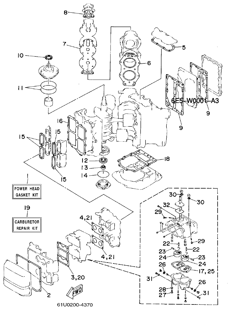
Yamaha E115A CARBURETOR 1 parts diagram
Fig. 8 — CARBURETOR 1
34 items · 7 available products
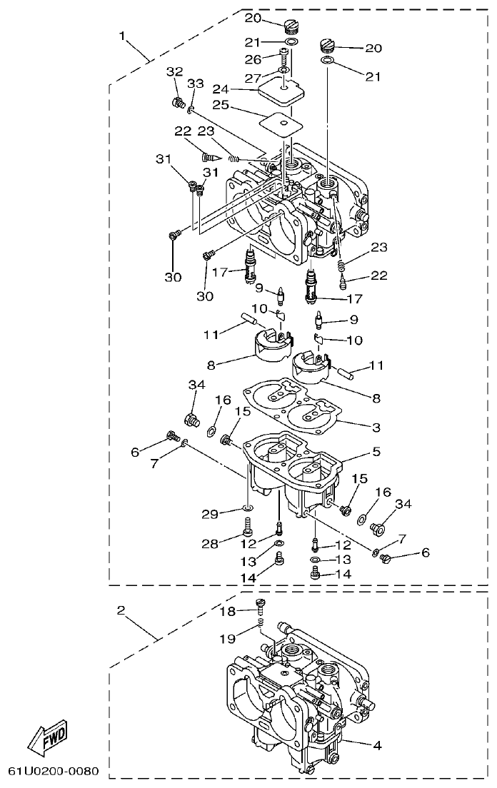
Yamaha E115A CARBURETOR 2 parts diagram
Fig. 9 — CARBURETOR 2
31 items · 8 available products
Yamaha E115A FUEL 1 parts diagram
Fig. 10 — FUEL 1
49 items · 10 available products
Yamaha E115A FUEL 2 parts diagram
Fig. 11 — FUEL 2
50 items
Yamaha E115A FUEL 3 parts diagram
Fig. 12 — FUEL 3
9 items · 2 available products
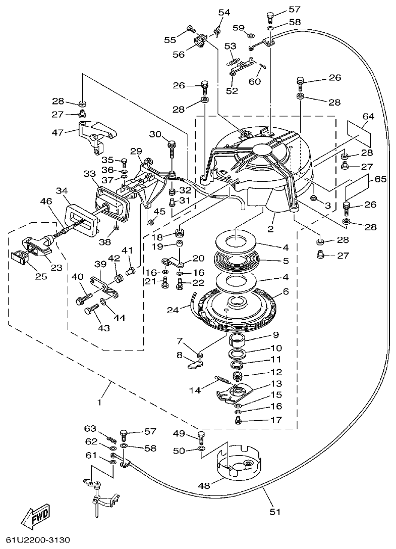
Yamaha E115A STARTER parts diagram
Fig. 13 — STARTER
64 items · 4 available products
Yamaha E115A GENERATOR parts diagram
Fig. 14 — GENERATOR
21 items · 2 available products
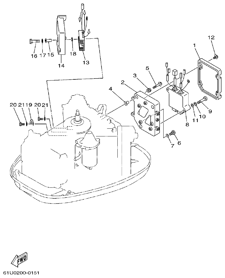
Yamaha E115A ELECTRICAL 1 parts diagram
Fig. 15 — ELECTRICAL 1
21 items · 1 available products
Yamaha E115A ELECTRICAL 2 parts diagram
Fig. 16 — ELECTRICAL 2
46 items · 10 available products
Yamaha E115A ELECTRICAL 3 parts diagram
Fig. 17 — ELECTRICAL 3
19 items · 2 available products
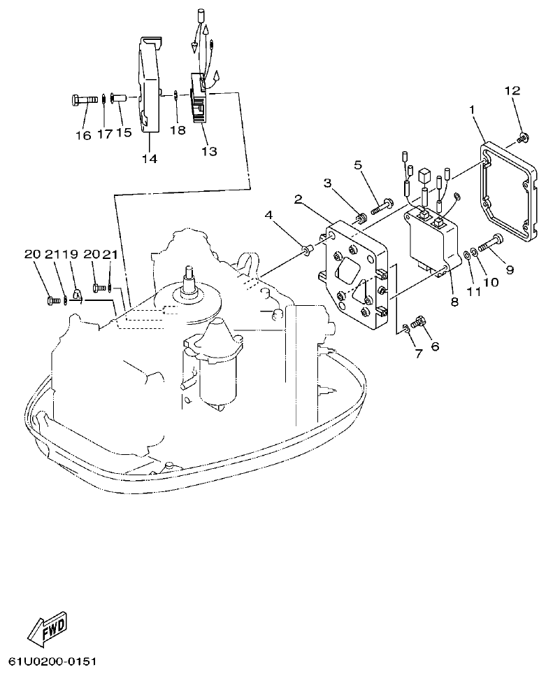
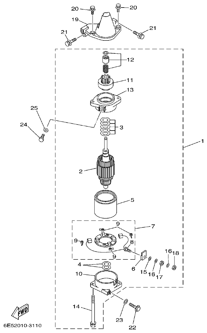
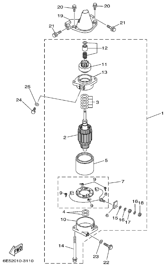
Yamaha E115A STARTING MOTOR parts diagram
Fig. 18 — STARTING MOTOR
25 items · 8 available products
Yamaha E115A BOTTOM COWLING parts diagram
Fig. 19 — BOTTOM COWLING
52 items · 5 available products
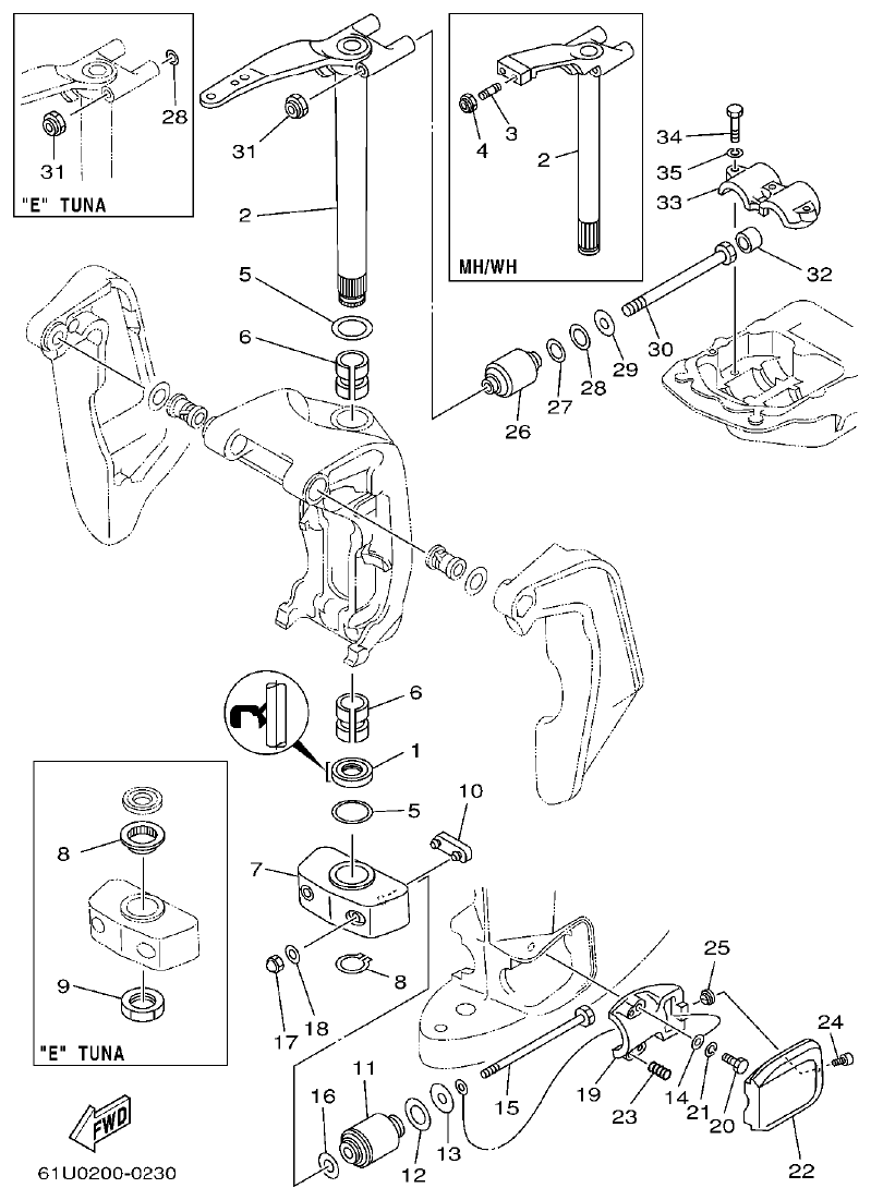
Yamaha E115A STEERING parts diagram
Fig. 20 — STEERING
63 items · 9 available products
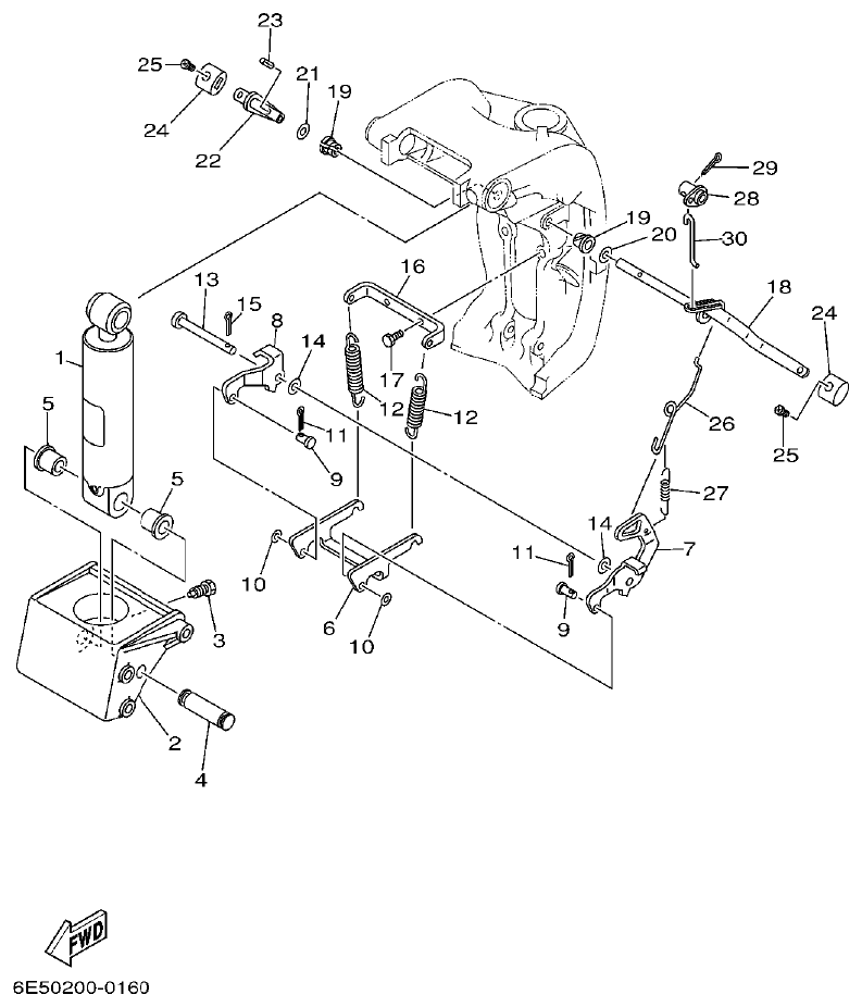
Yamaha E115A CONTROL parts diagram
Fig. 21 — CONTROL
59 items · 7 available products
Yamaha E115A BRACKET 1 parts diagram
Fig. 22 — BRACKET 1
55 items · 8 available products
Yamaha E115A BRACKET 2 parts diagram
Fig. 23 — BRACKET 2
51 items · 4 available products
Yamaha E115A BRACKET 3 parts diagram
Fig. 24 — BRACKET 3
30 items
Yamaha E115A BRACKET 4 parts diagram
Fig. 25 — BRACKET 4
49 items · 10 available products
Yamaha E115A BRACKET 5 parts diagram
Fig. 26 — BRACKET 5
57 items · 5 available products
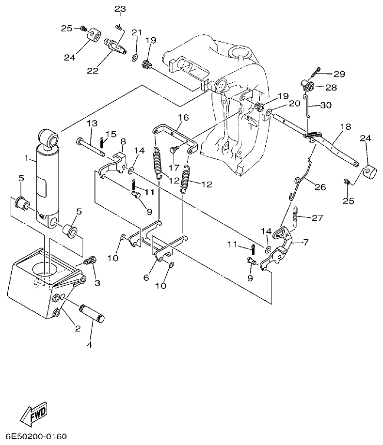
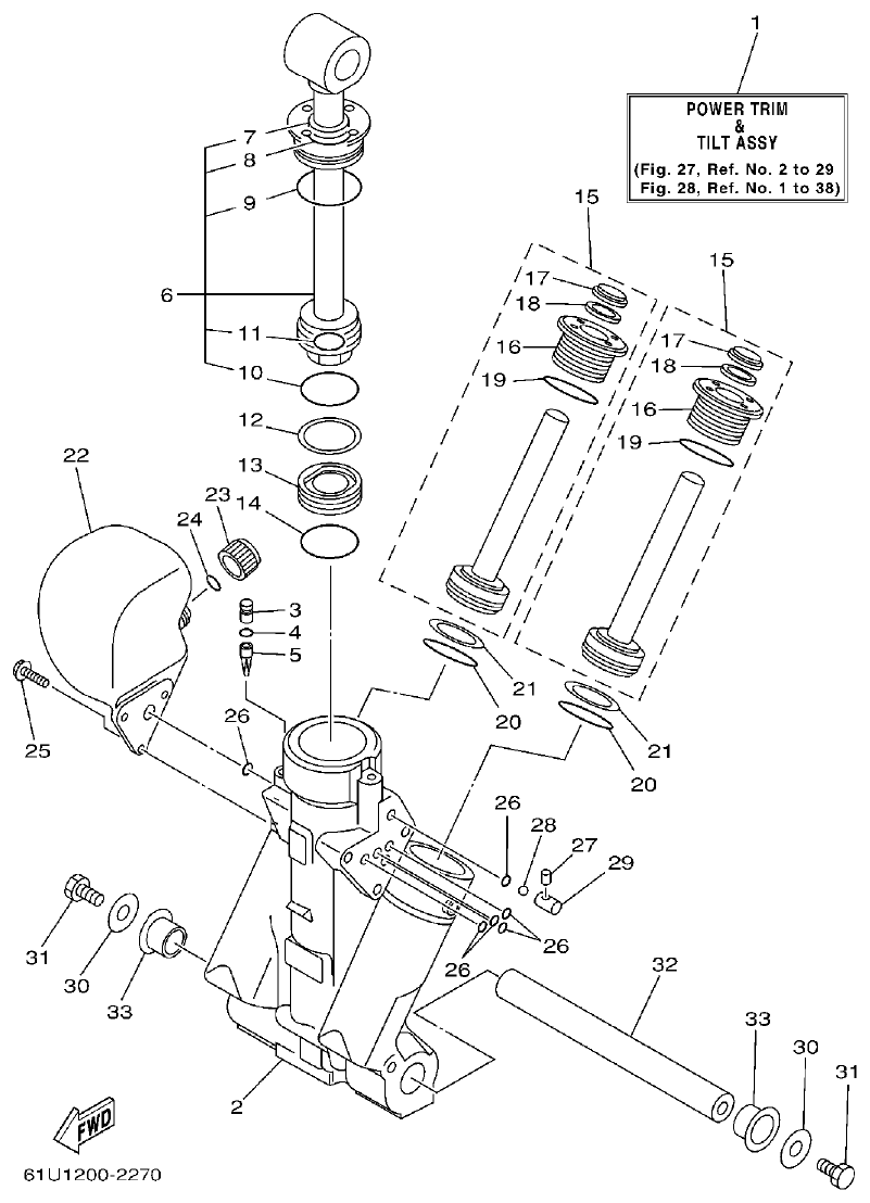
Yamaha E115A POWER TRIM & TILT ASSY 1 parts diagram
Fig. 27 — POWER TRIM & TILT ASSY 1
33 items · 8 available products
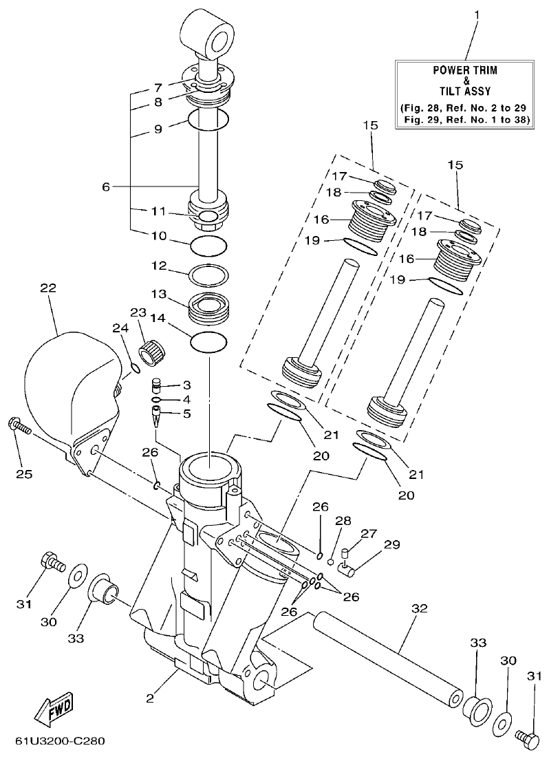
Yamaha E115A POWER TRIM & TILT ASSY 2 parts diagram
Fig. 28 — POWER TRIM & TILT ASSY 2
38 items · 9 available products
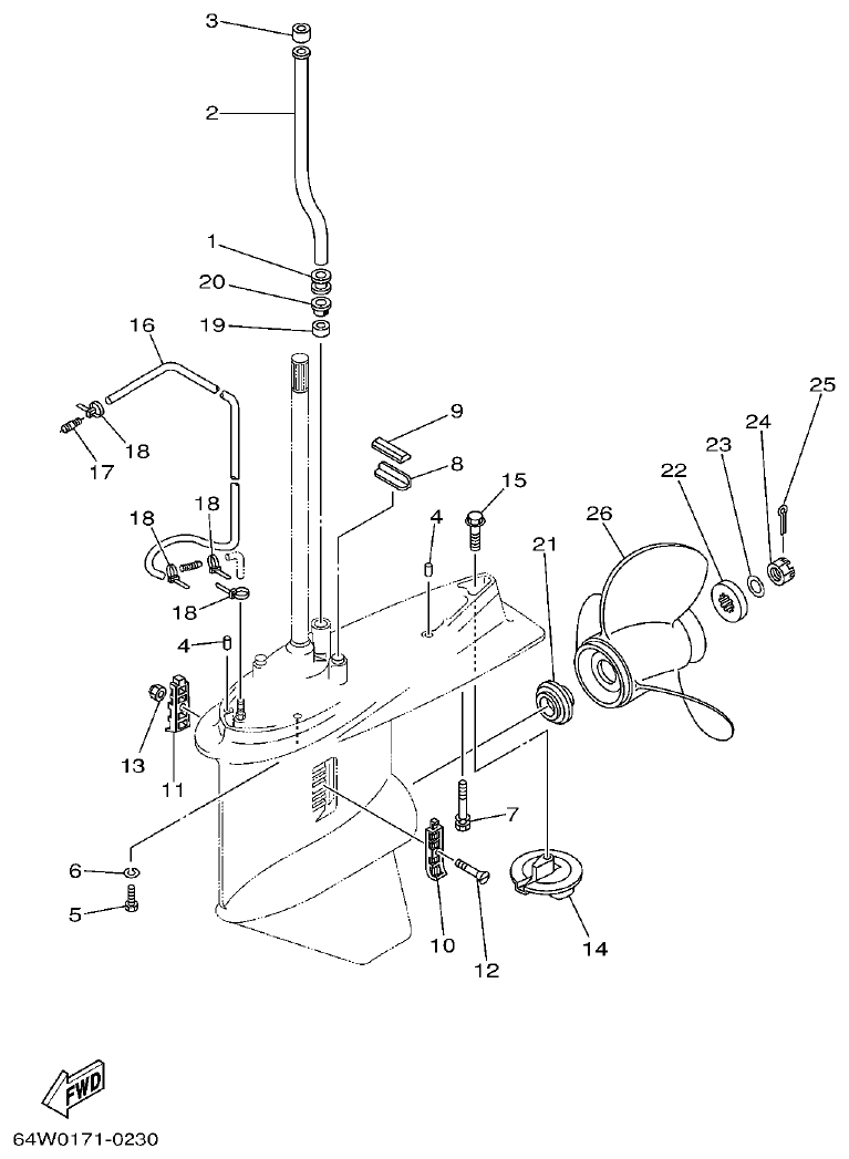
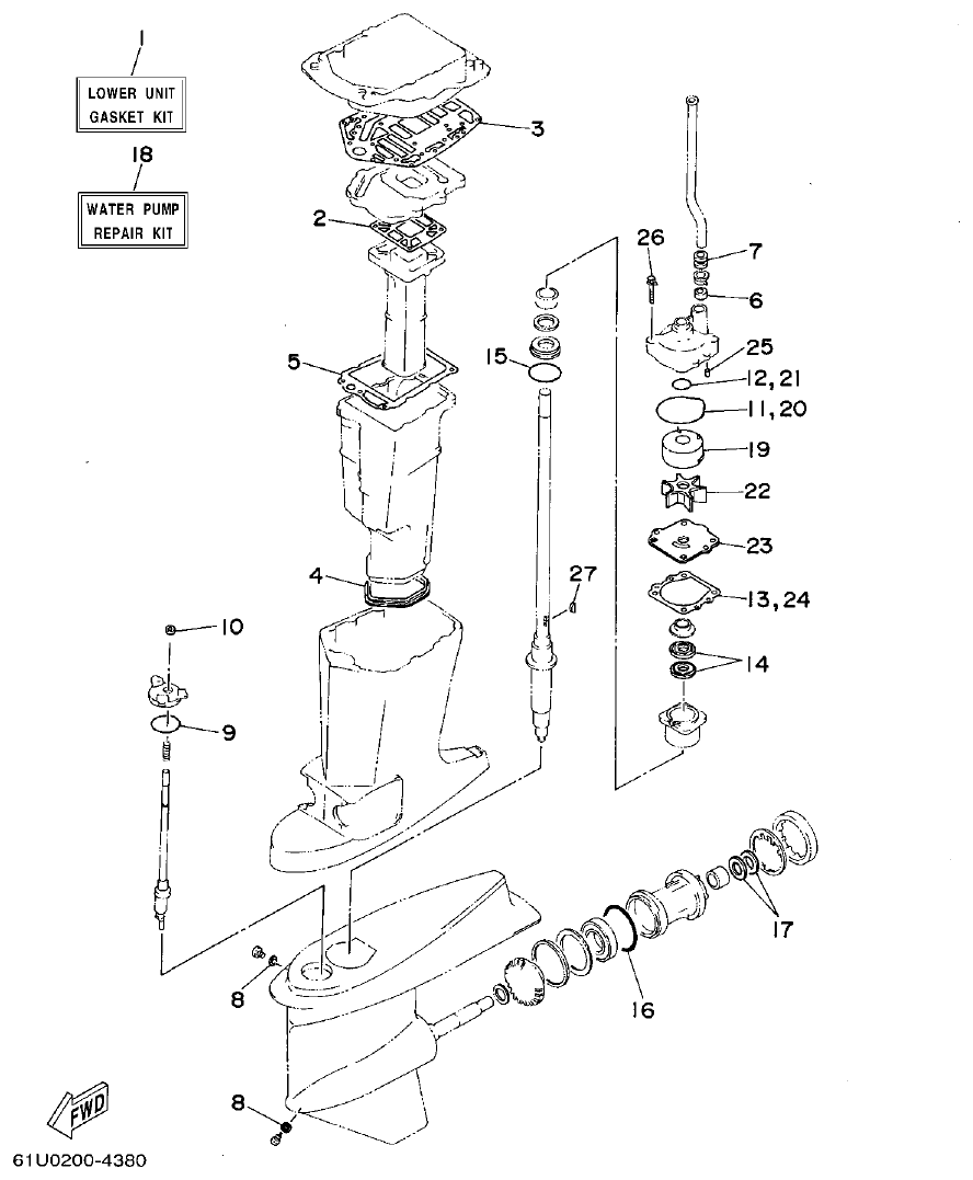
Yamaha E115A UPPER CASING parts diagram
Fig. 29 — UPPER CASING
42 items · 9 available products
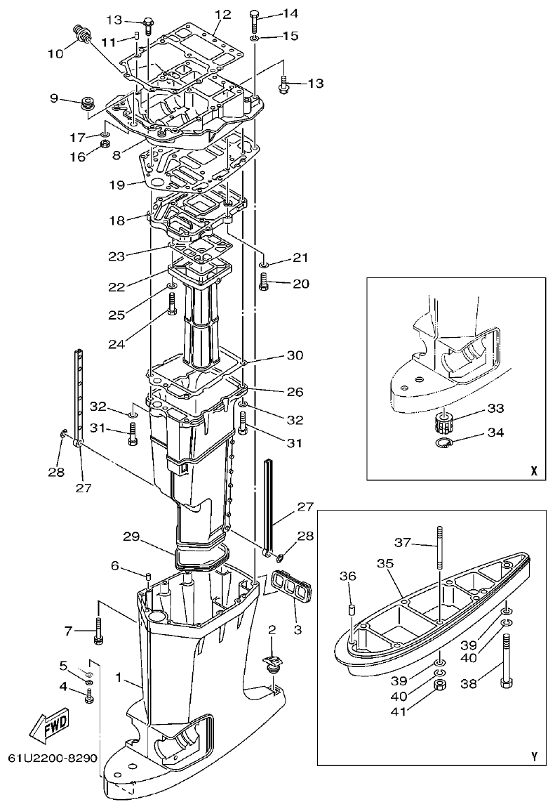
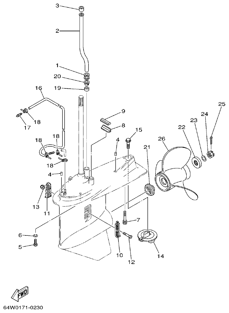
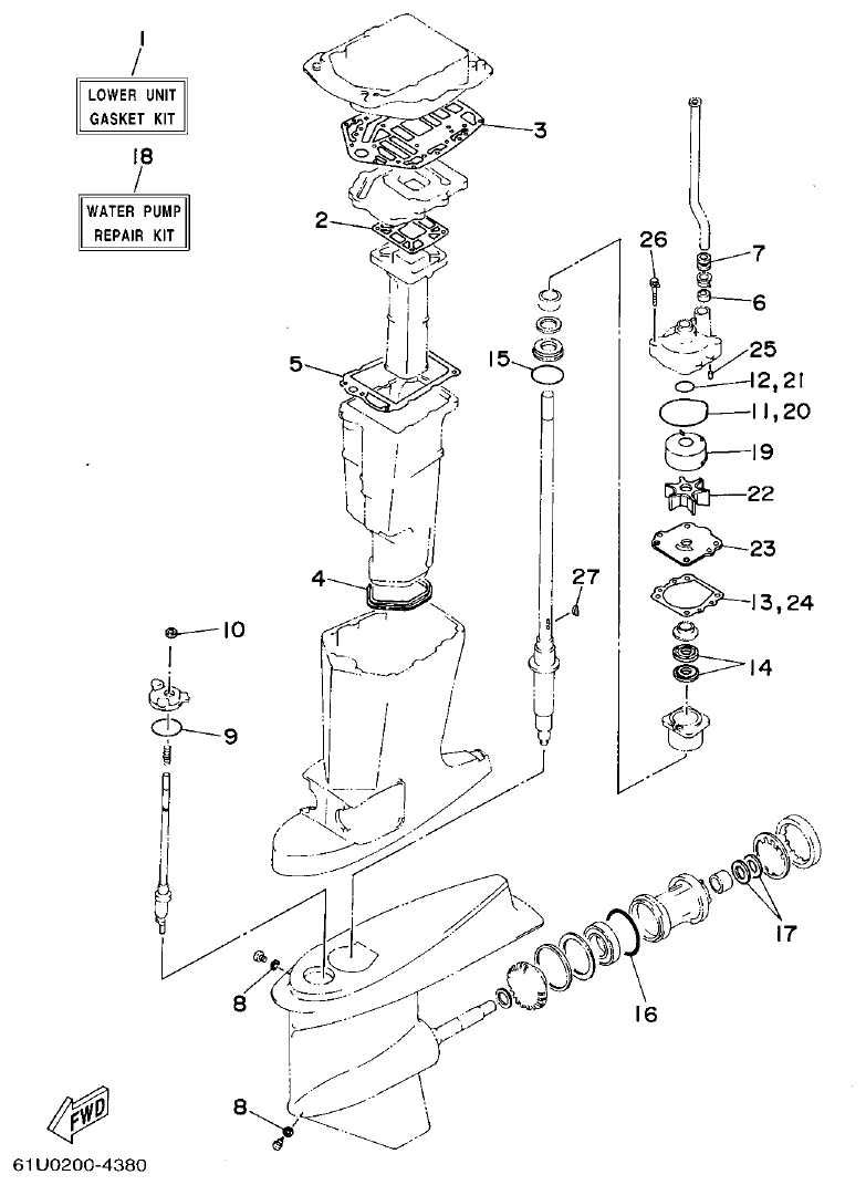
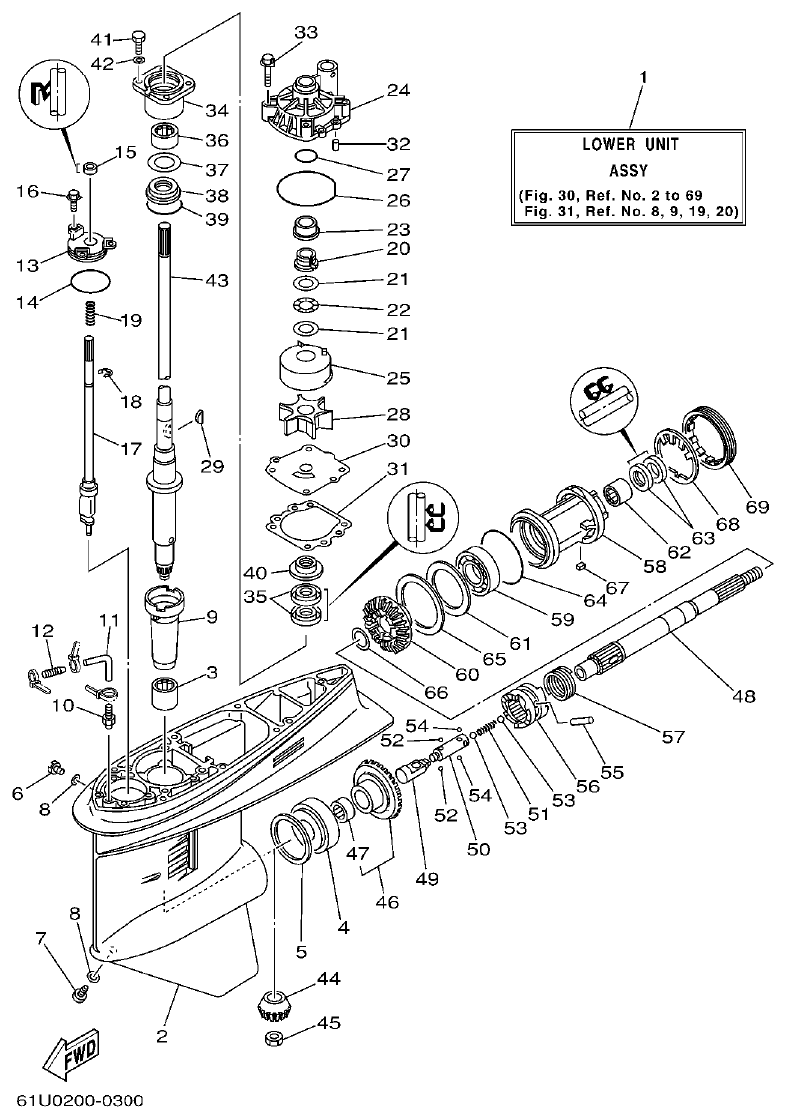
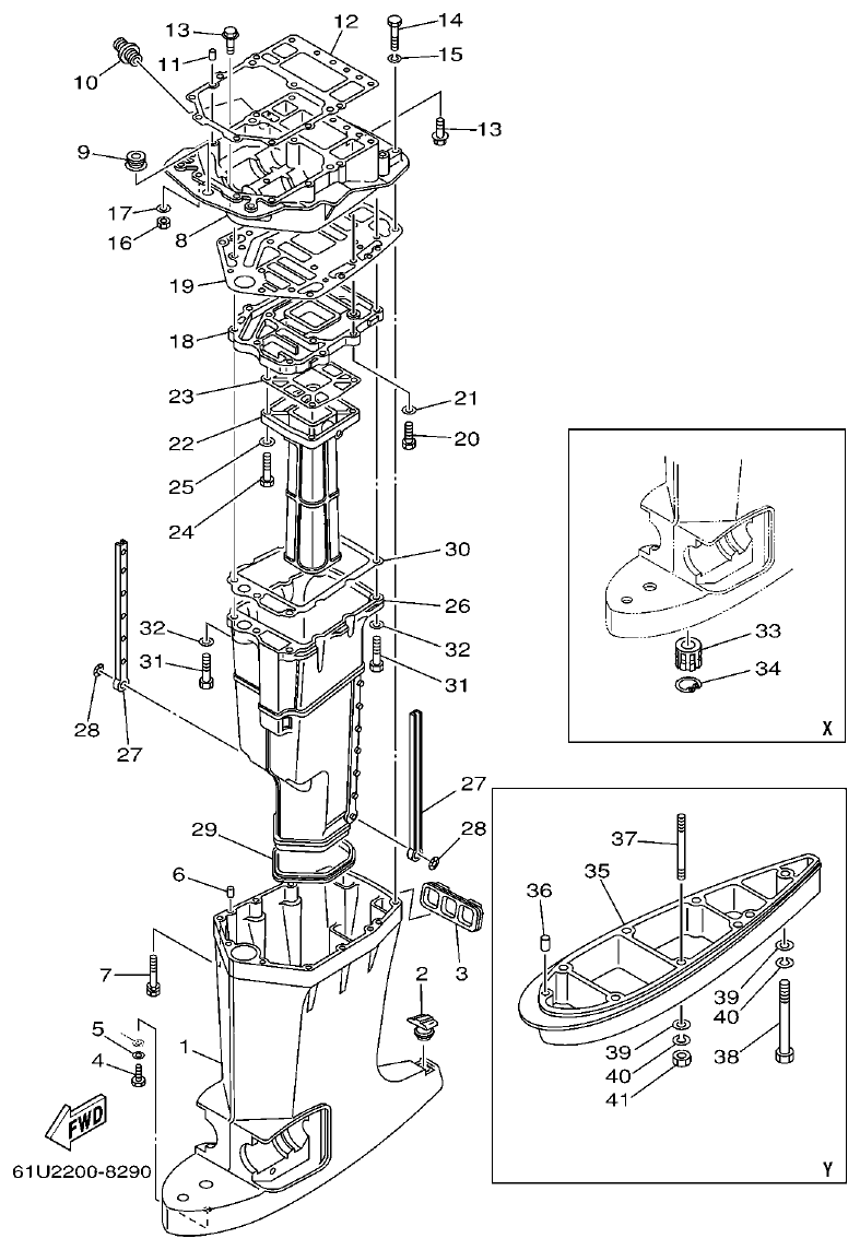
Yamaha E115A LOWER CASING. DRIVE 1 parts diagram
Fig. 30 — LOWER CASING. DRIVE 1
93 items · 20 available products
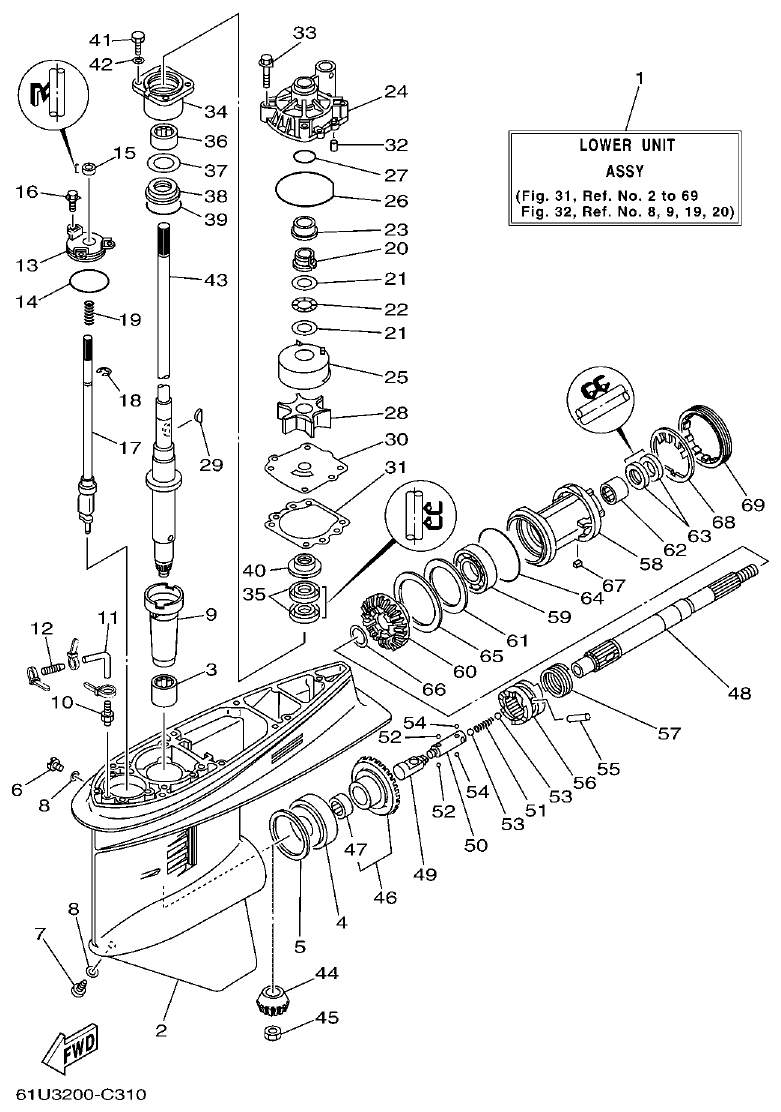
Yamaha E115A LOWER CASING. DRIVE 2 parts diagram
Fig. 31 — LOWER CASING. DRIVE 2
34 items · 13 available products
Yamaha E115A FUEL TANK parts diagram
Fig. 32 — FUEL TANK
18 items · 1 available products
Yamaha E115A STEERING GUIDE parts diagram
Fig. 33 — STEERING GUIDE
9 items · 2 available products
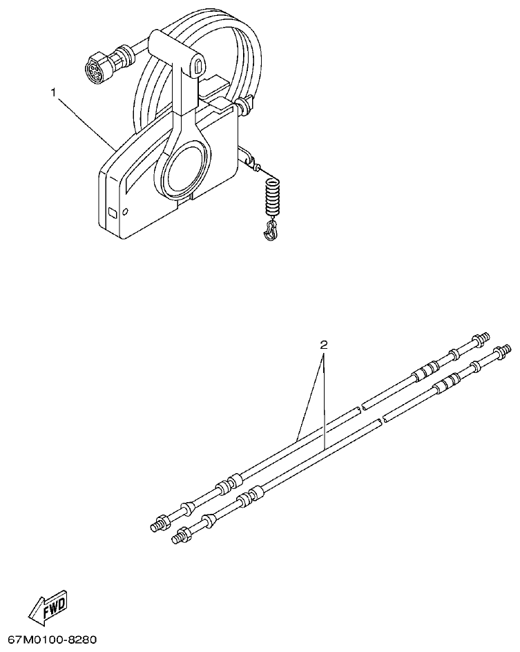
Yamaha E115A REMOTE CONTROL BOX parts diagram
Fig. 34 — REMOTE CONTROL BOX
6 items · 1 available products
Yamaha E115A REMOTE CONTROL ASSY parts diagram
Fig. 35 — REMOTE CONTROL ASSY
65 items · 12 available products
Yamaha E115A METER parts diagram
Fig. 36 — METER
16 items · 1 available products
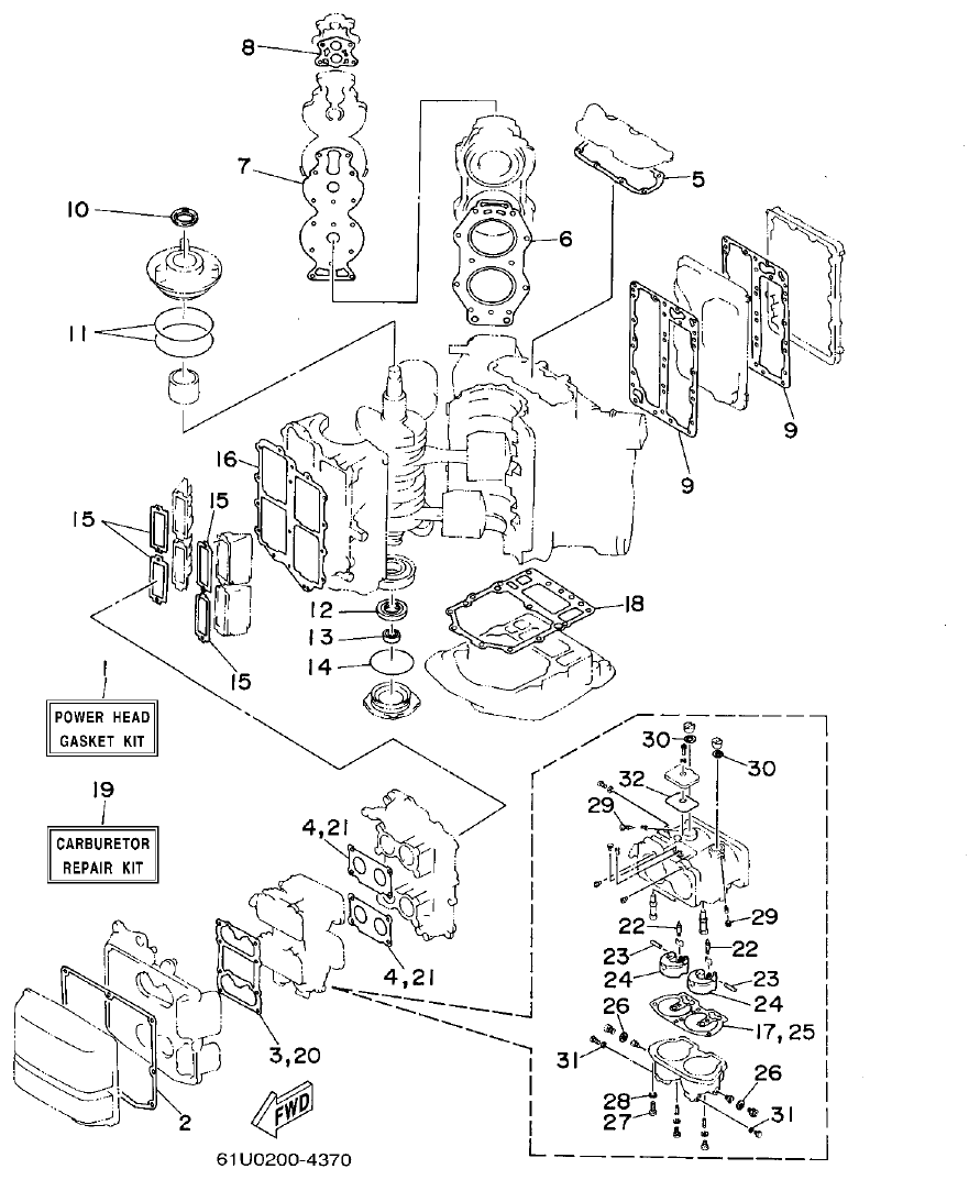
Yamaha E115A REPAIR KIT 1 parts diagram
Fig. 37 — REPAIR KIT 1
32 items · 15 available products
Yamaha E115A REPAIR KIT 2 parts diagram
Fig. 38 — REPAIR KIT 2
27 items · 8 available products
Yamaha E115A TOP COWLING 1 parts diagram
Fig. 1 — TOP COWLING 1
24 items · 1 available products
Yamaha E115A TOP COWLING 2 parts diagram
Fig. 2 — TOP COWLING 2
24 items · 1 available products
Yamaha E115A CYLINDER & CRANKCASE 1 parts diagram
Fig. 3 — CYLINDER & CRANKCASE 1
28 items · 7 available products
Yamaha E115A CRANKSHAFT & PISTON parts diagram
Fig. 4 — CRANKSHAFT & PISTON
34 items · 16 available products
Yamaha E115A CYLINDER & CRANKCASE 2 parts diagram
Fig. 5 — CYLINDER & CRANKCASE 2
27 items · 10 available products
Yamaha E115A INTAKE 1 parts diagram
Fig. 6 — INTAKE 1
43 items · 7 available products
Yamaha E115A INTAKE 2 parts diagram
Fig. 7 — INTAKE 2
36 items · 9 available products
Yamaha E115A CARBURETOR 1 parts diagram
Fig. 8 — CARBURETOR 1
34 items · 7 available products
Yamaha E115A CARBURETOR 2 parts diagram
Fig. 9 — CARBURETOR 2
35 items · 9 available products
Yamaha E115A FUEL 1 parts diagram
Fig. 10 — FUEL 1
50 items · 10 available products
Yamaha E115A FUEL 2 parts diagram
Fig. 11 — FUEL 2
50 items
Yamaha E115A FUEL 3 parts diagram
Fig. 12 — FUEL 3
9 items · 2 available products
Yamaha E115A STARTER parts diagram
Fig. 13 — STARTER
64 items · 4 available products
Yamaha E115A GENERATOR parts diagram
Fig. 14 — GENERATOR
22 items · 2 available products
Yamaha E115A ELECTRICAL 1 parts diagram
Fig. 15 — ELECTRICAL 1
21 items · 1 available products
Yamaha E115A ELECTRICAL 2 parts diagram
Fig. 16 — ELECTRICAL 2
48 items · 11 available products
Yamaha E115A ELECTRICAL 3 parts diagram
Fig. 17 — ELECTRICAL 3
18 items · 1 available products
Yamaha E115A ELECTRICAL 4 parts diagram
Fig. 18 — ELECTRICAL 4
8 items
Yamaha E115A STARTING MOTOR parts diagram
Fig. 19 — STARTING MOTOR
25 items · 8 available products
Yamaha E115A BOTTOM COWLING parts diagram
Fig. 20 — BOTTOM COWLING
52 items · 5 available products
Yamaha E115A STEERING parts diagram
Fig. 21 — STEERING
64 items · 9 available products
Yamaha E115A CONTROL parts diagram
Fig. 22 — CONTROL
59 items · 7 available products
Yamaha E115A BRACKET 1 parts diagram
Fig. 23 — BRACKET 1
54 items · 7 available products
Yamaha E115A BRACKET 2 parts diagram
Fig. 24 — BRACKET 2
51 items · 4 available products
Yamaha E115A BRACKET 3 parts diagram
Fig. 25 — BRACKET 3
30 items
Yamaha E115A BRACKET 4 parts diagram
Fig. 26 — BRACKET 4
48 items · 9 available products
Yamaha E115A BRACKET 5 parts diagram
Fig. 27 — BRACKET 5
57 items · 5 available products
Yamaha E115A POWER TRIM & TILT ASSY 1 parts diagram
Fig. 28 — POWER TRIM & TILT ASSY 1
33 items · 8 available products
Yamaha E115A POWER TRIM & TILT ASSY 2 parts diagram
Fig. 29 — POWER TRIM & TILT ASSY 2
38 items · 9 available products
Yamaha E115A UPPER CASING parts diagram
Fig. 30 — UPPER CASING
45 items · 9 available products
Yamaha E115A LOWER CASING & DRIVE 1 parts diagram
Fig. 31 — LOWER CASING & DRIVE 1
93 items · 20 available products
Yamaha E115A LOWER CASING & DRIVE 2 parts diagram
Fig. 32 — LOWER CASING & DRIVE 2
35 items · 14 available products
Yamaha E115A FUEL TANK parts diagram
Fig. 33 — FUEL TANK
18 items · 2 available products
Yamaha E115A STEERING GUIDE parts diagram
Fig. 34 — STEERING GUIDE
9 items · 2 available products
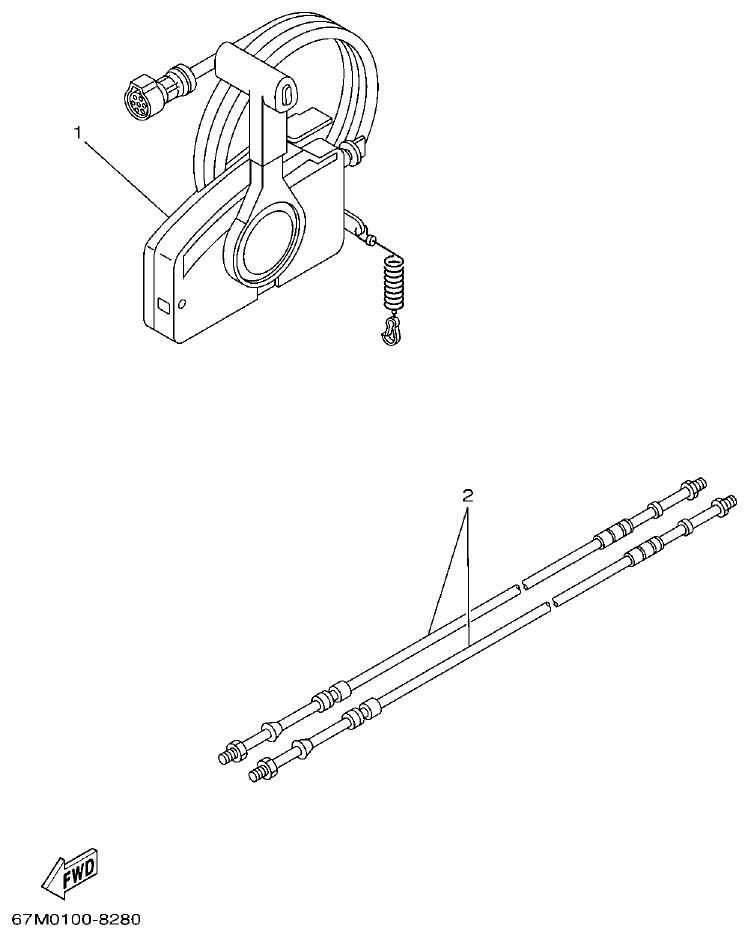
Yamaha E115A REMOTE CONTROL BOX parts diagram
Fig. 35 — REMOTE CONTROL BOX
7 items · 1 available products
Yamaha E115A REMOTE CONTROL ASSY parts diagram
Fig. 36 — REMOTE CONTROL ASSY
65 items · 12 available products
Yamaha E115A METER parts diagram
Fig. 37 — METER
16 items · 1 available products
Yamaha E115A REPAIR KIT 1 parts diagram
Fig. 38 — REPAIR KIT 1
33 items · 15 available products
Yamaha E115A REPAIR KIT 2 parts diagram
Fig. 39 — REPAIR KIT 2
27 items · 8 available products