Catalogs / Yamaha / Outboard

Yamaha E25B, E30H, 25B, 30H Parts Catalog

Browse 31 catalog sections for Yamaha E25B, E30H, 25B, 30H. Open a section to view the parts diagram, reference numbers and available products.

Yamaha E25B, E30H, 25B, 30H TOP COWLING parts diagram
Fig. 1 — TOP COWLING
25 items
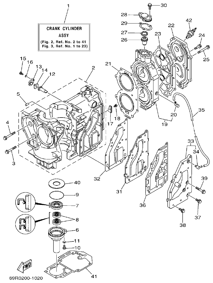
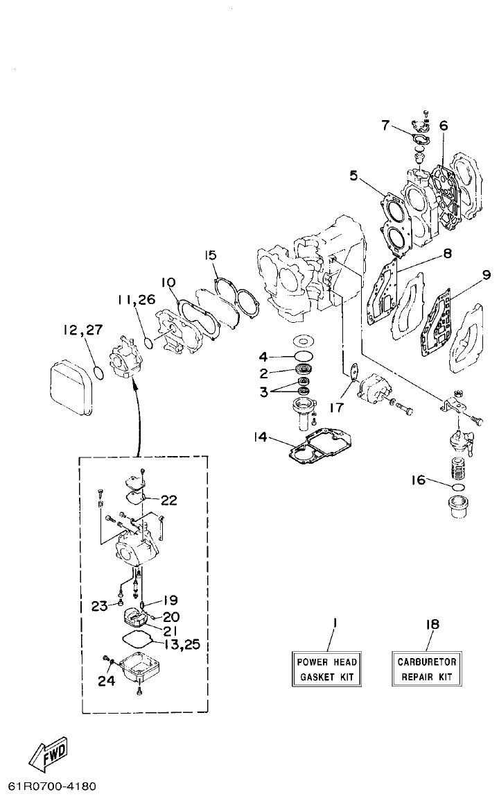
Yamaha E25B, E30H, 25B, 30H CYLINDER & CRANKCASE parts diagram
Fig. 2 — CYLINDER & CRANKCASE
47 items · 7 available products
Yamaha E25B, E30H, 25B, 30H CRANKSHAFT & PISTON parts diagram
Fig. 3 — CRANKSHAFT & PISTON
27 items · 11 available products
Yamaha E25B, E30H, 25B, 30H INTAKE parts diagram
Fig. 4 — INTAKE
27 items · 6 available products
Yamaha E25B, E30H, 25B, 30H CARBURETOR parts diagram
Fig. 5 — CARBURETOR
30 items · 2 available products
Yamaha E25B, E30H, 25B, 30H FUEL parts diagram
Fig. 6 — FUEL
34 items · 6 available products
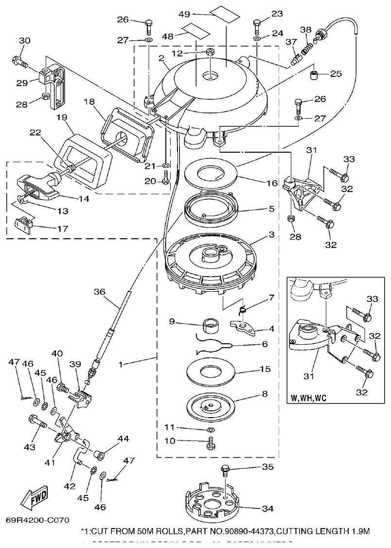
Yamaha E25B, E30H, 25B, 30H STARTER parts diagram
Fig. 7 — STARTER
51 items · 6 available products
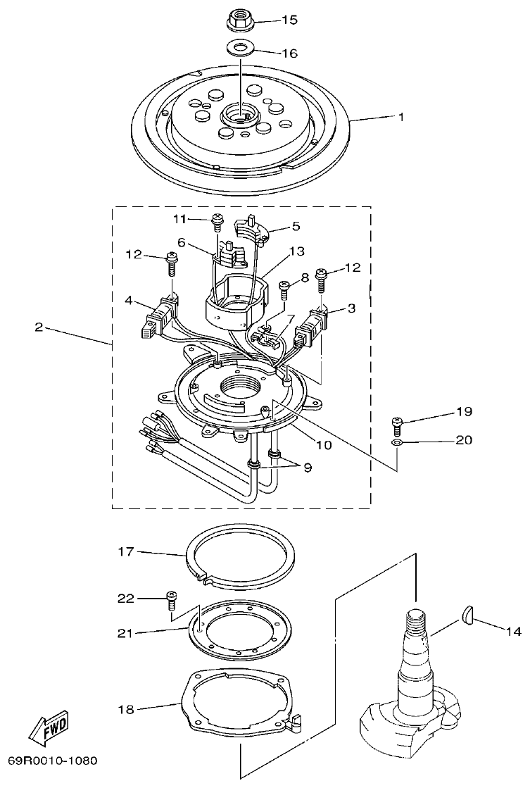
Yamaha E25B, E30H, 25B, 30H GENERATOR parts diagram
Fig. 8 — GENERATOR
23 items · 4 available products
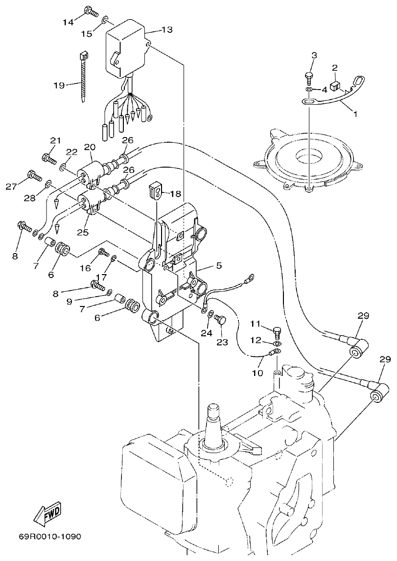
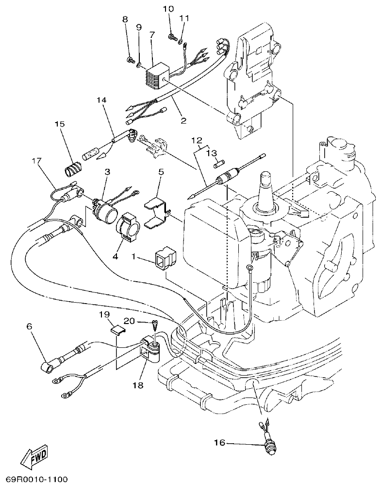
Yamaha E25B, E30H, 25B, 30H ELECTRICAL 1 parts diagram
Fig. 9 — ELECTRICAL 1
34 items · 6 available products
Yamaha E25B, E30H, 25B, 30H ELECTRICAL 2 parts diagram
Fig. 10 — ELECTRICAL 2
20 items · 2 available products
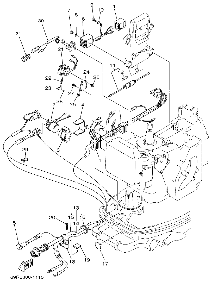
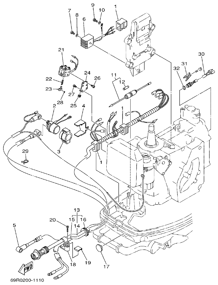
Yamaha E25B, E30H, 25B, 30H ELECTRICAL 3 parts diagram
Fig. 11 — ELECTRICAL 3
32 items · 2 available products
Yamaha E25B, E30H, 25B, 30H ELECTRICAL 4 parts diagram
Fig. 12 — ELECTRICAL 4
31 items · 2 available products
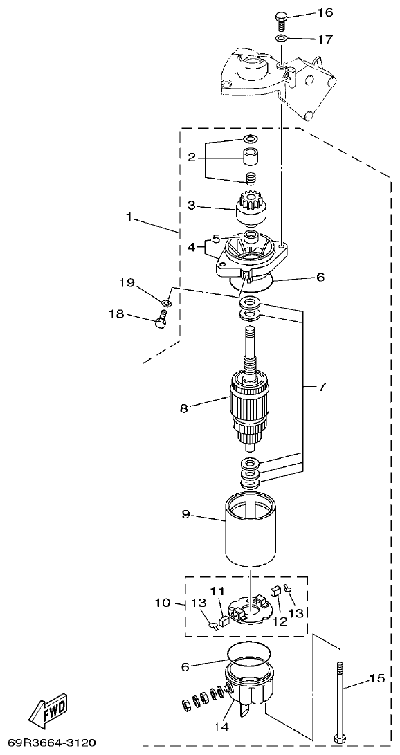
Yamaha E25B, E30H, 25B, 30H STARTING MOTOR parts diagram
Fig. 13 — STARTING MOTOR
19 items · 4 available products
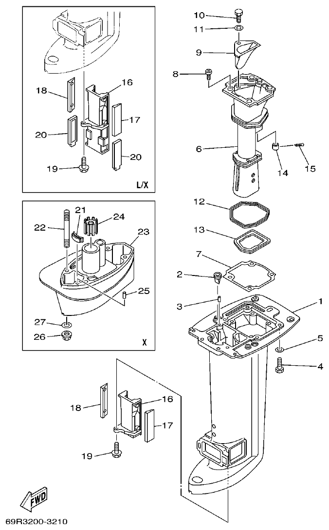
Yamaha E25B, E30H, 25B, 30H BOTTOM COWLING parts diagram
Fig. 14 — BOTTOM COWLING
29 items · 4 available products
Yamaha E25B, E30H, 25B, 30H STEERING parts diagram
Fig. 15 — STEERING
25 items · 2 available products
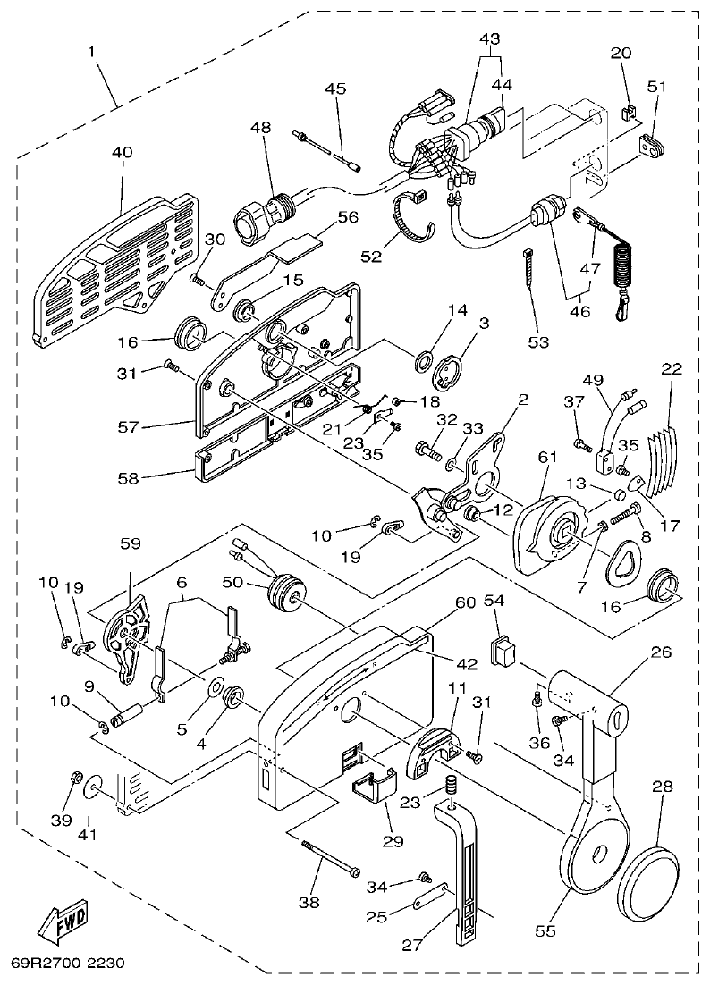
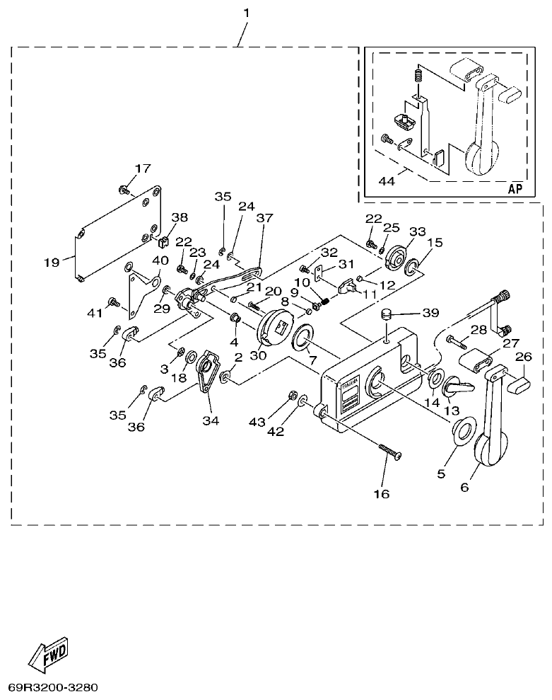
Yamaha E25B, E30H, 25B, 30H CONTROL 1 parts diagram
Fig. 16 — CONTROL 1
48 items · 7 available products
Yamaha E25B, E30H, 25B, 30H CONTROL 2 parts diagram
Fig. 17 — CONTROL 2
26 items
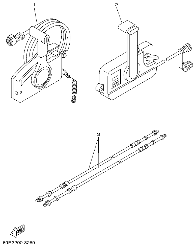
Yamaha E25B, E30H, 25B, 30H REMO CON ATTACHMENT parts diagram
Fig. 18 — REMO CON ATTACHMENT
26 items
Yamaha E25B, E30H, 25B, 30H BRACKET 1 parts diagram
Fig. 19 — BRACKET 1
51 items · 11 available products
Yamaha E25B, E30H, 25B, 30H BRACKET 2 parts diagram
Fig. 20 — BRACKET 2
56 items · 3 available products
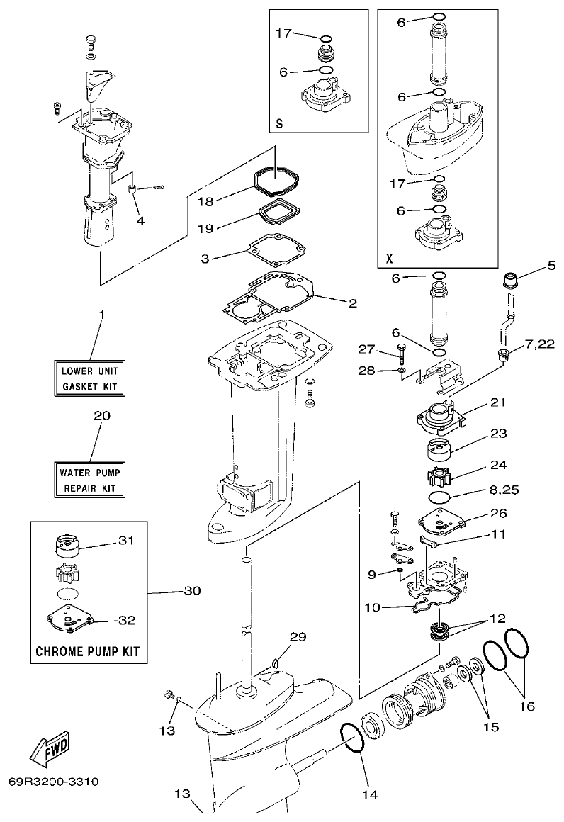
Yamaha E25B, E30H, 25B, 30H UPPER CASING parts diagram
Fig. 21 — UPPER CASING
30 items
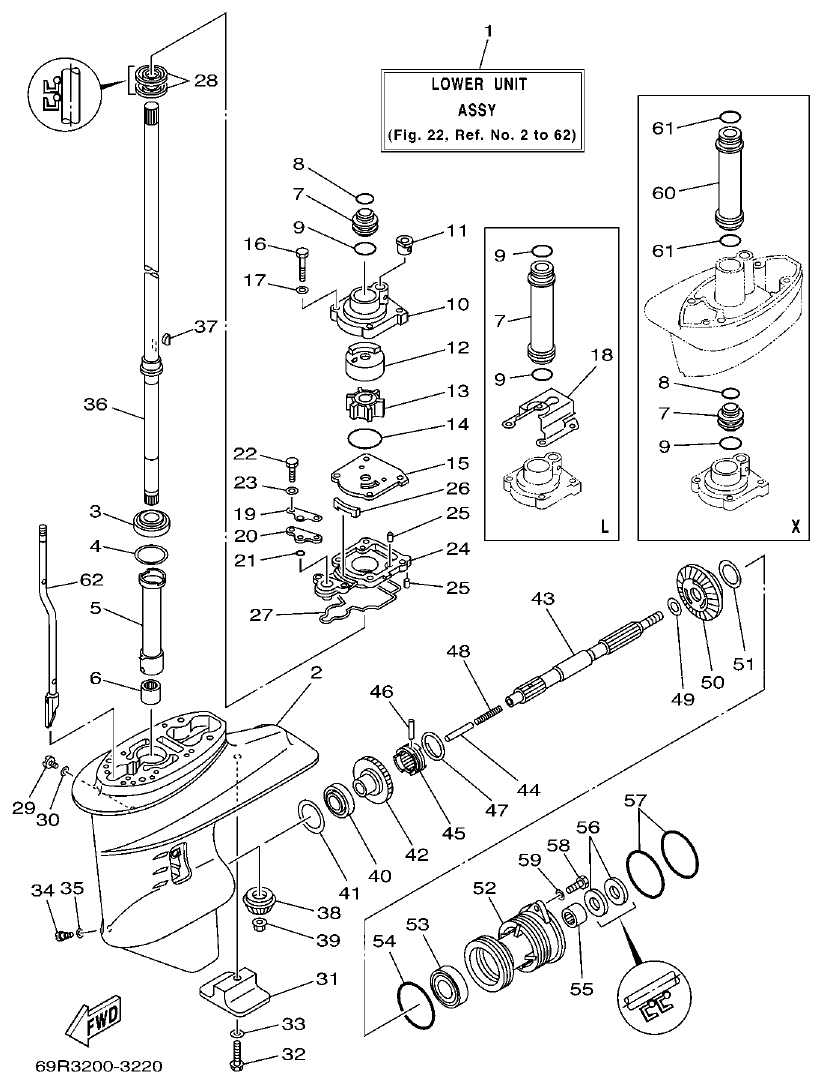
Yamaha E25B, E30H, 25B, 30H LOWER CASING & DRIVE 1 parts diagram
Fig. 22 — LOWER CASING & DRIVE 1
86 items · 16 available products
Yamaha E25B, E30H, 25B, 30H LOWER CASING & DRIVE 2 parts diagram
Fig. 23 — LOWER CASING & DRIVE 2
26 items · 6 available products
Yamaha E25B, E30H, 25B, 30H FUEL TANK parts diagram
Fig. 24 — FUEL TANK
18 items · 2 available products
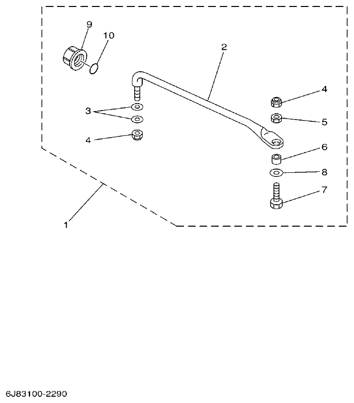
Yamaha E25B, E30H, 25B, 30H STEERING GUIDE parts diagram
Fig. 25 — STEERING GUIDE
10 items · 1 available products
Yamaha E25B, E30H, 25B, 30H REMOTE CONTROL BOX parts diagram
Fig. 26 — REMOTE CONTROL BOX
4 items
Yamaha E25B, E30H, 25B, 30H REMOTE CONTROL ASSY 1 parts diagram
Fig. 27 — REMOTE CONTROL ASSY 1
61 items · 10 available products
Yamaha E25B, E30H, 25B, 30H REMOTE CONTROL ASSY 2 parts diagram
Fig. 28 — REMOTE CONTROL ASSY 2
44 items · 1 available products
Yamaha E25B, E30H, 25B, 30H SWITCH & PANEL parts diagram
Fig. 29 — SWITCH & PANEL
12 items · 2 available products
Yamaha E25B, E30H, 25B, 30H REPAIR KIT 1 parts diagram
Fig. 30 — REPAIR KIT 1
27 items · 9 available products
Yamaha E25B, E30H, 25B, 30H REPAIR KIT 2 parts diagram
Fig. 31 — REPAIR KIT 2
32 items · 4 available products