Catalogs / Yamaha / Outboard

Yamaha E48C, E55C, 55B, E48CMH, E55CMH Parts Catalog

Browse 103 catalog sections for Yamaha E48C, E55C, 55B, E48CMH, E55CMH. Open a section to view the parts diagram, reference numbers and available products.

Yamaha E48C, E55C, 55B, E48CMH, E55CMH SCHEDULED SERVICE PARTS parts diagram
Fig. 1 — SCHEDULED SERVICE PARTS
17 items · 6 available products
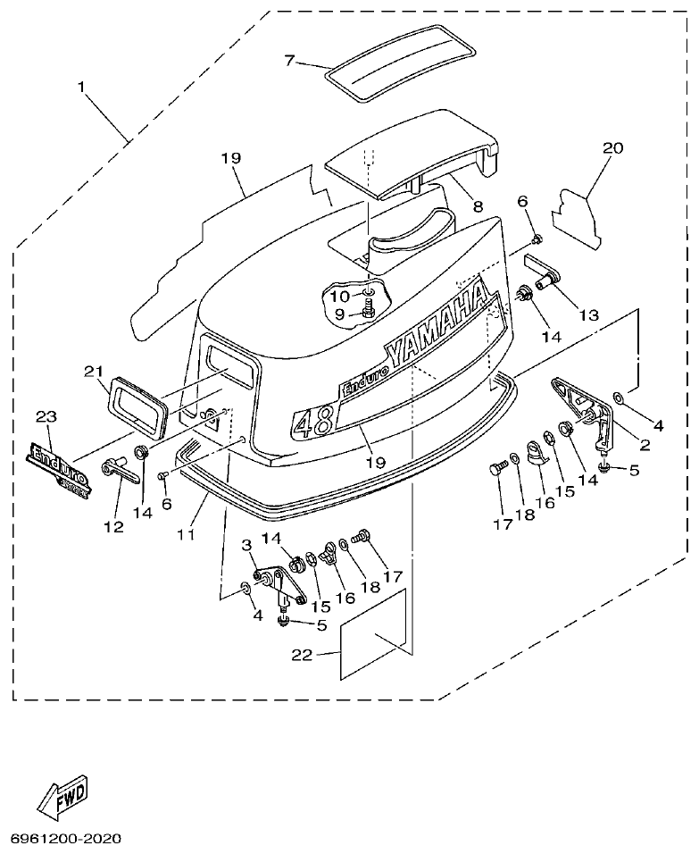
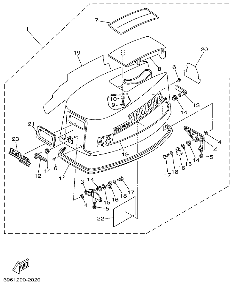
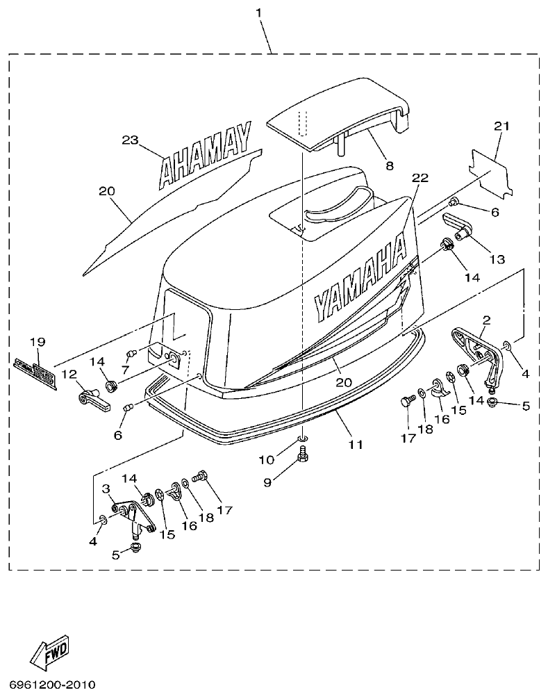
Yamaha E48C, E55C, 55B, E48CMH, E55CMH TOP COWLING 1 parts diagram
Fig. 2 — TOP COWLING 1
25 items · 2 available products
Yamaha E48C, E55C, 55B, E48CMH, E55CMH TOP COWLING 2 parts diagram
Fig. 3 — TOP COWLING 2
29 items · 2 available products
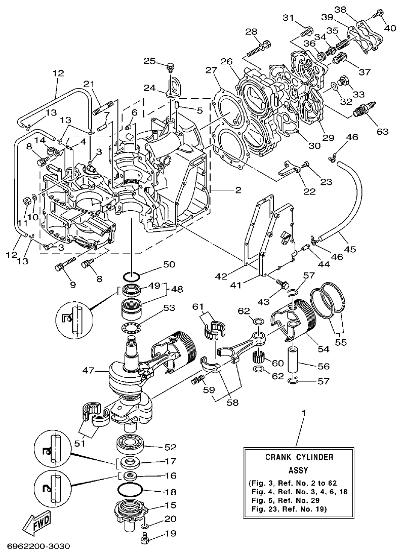
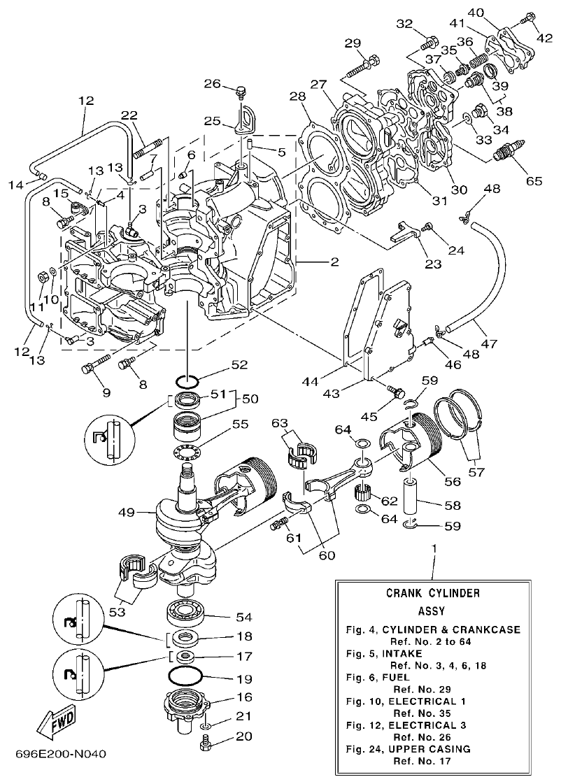
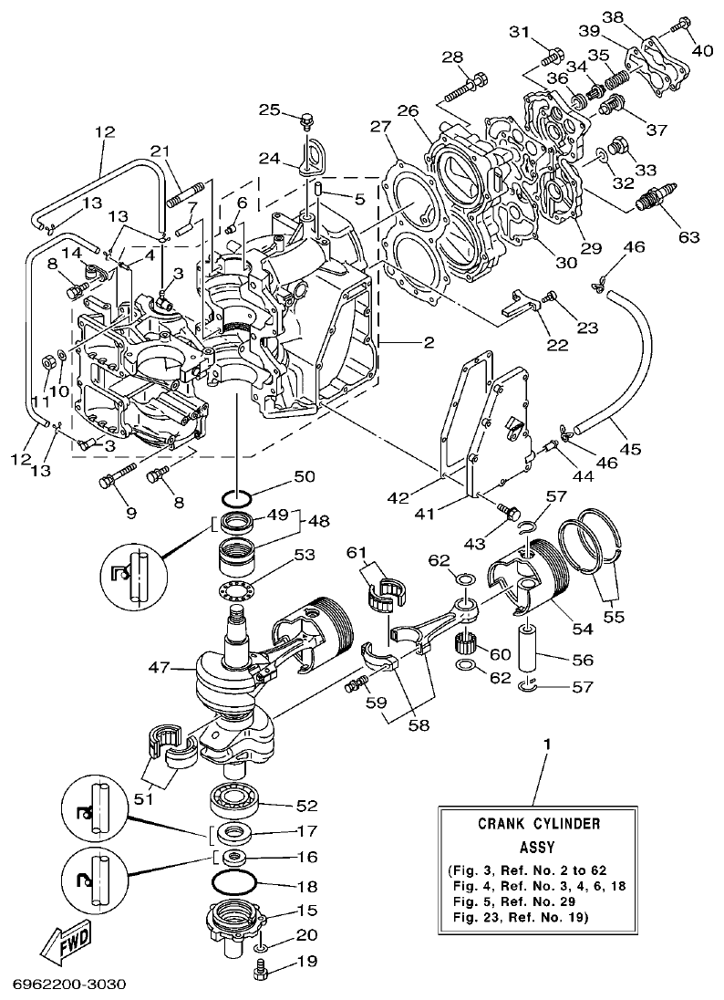
Yamaha E48C, E55C, 55B, E48CMH, E55CMH CYLINDER & CRANKCASE parts diagram
Fig. 4 — CYLINDER & CRANKCASE
79 items · 18 available products
Yamaha E48C, E55C, 55B, E48CMH, E55CMH INTAKE parts diagram
Fig. 5 — INTAKE
83 items · 13 available products
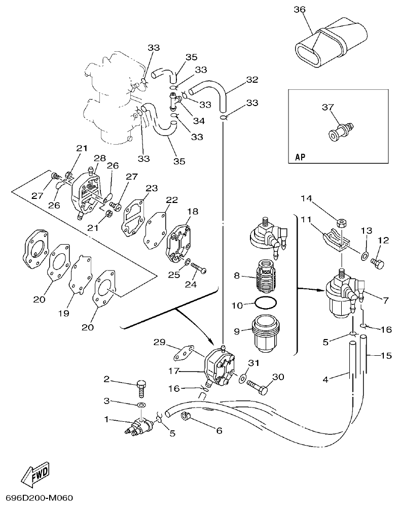
Yamaha E48C, E55C, 55B, E48CMH, E55CMH FUEL parts diagram
Fig. 6 — FUEL
37 items · 7 available products
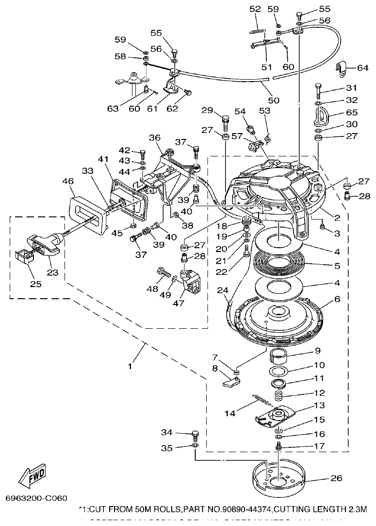
Yamaha E48C, E55C, 55B, E48CMH, E55CMH STARTER parts diagram
Fig. 7 — STARTER
64 items · 7 available products
Yamaha E48C, E55C, 55B, E48CMH, E55CMH GENERATOR 1 parts diagram
Fig. 8 — GENERATOR 1
23 items · 3 available products
Yamaha E48C, E55C, 55B, E48CMH, E55CMH GENERATOR 2 parts diagram
Fig. 9 — GENERATOR 2
20 items · 3 available products
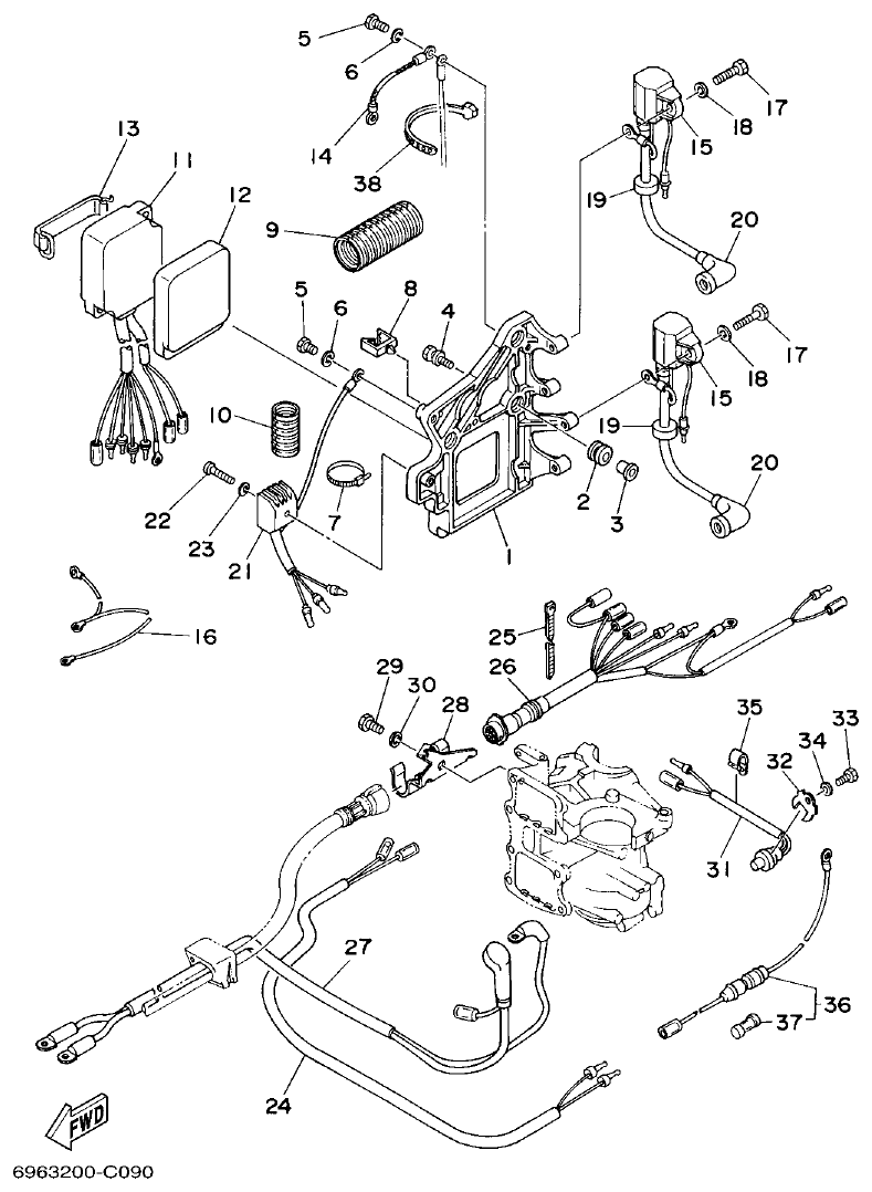
Yamaha E48C, E55C, 55B, E48CMH, E55CMH ELECTRICAL 1 parts diagram
Fig. 10 — ELECTRICAL 1
41 items · 4 available products
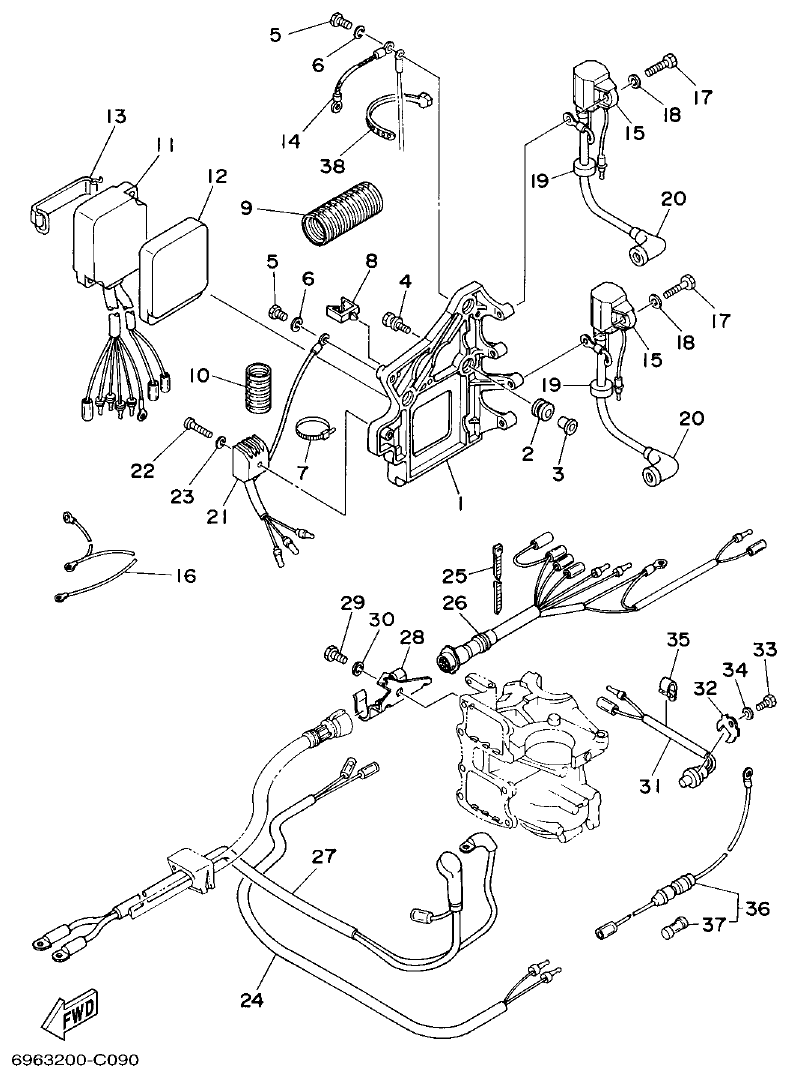
Yamaha E48C, E55C, 55B, E48CMH, E55CMH ELECTRICAL 2 parts diagram
Fig. 11 — ELECTRICAL 2
14 items
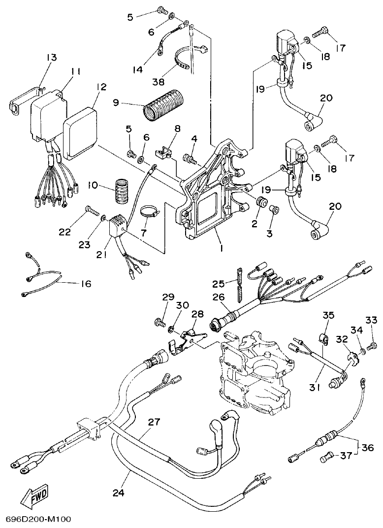
Yamaha E48C, E55C, 55B, E48CMH, E55CMH ELECTRICAL 3 parts diagram
Fig. 12 — ELECTRICAL 3
33 items · 5 available products
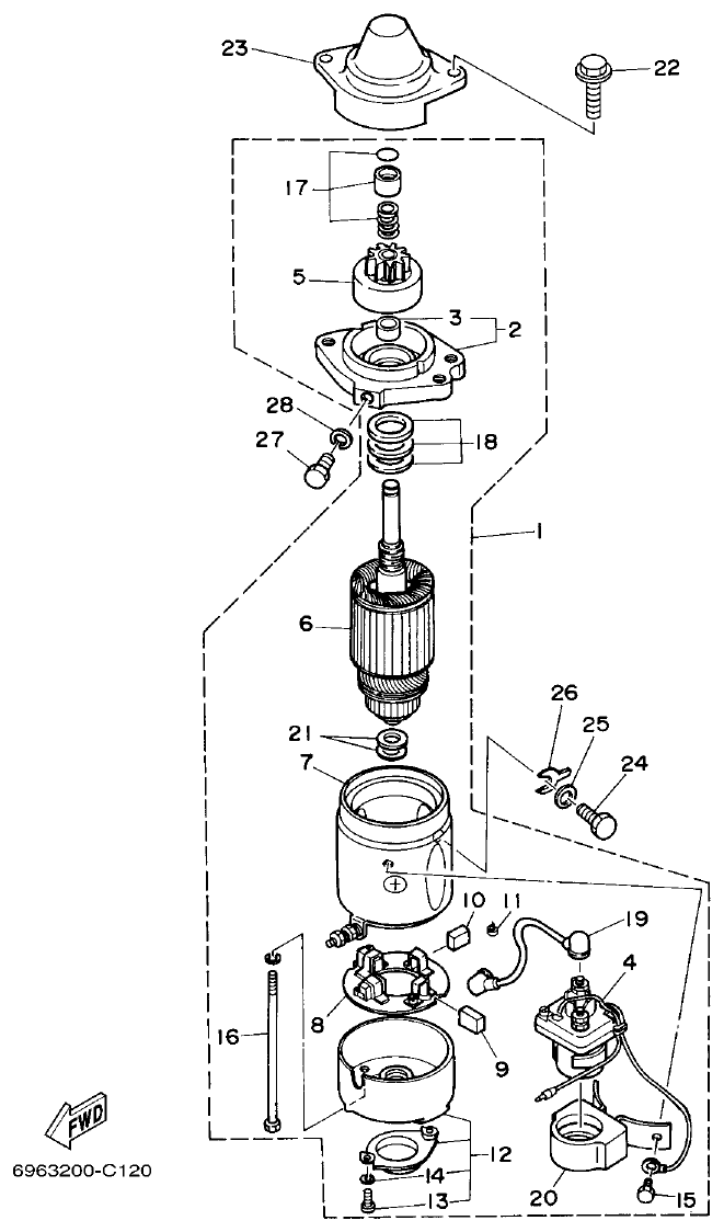
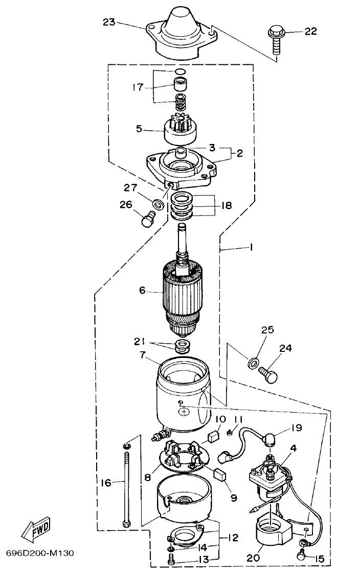
Yamaha E48C, E55C, 55B, E48CMH, E55CMH STARTING MOTOR parts diagram
Fig. 13 — STARTING MOTOR
27 items · 5 available products
Yamaha E48C, E55C, 55B, E48CMH, E55CMH BOTTOM COWLING parts diagram
Fig. 14 — BOTTOM COWLING
39 items · 2 available products
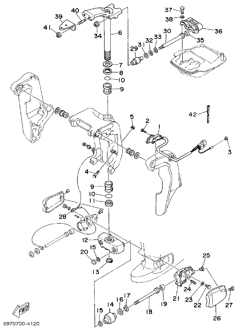
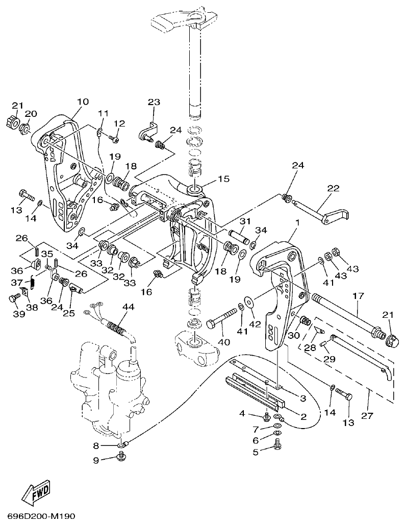
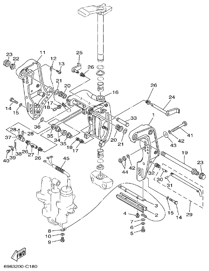
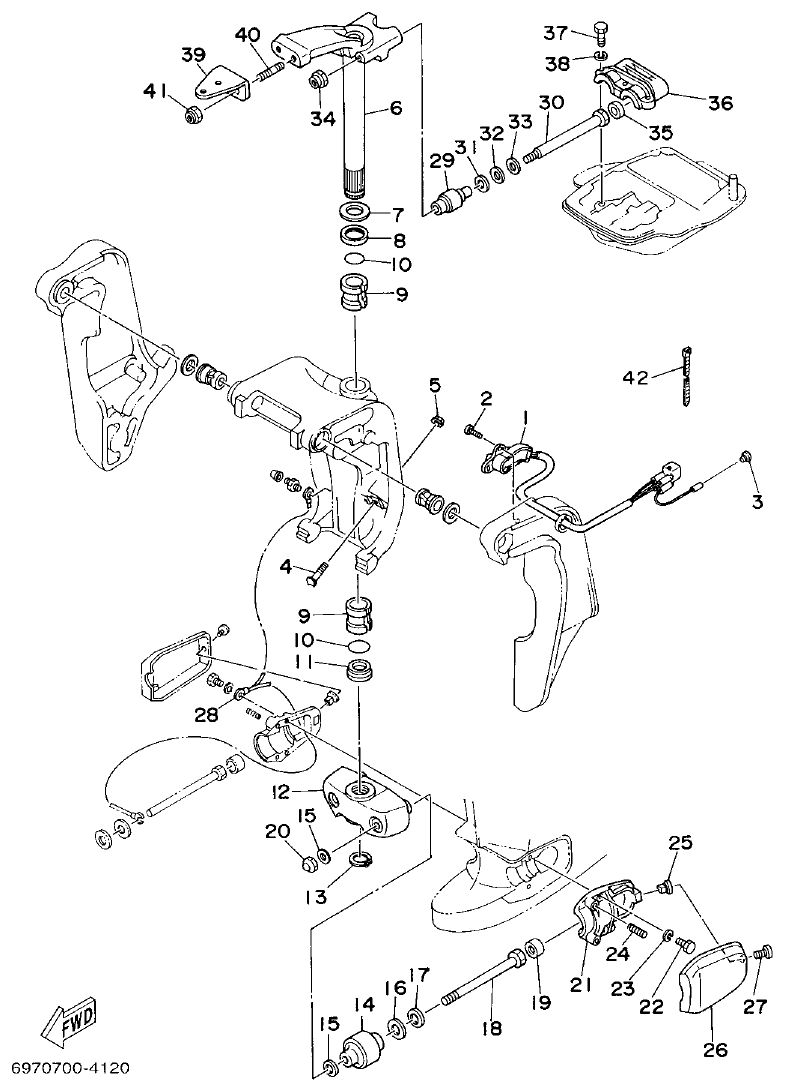
Yamaha E48C, E55C, 55B, E48CMH, E55CMH STEERING parts diagram
Fig. 15 — STEERING
53 items · 11 available products
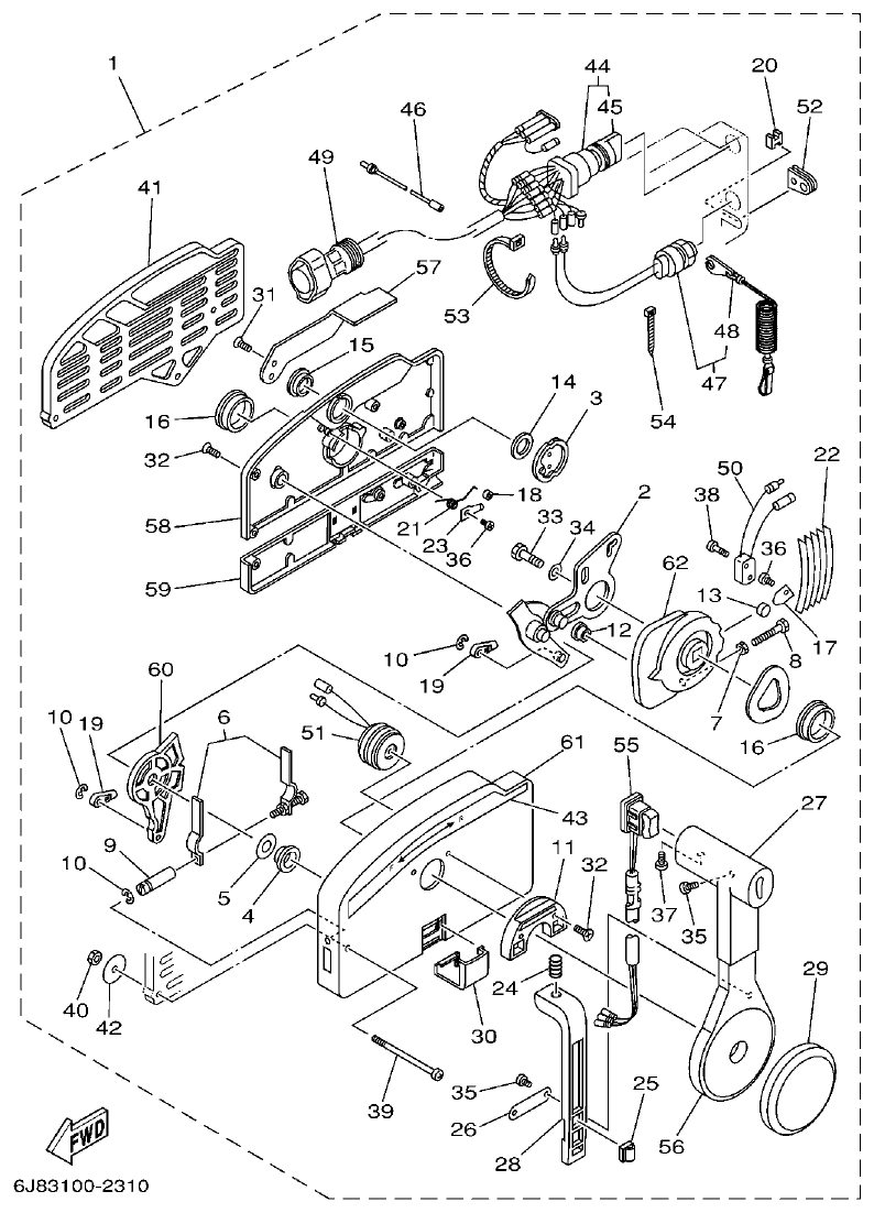
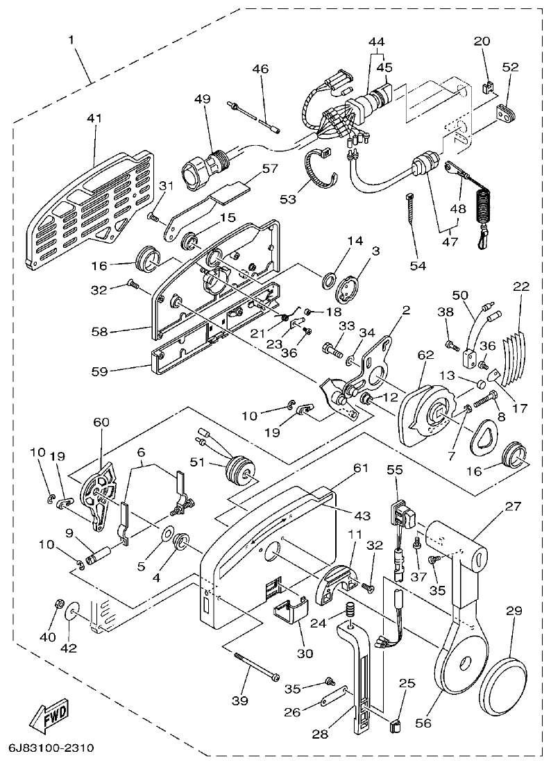
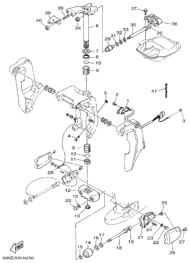
Yamaha E48C, E55C, 55B, E48CMH, E55CMH CONTROL parts diagram
Fig. 16 — CONTROL
80 items · 5 available products
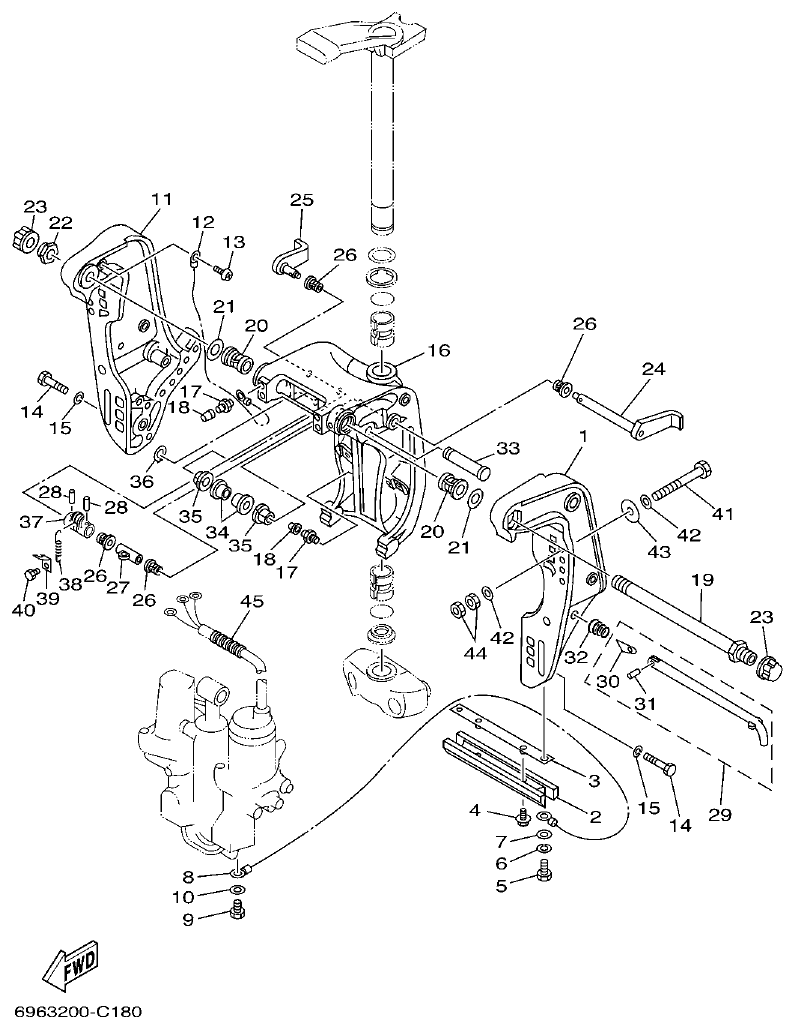
Yamaha E48C, E55C, 55B, E48CMH, E55CMH BRACKET 1 parts diagram
Fig. 17 — BRACKET 1
60 items · 12 available products
Yamaha E48C, E55C, 55B, E48CMH, E55CMH BRACKET 2 parts diagram
Fig. 18 — BRACKET 2
18 items · 3 available products
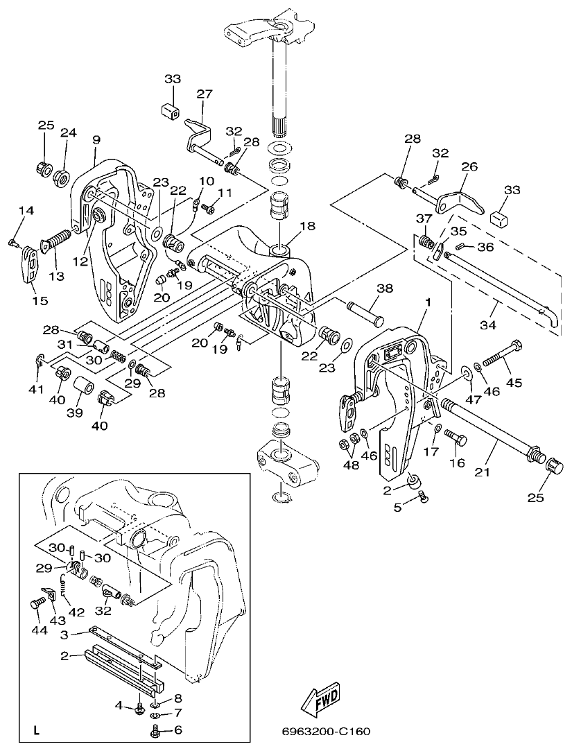
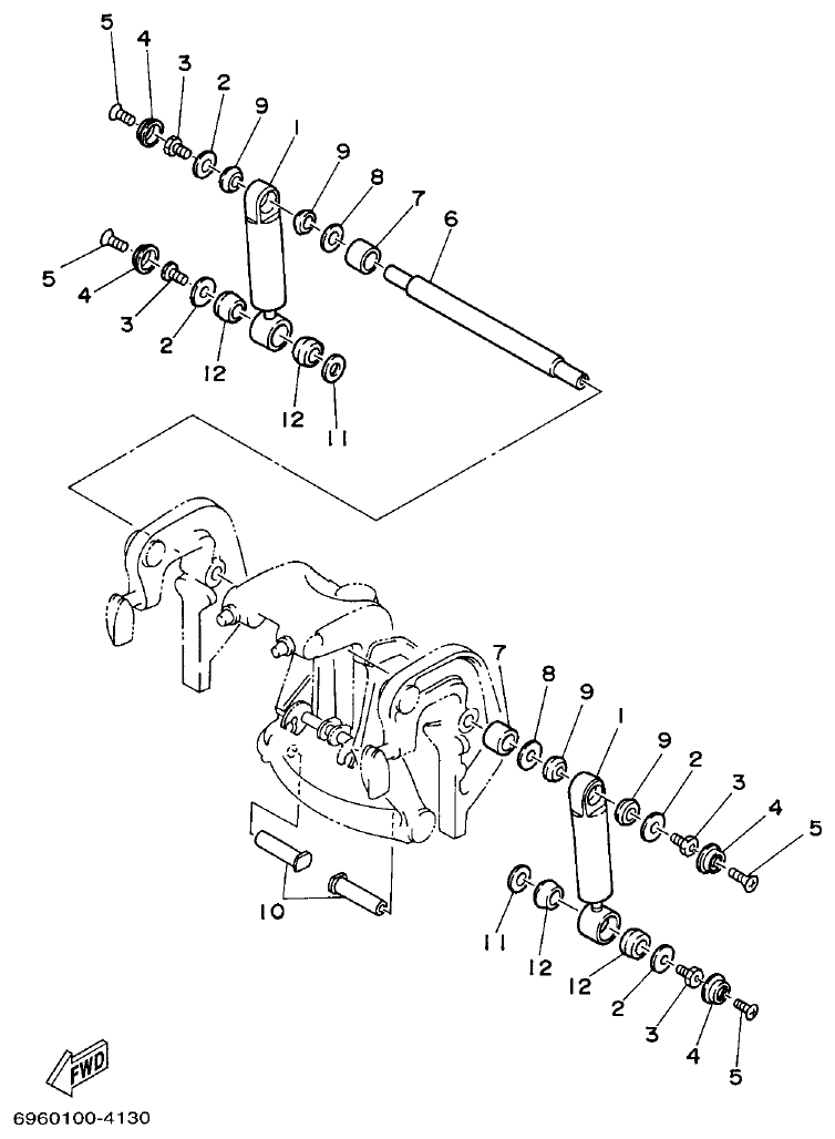
Yamaha E48C, E55C, 55B, E48CMH, E55CMH BRACKET 3 parts diagram
Fig. 19 — BRACKET 3
44 items · 8 available products
Yamaha E48C, E55C, 55B, E48CMH, E55CMH BRACKET 4 parts diagram
Fig. 20 — BRACKET 4
44 items · 4 available products
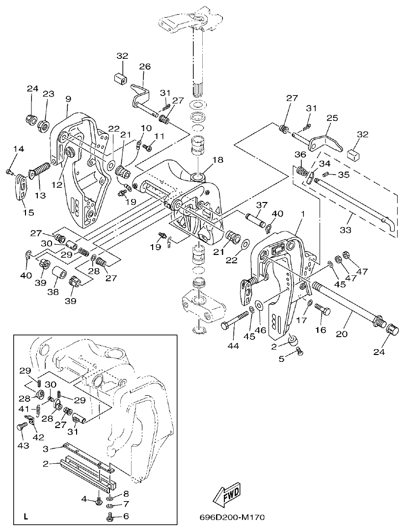
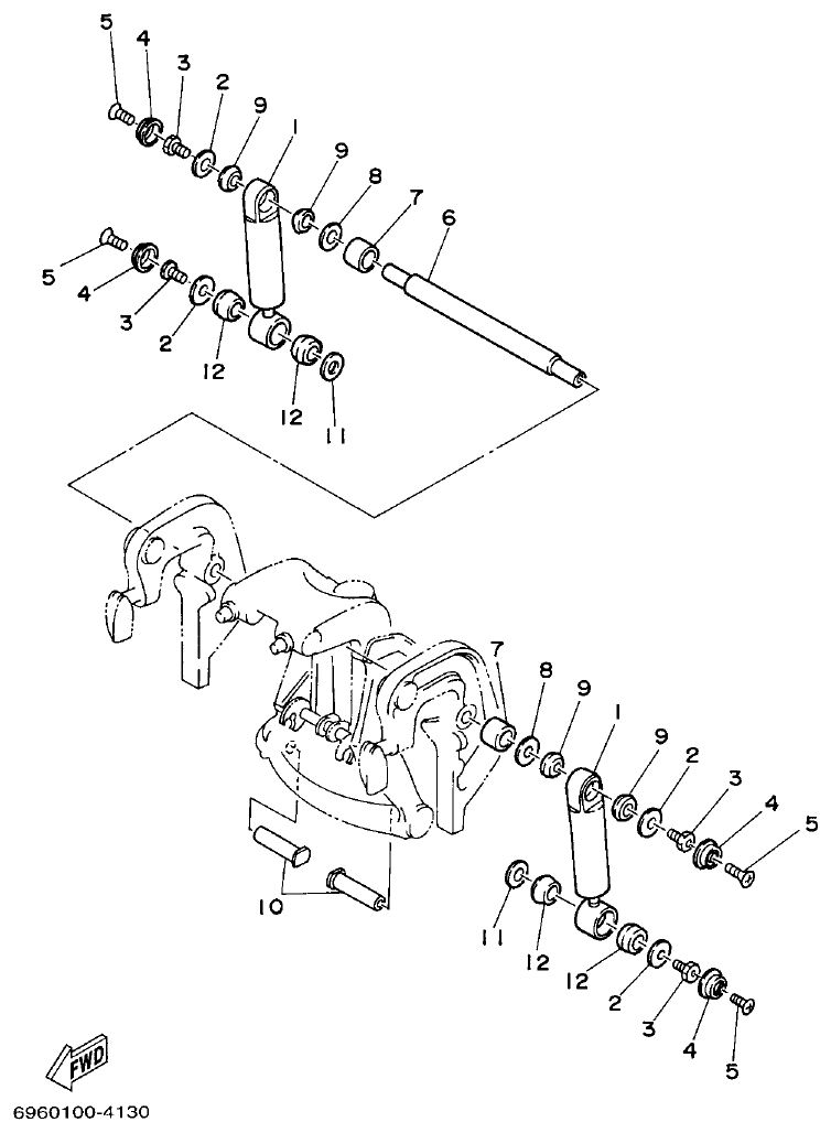
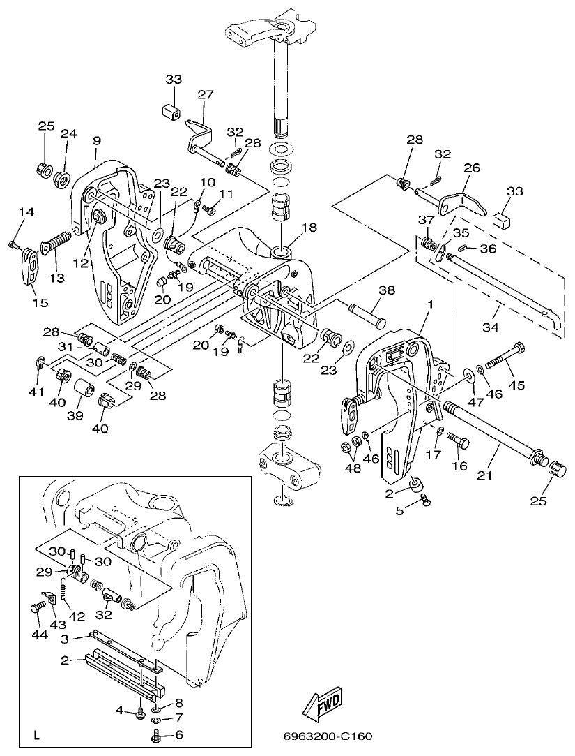
Yamaha E48C, E55C, 55B, E48CMH, E55CMH BRACKET 5 parts diagram
Fig. 21 — BRACKET 5
89 items · 5 available products
Yamaha E48C, E55C, 55B, E48CMH, E55CMH BRACKET 6 parts diagram
Fig. 22 — BRACKET 6
12 items
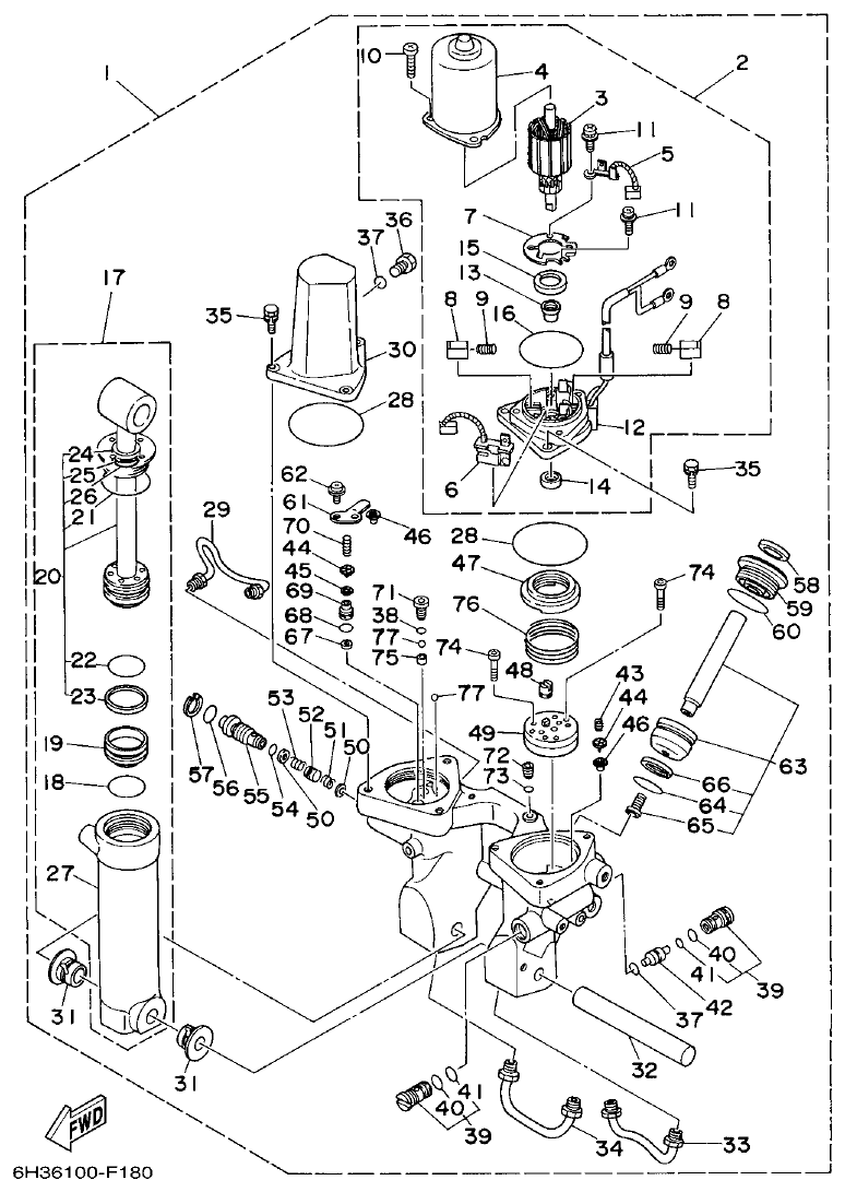
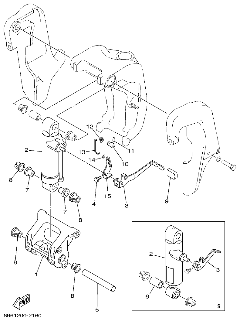
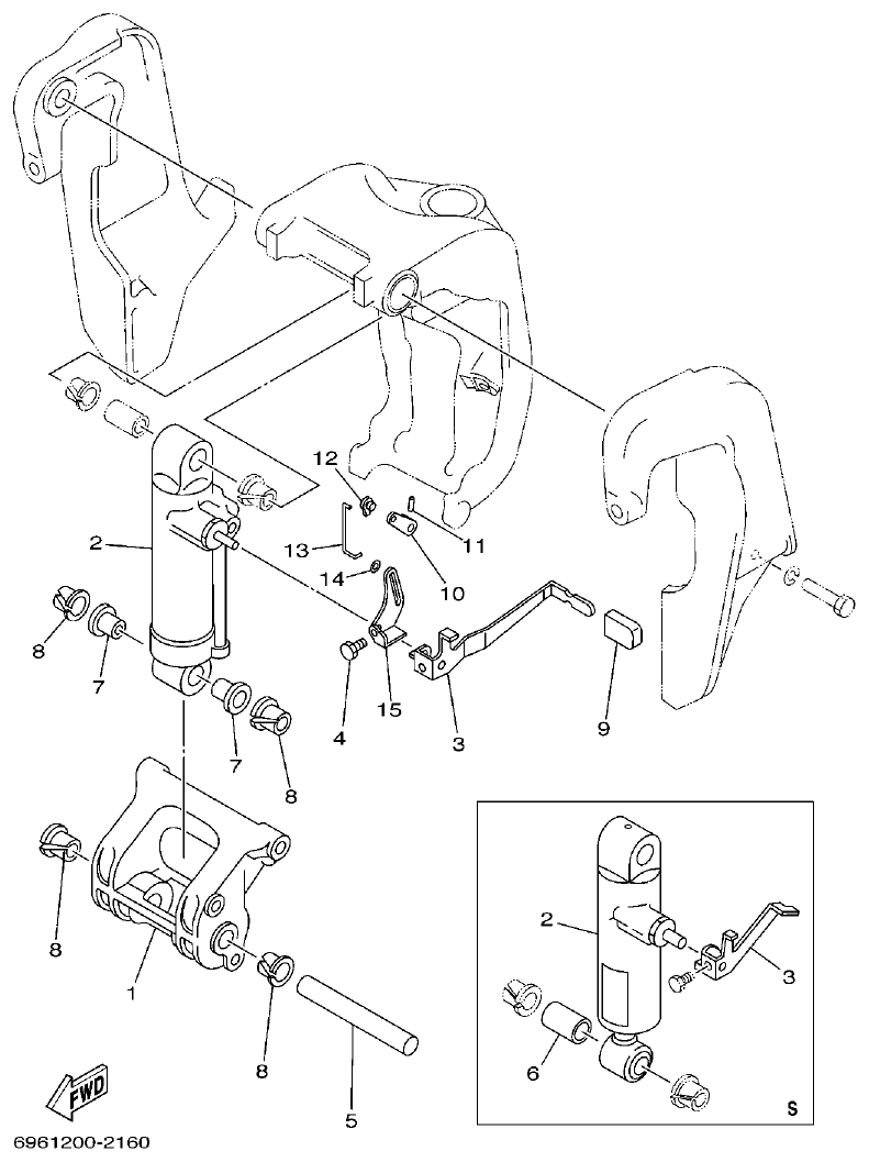
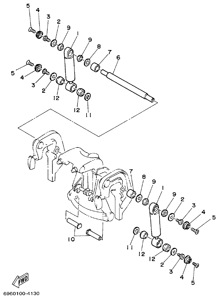
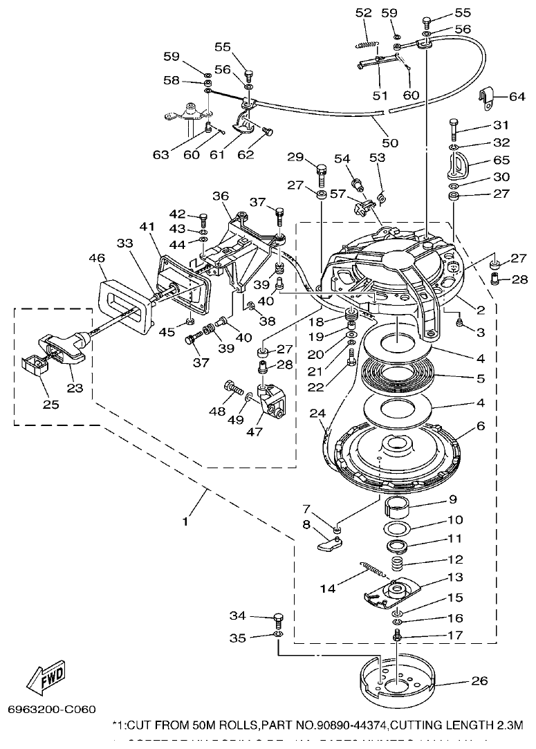
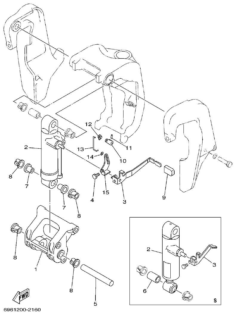
Yamaha E48C, E55C, 55B, E48CMH, E55CMH POWER TRIM & TILT ASSY parts diagram
Fig. 23 — POWER TRIM & TILT ASSY
77 items · 18 available products
Yamaha E48C, E55C, 55B, E48CMH, E55CMH UPPER CASING parts diagram
Fig. 24 — UPPER CASING
30 items · 4 available products
Yamaha E48C, E55C, 55B, E48CMH, E55CMH LOWER CASING & DRIVE 1 parts diagram
Fig. 25 — LOWER CASING & DRIVE 1
82 items · 38 available products
Yamaha E48C, E55C, 55B, E48CMH, E55CMH LOWER CASING & DRIVE 2 parts diagram
Fig. 26 — LOWER CASING & DRIVE 2
83 items · 37 available products
Yamaha E48C, E55C, 55B, E48CMH, E55CMH LOWER CASING & DRIVE 3 parts diagram
Fig. 27 — LOWER CASING & DRIVE 3
47 items · 12 available products
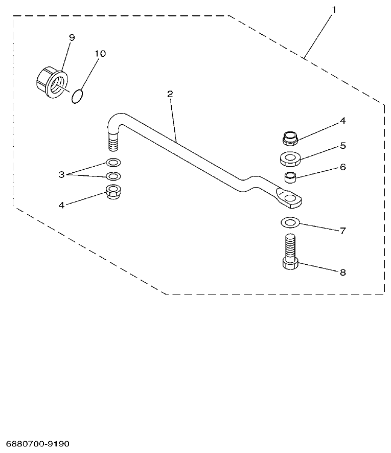
Yamaha E48C, E55C, 55B, E48CMH, E55CMH FUEL TANK parts diagram
Fig. 28 — FUEL TANK
16 items · 4 available products
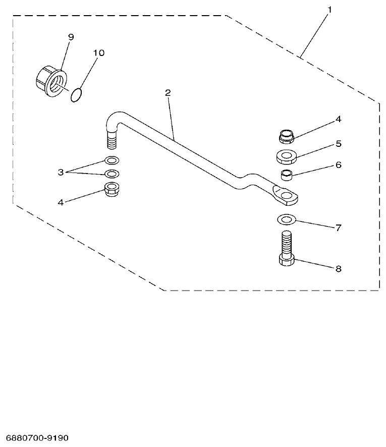
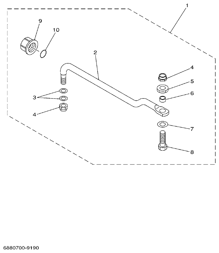
Yamaha E48C, E55C, 55B, E48CMH, E55CMH STEERING GUIDE parts diagram
Fig. 29 — STEERING GUIDE
10 items · 1 available products
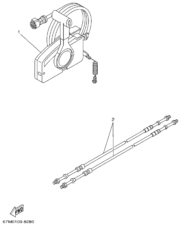
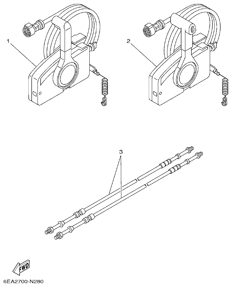
Yamaha E48C, E55C, 55B, E48CMH, E55CMH REMOTE CONTROL BOX parts diagram
Fig. 30 — REMOTE CONTROL BOX
4 items
Yamaha E48C, E55C, 55B, E48CMH, E55CMH REMOTE CONTROL ASSY 1 parts diagram
Fig. 31 — REMOTE CONTROL ASSY 1
61 items · 10 available products
Yamaha E48C, E55C, 55B, E48CMH, E55CMH REMOTE CONTROL ASSY 2 parts diagram
Fig. 32 — REMOTE CONTROL ASSY 2
63 items · 12 available products
Yamaha E48C, E55C, 55B, E48CMH, E55CMH METER parts diagram
Fig. 33 — METER
8 items · 1 available products
Yamaha E48C, E55C, 55B, E48CMH, E55CMH REPAIR KIT 1 parts diagram
Fig. 34 — REPAIR KIT 1
31 items · 11 available products
Yamaha E48C, E55C, 55B, E48CMH, E55CMH REPAIR KIT 2 parts diagram
Fig. 35 — REPAIR KIT 2
28 items · 7 available products
Yamaha E48C, E55C, 55B, E48CMH, E55CMH TOP COWLING 1 parts diagram
Fig. 1 — TOP COWLING 1
23 items
Yamaha E48C, E55C, 55B, E48CMH, E55CMH TOP COWLING 2 parts diagram
Fig. 2 — TOP COWLING 2
26 items
Yamaha E48C, E55C, 55B, E48CMH, E55CMH CYLINDER & CRANKCASE parts diagram
Fig. 3 — CYLINDER & CRANKCASE
79 items · 18 available products
Yamaha E48C, E55C, 55B, E48CMH, E55CMH INTAKE parts diagram
Fig. 4 — INTAKE
81 items · 11 available products
Yamaha E48C, E55C, 55B, E48CMH, E55CMH FUEL parts diagram
Fig. 5 — FUEL
38 items · 7 available products
Yamaha E48C, E55C, 55B, E48CMH, E55CMH STARTER parts diagram
Fig. 6 — STARTER
64 items · 5 available products
Yamaha E48C, E55C, 55B, E48CMH, E55CMH GENERATOR 1 parts diagram
Fig. 7 — GENERATOR 1
23 items · 3 available products
Yamaha E48C, E55C, 55B, E48CMH, E55CMH GENERATOR 2 parts diagram
Fig. 8 — GENERATOR 2
20 items · 3 available products
Yamaha E48C, E55C, 55B, E48CMH, E55CMH ELECTRICAL 1 parts diagram
Fig. 9 — ELECTRICAL 1
41 items · 3 available products
Yamaha E48C, E55C, 55B, E48CMH, E55CMH ELECTRICAL 2 parts diagram
Fig. 10 — ELECTRICAL 2
14 items
Yamaha E48C, E55C, 55B, E48CMH, E55CMH ELECTRICAL 3 parts diagram
Fig. 11 — ELECTRICAL 3
33 items · 4 available products
Yamaha E48C, E55C, 55B, E48CMH, E55CMH STARTING MOTOR parts diagram
Fig. 12 — STARTING MOTOR
28 items · 5 available products
Yamaha E48C, E55C, 55B, E48CMH, E55CMH BOTTOM COWLING parts diagram
Fig. 13 — BOTTOM COWLING
45 items · 2 available products
Yamaha E48C, E55C, 55B, E48CMH, E55CMH STEERING parts diagram
Fig. 14 — STEERING
54 items · 11 available products
Yamaha E48C, E55C, 55B, E48CMH, E55CMH CONTROL parts diagram
Fig. 15 — CONTROL
80 items · 4 available products
Yamaha E48C, E55C, 55B, E48CMH, E55CMH BRACKET 1 parts diagram
Fig. 16 — BRACKET 1
59 items · 10 available products
Yamaha E48C, E55C, 55B, E48CMH, E55CMH BRACKET 2 parts diagram
Fig. 17 — BRACKET 2
18 items · 3 available products
Yamaha E48C, E55C, 55B, E48CMH, E55CMH BRACKET 3 parts diagram
Fig. 18 — BRACKET 3
45 items · 6 available products
Yamaha E48C, E55C, 55B, E48CMH, E55CMH BRACKET 4 parts diagram
Fig. 19 — BRACKET 4
45 items
Yamaha E48C, E55C, 55B, E48CMH, E55CMH BRACKET 5 parts diagram
Fig. 20 — BRACKET 5
91 items · 3 available products
Yamaha E48C, E55C, 55B, E48CMH, E55CMH BRACKET 6 parts diagram
Fig. 21 — BRACKET 6
12 items
Yamaha E48C, E55C, 55B, E48CMH, E55CMH POWER TRIM & TILT ASSY parts diagram
Fig. 22 — POWER TRIM & TILT ASSY
79 items · 17 available products
Yamaha E48C, E55C, 55B, E48CMH, E55CMH UPPER CASING parts diagram
Fig. 23 — UPPER CASING
30 items · 4 available products
Yamaha E48C, E55C, 55B, E48CMH, E55CMH LOWER CASING & DRIVE 1 parts diagram
Fig. 24 — LOWER CASING & DRIVE 1
84 items · 19 available products
Yamaha E48C, E55C, 55B, E48CMH, E55CMH LOWER CASING & DRIVE 2 parts diagram
Fig. 25 — LOWER CASING & DRIVE 2
84 items · 18 available products
Yamaha E48C, E55C, 55B, E48CMH, E55CMH LOWER CASING & DRIVE 3 parts diagram
Fig. 26 — LOWER CASING & DRIVE 3
45 items · 4 available products
Yamaha E48C, E55C, 55B, E48CMH, E55CMH FUEL TANK parts diagram
Fig. 27 — FUEL TANK
18 items · 2 available products
Yamaha E48C, E55C, 55B, E48CMH, E55CMH STEERING GUIDE parts diagram
Fig. 28 — STEERING GUIDE
10 items · 1 available products
Yamaha E48C, E55C, 55B, E48CMH, E55CMH REMOTE CONTROL BOX parts diagram
Fig. 29 — REMOTE CONTROL BOX
4 items
Yamaha E48C, E55C, 55B, E48CMH, E55CMH REMOTE CONTROL ASSY parts diagram
Fig. 30 — REMOTE CONTROL ASSY
66 items · 12 available products
Yamaha E48C, E55C, 55B, E48CMH, E55CMH METER 1 parts diagram
Fig. 31 — METER 1
10 items · 1 available products
Yamaha E48C, E55C, 55B, E48CMH, E55CMH METER 2 parts diagram
Fig. 32 — METER 2
8 items · 1 available products
Yamaha E48C, E55C, 55B, E48CMH, E55CMH REPAIR KIT 1 parts diagram
Fig. 33 — REPAIR KIT 1
31 items · 11 available products
Yamaha E48C, E55C, 55B, E48CMH, E55CMH REPAIR KIT 2 parts diagram
Fig. 34 — REPAIR KIT 2
28 items · 7 available products
Yamaha E48C, E55C, 55B, E48CMH, E55CMH TOP COWLING 1 parts diagram
Fig. 1 — TOP COWLING 1
23 items
Yamaha E48C, E55C, 55B, E48CMH, E55CMH TOP COWLING 2 parts diagram
Fig. 2 — TOP COWLING 2
26 items
Yamaha E48C, E55C, 55B, E48CMH, E55CMH CYLINDER & CRANKCASE parts diagram
Fig. 3 — CYLINDER & CRANKCASE
79 items · 18 available products
Yamaha E48C, E55C, 55B, E48CMH, E55CMH INTAKE parts diagram
Fig. 4 — INTAKE
81 items · 11 available products
Yamaha E48C, E55C, 55B, E48CMH, E55CMH FUEL parts diagram
Fig. 5 — FUEL
38 items · 7 available products
Yamaha E48C, E55C, 55B, E48CMH, E55CMH STARTER parts diagram
Fig. 6 — STARTER
64 items · 5 available products
Yamaha E48C, E55C, 55B, E48CMH, E55CMH GENERATOR 1 parts diagram
Fig. 7 — GENERATOR 1
23 items · 3 available products
Yamaha E48C, E55C, 55B, E48CMH, E55CMH GENERATOR 2 parts diagram
Fig. 8 — GENERATOR 2
20 items · 3 available products
Yamaha E48C, E55C, 55B, E48CMH, E55CMH ELECTRICAL 1 parts diagram
Fig. 9 — ELECTRICAL 1
41 items · 3 available products
Yamaha E48C, E55C, 55B, E48CMH, E55CMH ELECTRICAL 2 parts diagram
Fig. 10 — ELECTRICAL 2
14 items
Yamaha E48C, E55C, 55B, E48CMH, E55CMH ELECTRICAL 3 parts diagram
Fig. 11 — ELECTRICAL 3
33 items · 4 available products
Yamaha E48C, E55C, 55B, E48CMH, E55CMH STARTING MOTOR parts diagram
Fig. 12 — STARTING MOTOR
28 items · 5 available products
Yamaha E48C, E55C, 55B, E48CMH, E55CMH BOTTOM COWLING parts diagram
Fig. 13 — BOTTOM COWLING
45 items · 2 available products
Yamaha E48C, E55C, 55B, E48CMH, E55CMH STEERING parts diagram
Fig. 14 — STEERING
54 items · 11 available products
Yamaha E48C, E55C, 55B, E48CMH, E55CMH CONTROL parts diagram
Fig. 15 — CONTROL
80 items · 4 available products
Yamaha E48C, E55C, 55B, E48CMH, E55CMH BRACKET 1 parts diagram
Fig. 16 — BRACKET 1
59 items · 10 available products
Yamaha E48C, E55C, 55B, E48CMH, E55CMH BRACKET 2 parts diagram
Fig. 17 — BRACKET 2
18 items · 3 available products
Yamaha E48C, E55C, 55B, E48CMH, E55CMH BRACKET 3 parts diagram
Fig. 18 — BRACKET 3
45 items · 6 available products
Yamaha E48C, E55C, 55B, E48CMH, E55CMH BRACKET 4 parts diagram
Fig. 19 — BRACKET 4
45 items
Yamaha E48C, E55C, 55B, E48CMH, E55CMH BRACKET 5 parts diagram
Fig. 20 — BRACKET 5
91 items · 3 available products
Yamaha E48C, E55C, 55B, E48CMH, E55CMH BRACKET 6 parts diagram
Fig. 21 — BRACKET 6
12 items
Yamaha E48C, E55C, 55B, E48CMH, E55CMH POWER TRIM & TILT ASSY parts diagram
Fig. 22 — POWER TRIM & TILT ASSY
79 items · 17 available products
Yamaha E48C, E55C, 55B, E48CMH, E55CMH UPPER CASING parts diagram
Fig. 23 — UPPER CASING
30 items · 4 available products
Yamaha E48C, E55C, 55B, E48CMH, E55CMH LOWER CASING & DRIVE 1 parts diagram
Fig. 24 — LOWER CASING & DRIVE 1
84 items · 19 available products
Yamaha E48C, E55C, 55B, E48CMH, E55CMH LOWER CASING & DRIVE 2 parts diagram
Fig. 25 — LOWER CASING & DRIVE 2
84 items · 18 available products
Yamaha E48C, E55C, 55B, E48CMH, E55CMH LOWER CASING & DRIVE 3 parts diagram
Fig. 26 — LOWER CASING & DRIVE 3
45 items · 4 available products
Yamaha E48C, E55C, 55B, E48CMH, E55CMH FUEL TANK parts diagram
Fig. 27 — FUEL TANK
18 items · 2 available products
Yamaha E48C, E55C, 55B, E48CMH, E55CMH STEERING GUIDE parts diagram
Fig. 28 — STEERING GUIDE
10 items · 1 available products
Yamaha E48C, E55C, 55B, E48CMH, E55CMH REMOTE CONTROL BOX parts diagram
Fig. 29 — REMOTE CONTROL BOX
4 items
Yamaha E48C, E55C, 55B, E48CMH, E55CMH REMOTE CONTROL ASSY parts diagram
Fig. 30 — REMOTE CONTROL ASSY
66 items · 12 available products
Yamaha E48C, E55C, 55B, E48CMH, E55CMH METER 1 parts diagram
Fig. 31 — METER 1
10 items · 1 available products
Yamaha E48C, E55C, 55B, E48CMH, E55CMH METER 2 parts diagram
Fig. 32 — METER 2
8 items · 1 available products
Yamaha E48C, E55C, 55B, E48CMH, E55CMH REPAIR KIT 1 parts diagram
Fig. 33 — REPAIR KIT 1
31 items · 11 available products
Yamaha E48C, E55C, 55B, E48CMH, E55CMH REPAIR KIT 2 parts diagram
Fig. 34 — REPAIR KIT 2
28 items · 7 available products