Catalogs / Yamaha / Outboard

Yamaha F15A Parts Catalog

Browse 33 catalog sections for Yamaha F15A. Open a section to view the parts diagram, reference numbers and available products.

Yamaha F15A TOP COWLING parts diagram
Fig. 1 — TOP COWLING
15 items
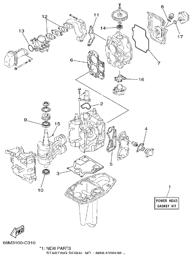
Yamaha F15A CYLINDER & CRANKCASE 1 parts diagram
Fig. 2 — CYLINDER & CRANKCASE 1
46 items · 6 available products
Yamaha F15A CRANKSHAFT & PISTON parts diagram
Fig. 3 — CRANKSHAFT & PISTON
20 items · 6 available products
Yamaha F15A CYLINDER & CRANKCASE 2 parts diagram
Fig. 4 — CYLINDER & CRANKCASE 2
19 items · 2 available products
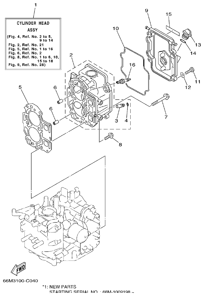
Yamaha F15A VALVE parts diagram
Fig. 5 — VALVE
16 items · 2 available products
Yamaha F15A INTAKE parts diagram
Fig. 6 — INTAKE
29 items · 2 available products
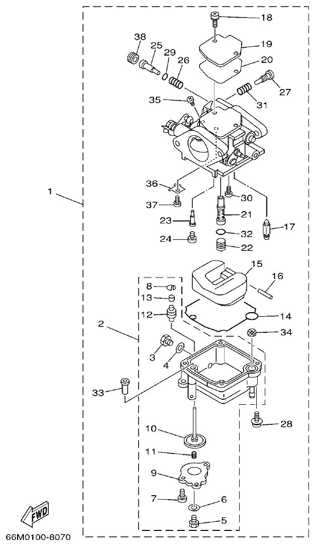
Yamaha F15A CARBURETOR parts diagram
Fig. 7 — CARBURETOR
42 items · 4 available products
Yamaha F15A OIL PUMP parts diagram
Fig. 8 — OIL PUMP
22 items · 1 available products
Yamaha F15A FUEL 1 parts diagram
Fig. 9 — FUEL 1
40 items · 2 available products
Yamaha F15A FUEL 2 parts diagram
Fig. 10 — FUEL 2
9 items · 2 available products
Yamaha F15A STARTER parts diagram
Fig. 11 — STARTER
40 items · 8 available products
Yamaha F15A GENERATOR parts diagram
Fig. 12 — GENERATOR
17 items
Yamaha F15A ELECTRICAL 1 parts diagram
Fig. 13 — ELECTRICAL 1
17 items
Yamaha F15A ELECTRICAL 2 parts diagram
Fig. 14 — ELECTRICAL 2
30 items · 2 available products
Yamaha F15A STARTING MOTOR parts diagram
Fig. 15 — STARTING MOTOR
13 items
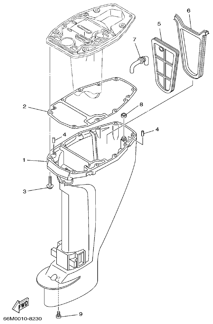
Yamaha F15A BOTTOM COWLING parts diagram
Fig. 16 — BOTTOM COWLING
52 items
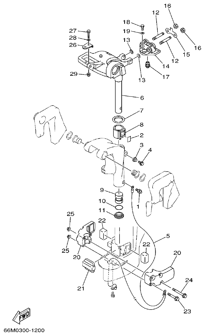
Yamaha F15A STEERING parts diagram
Fig. 17 — STEERING
42 items · 4 available products
Yamaha F15A STEERING FRICTION parts diagram
Fig. 18 — STEERING FRICTION
13 items
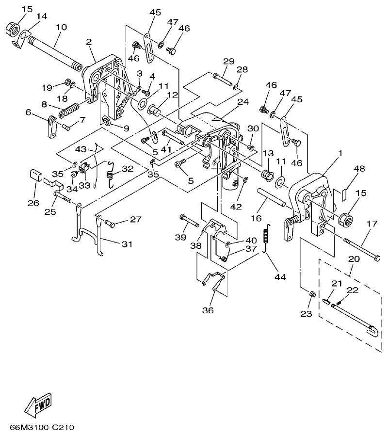
Yamaha F15A CONTROL parts diagram
Fig. 19 — CONTROL
37 items · 3 available products
Yamaha F15A REMO CON ATTACHMENT parts diagram
Fig. 20 — REMO CON ATTACHMENT
21 items · 1 available products
Yamaha F15A BRACKET 1 parts diagram
Fig. 21 — BRACKET 1
50 items · 3 available products
Yamaha F15A BRACKET 2 parts diagram
Fig. 22 — BRACKET 2
30 items · 1 available products
Yamaha F15A UPPER CASING parts diagram
Fig. 23 — UPPER CASING
10 items
Yamaha F15A OIL PAN parts diagram
Fig. 24 — OIL PAN
26 items · 1 available products
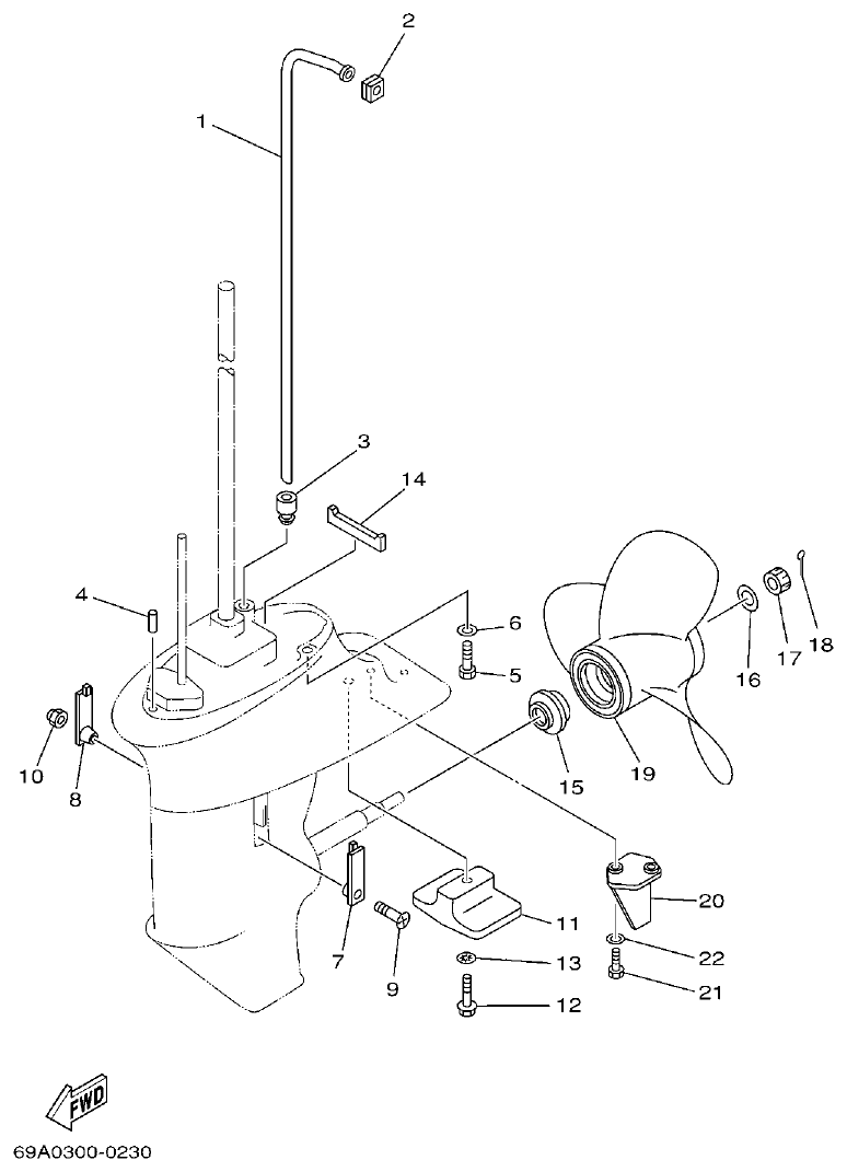
Yamaha F15A LOWER CASING & DRIVE 1 parts diagram
Fig. 25 — LOWER CASING & DRIVE 1
62 items · 15 available products
Yamaha F15A LOWER CASING & DRIVE 2 parts diagram
Fig. 26 — LOWER CASING & DRIVE 2
28 items · 3 available products
Yamaha F15A FUEL TANK parts diagram
Fig. 27 — FUEL TANK
8 items
Yamaha F15A STEERING GUIDE parts diagram
Fig. 28 — STEERING GUIDE
9 items · 1 available products
Yamaha F15A REMOTE CONTROL BOX parts diagram
Fig. 29 — REMOTE CONTROL BOX
2 items
Yamaha F15A REMOTE CONTROL ASSY parts diagram
Fig. 30 — REMOTE CONTROL ASSY
47 items · 2 available products
Yamaha F15A REPAIR KIT 1 parts diagram
Fig. 31 — REPAIR KIT 1
21 items · 2 available products
Yamaha F15A REPAIR KIT 2 parts diagram
Fig. 32 — REPAIR KIT 2
14 items · 3 available products
Yamaha F15A REPAIR KIT 3 parts diagram
Fig. 33 — REPAIR KIT 3
32 items · 5 available products