Catalogs / Yamaha / Outboard

Yamaha F20A, F25A Parts Catalog

Browse 68 catalog sections for Yamaha F20A, F25A. Open a section to view the parts diagram, reference numbers and available products.

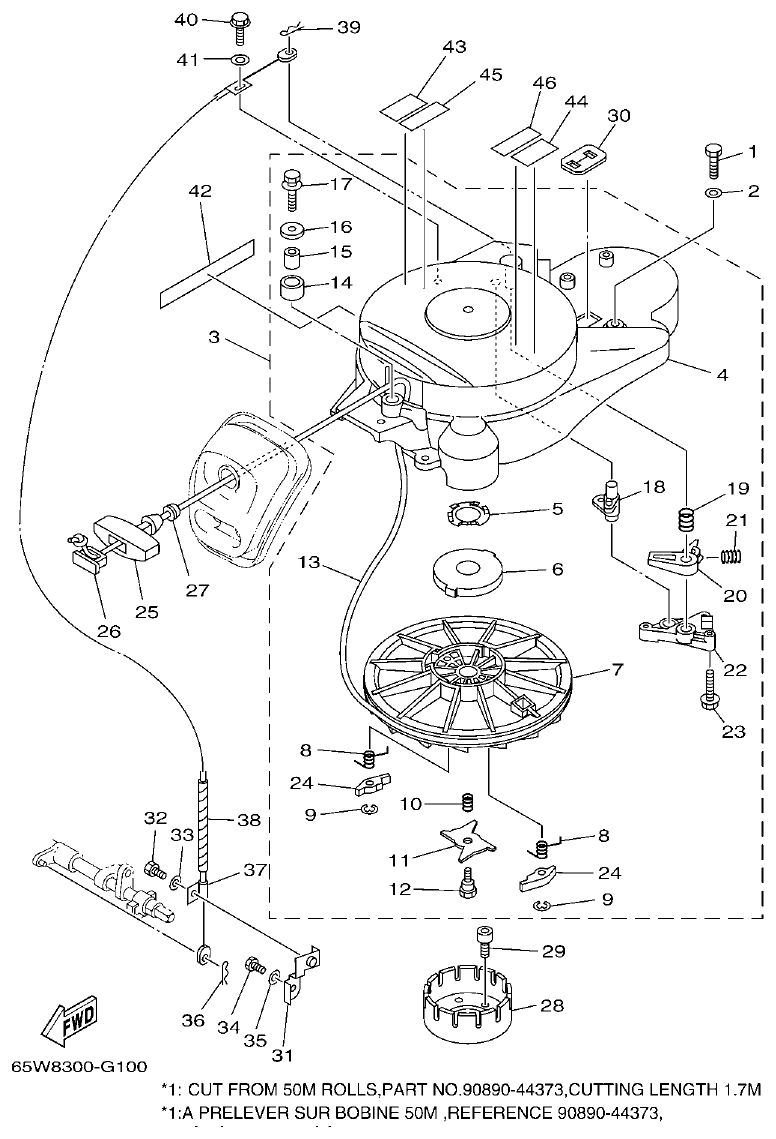
Yamaha F20A, F25A TOP COWLING parts diagram
Fig. 1 — TOP COWLING
19 items
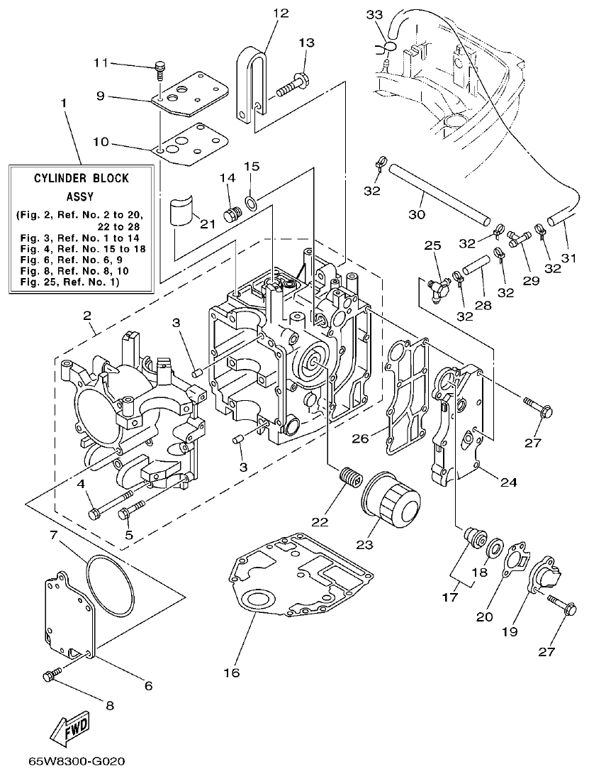
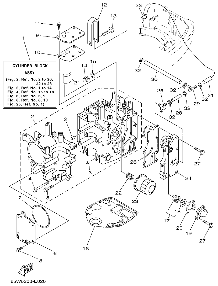
Yamaha F20A, F25A CYLINDER & CRANKCASE 1 parts diagram
Fig. 2 — CYLINDER & CRANKCASE 1
33 items · 5 available products
Yamaha F20A, F25A CRANKSHAFT & PISTON parts diagram
Fig. 3 — CRANKSHAFT & PISTON
22 items · 7 available products
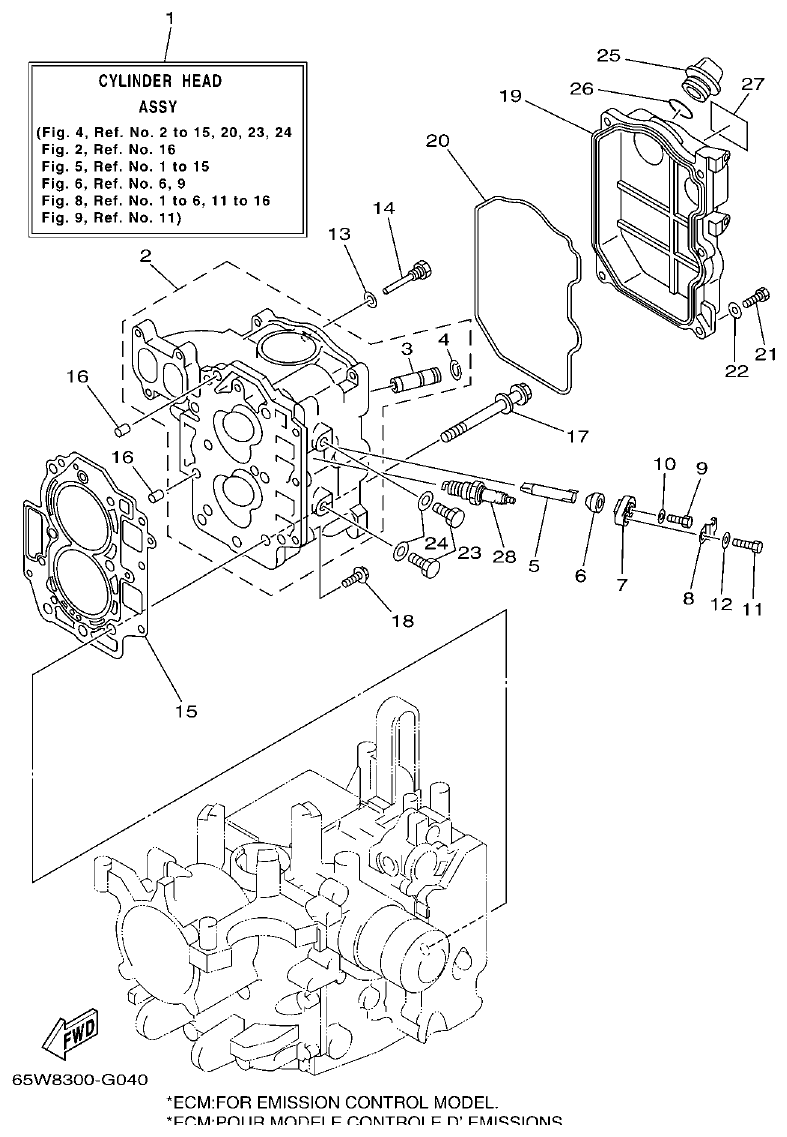
Yamaha F20A, F25A CYLINDER & CRANKCASE 2 parts diagram
Fig. 4 — CYLINDER & CRANKCASE 2
29 items · 3 available products
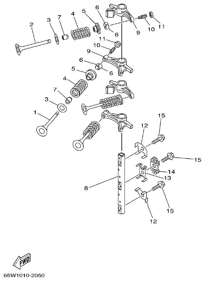
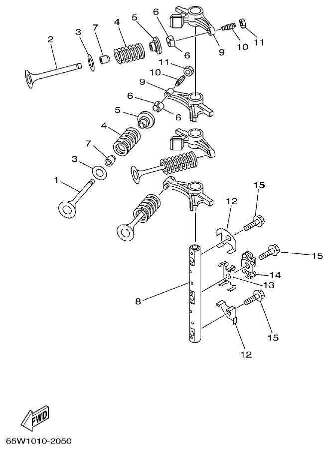
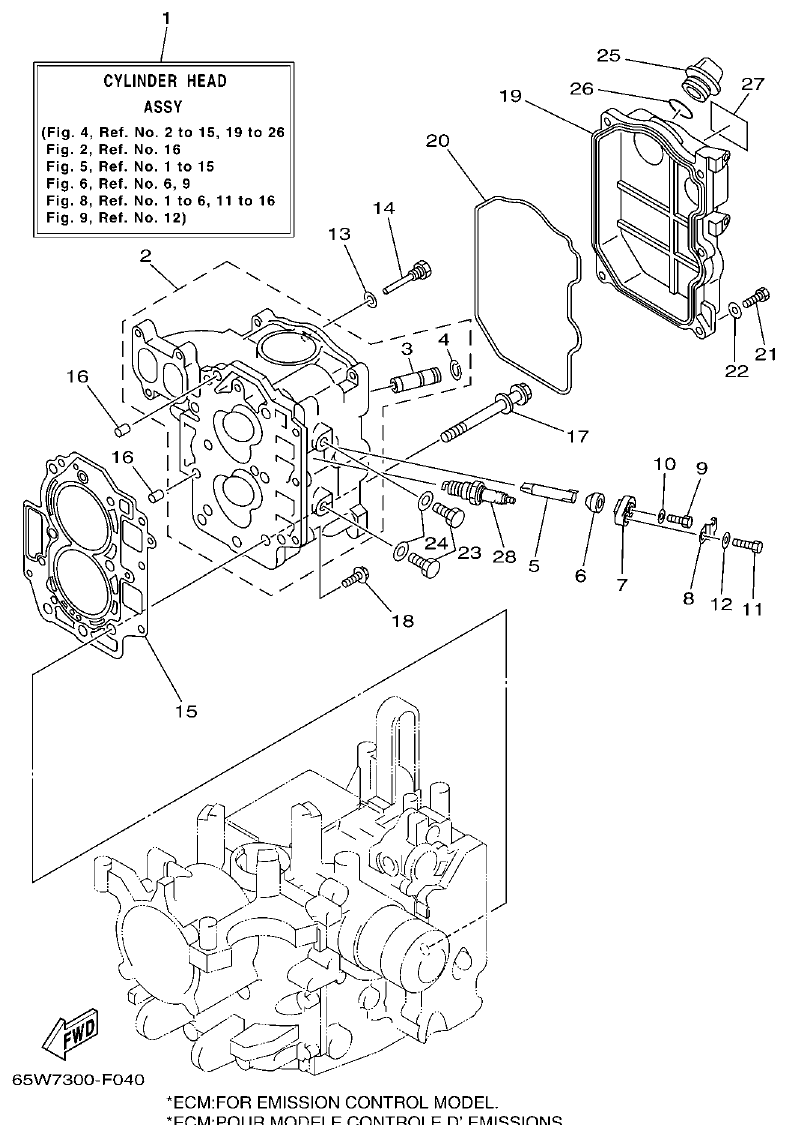
Yamaha F20A, F25A VALVE parts diagram
Fig. 5 — VALVE
15 items · 3 available products
Yamaha F20A, F25A INTAKE parts diagram
Fig. 6 — INTAKE
19 items
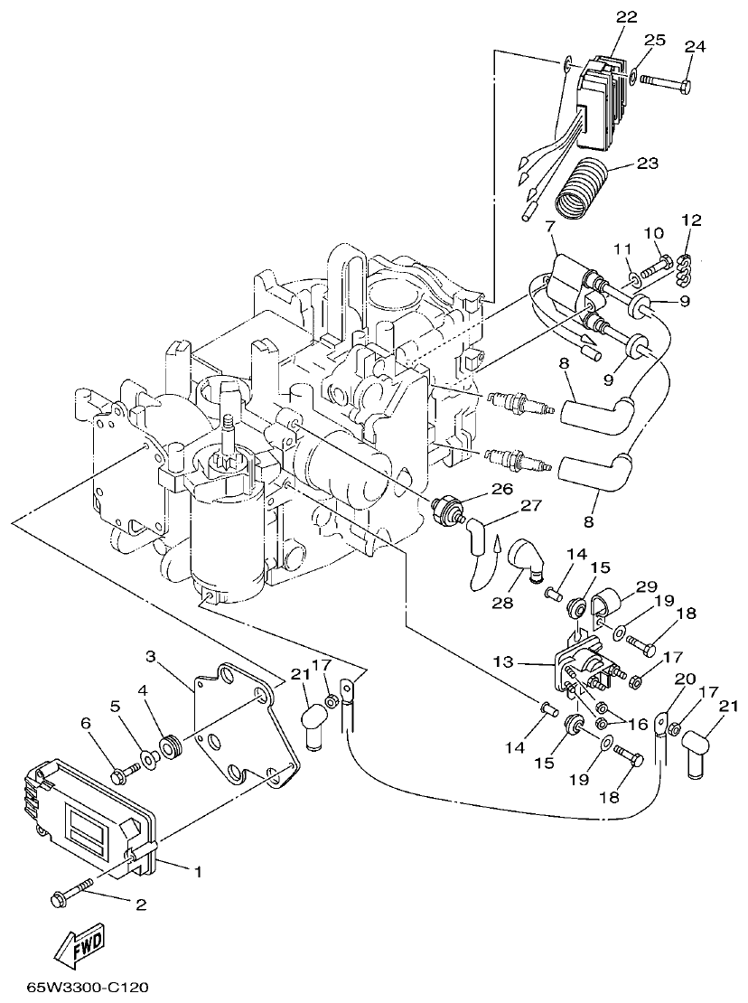
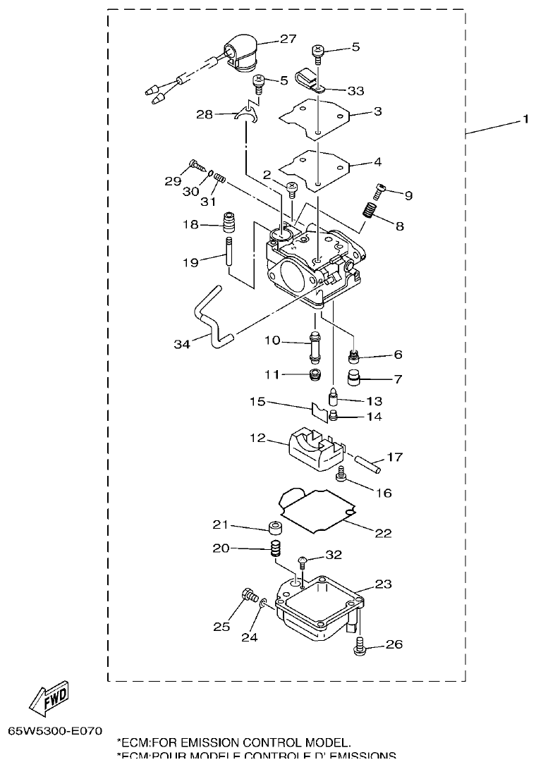
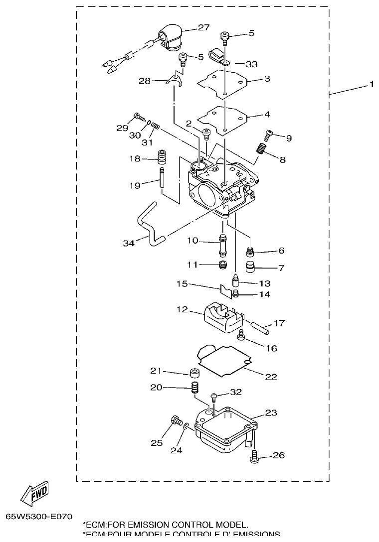
Yamaha F20A, F25A CARBURETOR parts diagram
Fig. 7 — CARBURETOR
45 items · 5 available products
Yamaha F20A, F25A OIL PUMP parts diagram
Fig. 8 — OIL PUMP
17 items · 2 available products
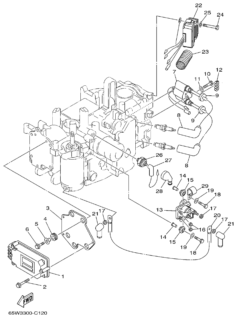
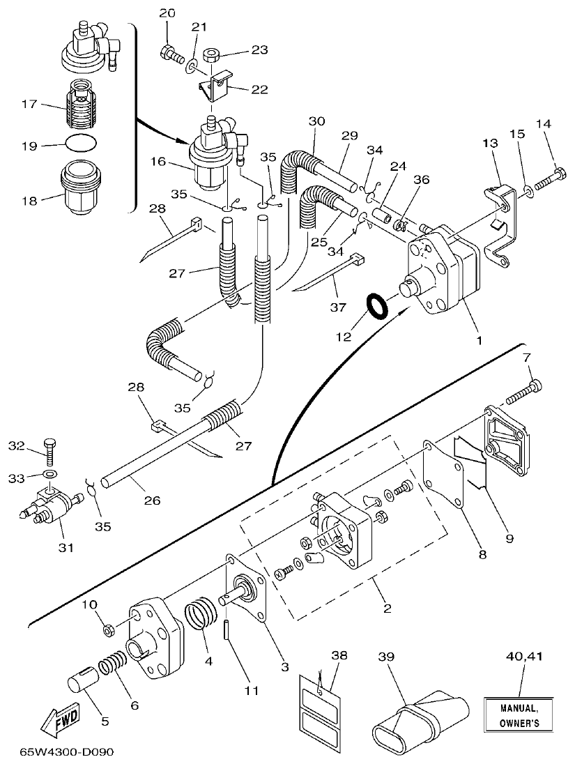
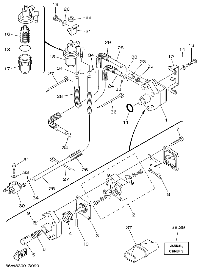
Yamaha F20A, F25A FUEL parts diagram
Fig. 9 — FUEL
49 items · 3 available products
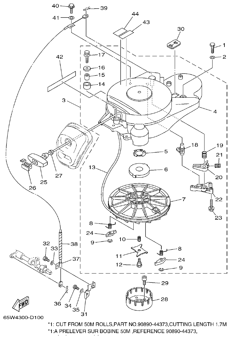
Yamaha F20A, F25A STARTER parts diagram
Fig. 10 — STARTER
45 items · 1 available products
Yamaha F20A, F25A GENERATOR parts diagram
Fig. 11 — GENERATOR
36 items
Yamaha F20A, F25A ELECTRICAL 1 parts diagram
Fig. 12 — ELECTRICAL 1
31 items · 1 available products
Yamaha F20A, F25A ELECTRICAL 2 parts diagram
Fig. 13 — ELECTRICAL 2
39 items · 1 available products
Yamaha F20A, F25A ELECTRICAL 3 parts diagram
Fig. 14 — ELECTRICAL 3
7 items · 3 available products
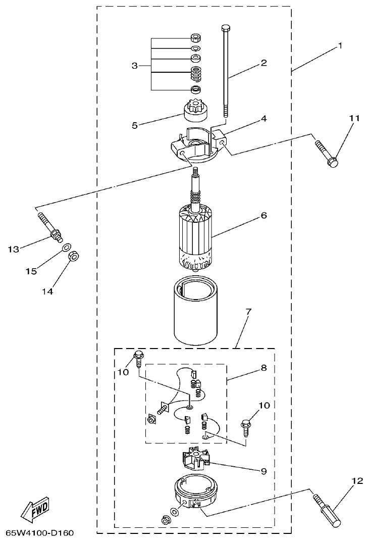
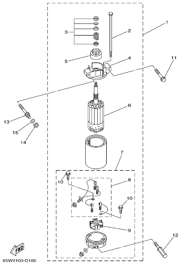
Yamaha F20A, F25A STARTING MOTOR parts diagram
Fig. 15 — STARTING MOTOR
15 items
Yamaha F20A, F25A BOTTOM COWLING parts diagram
Fig. 16 — BOTTOM COWLING
48 items
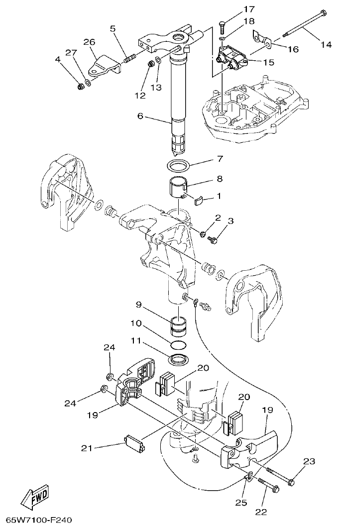
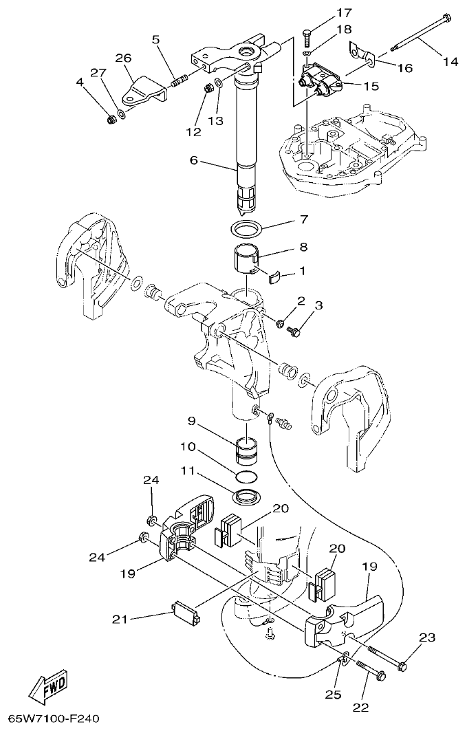
Yamaha F20A, F25A STEERING parts diagram
Fig. 17 — STEERING
40 items · 2 available products
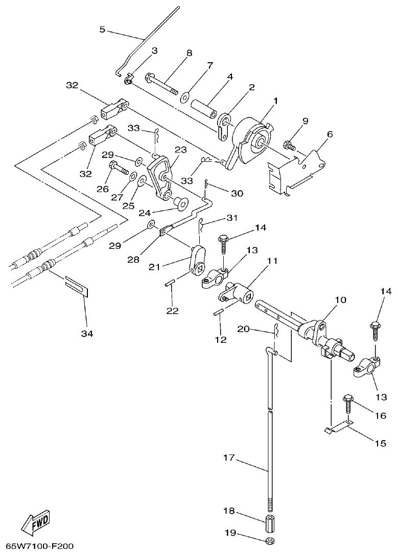
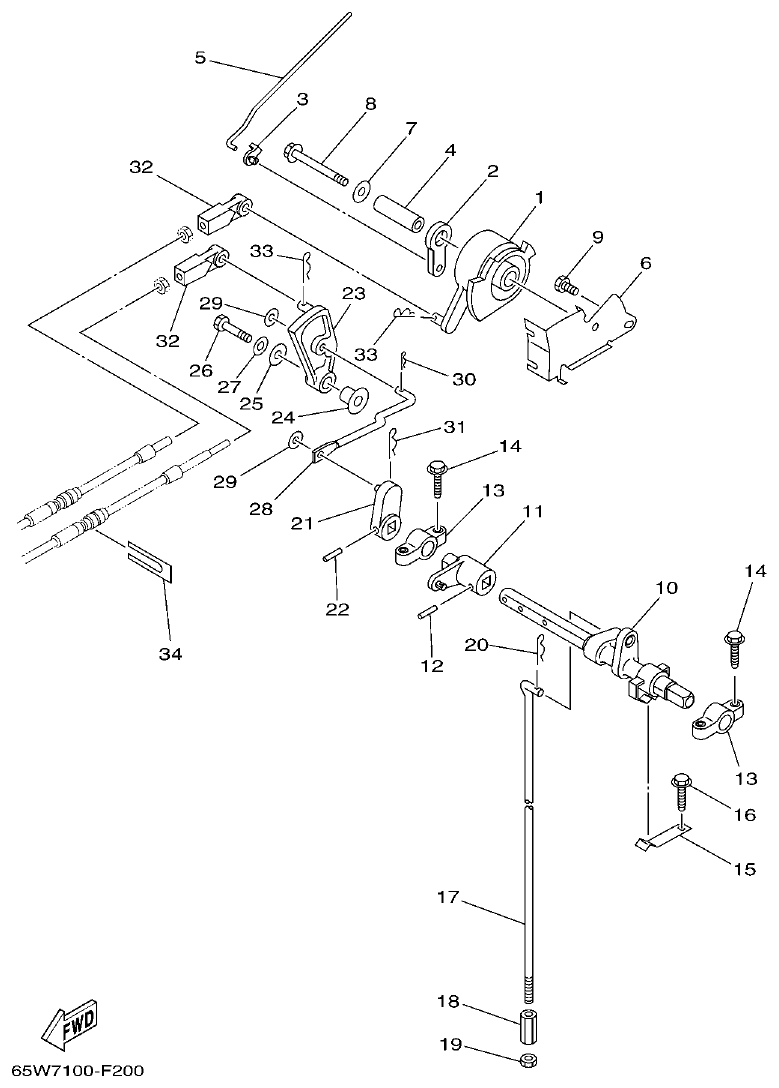
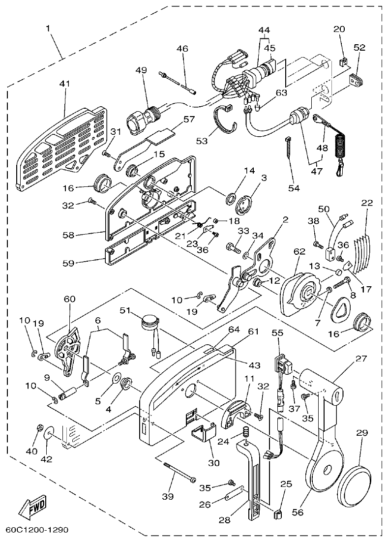
Yamaha F20A, F25A CONTROL parts diagram
Fig. 18 — CONTROL
35 items · 3 available products
Yamaha F20A, F25A REMO CON ATTACHMENT parts diagram
Fig. 19 — REMO CON ATTACHMENT
20 items · 1 available products
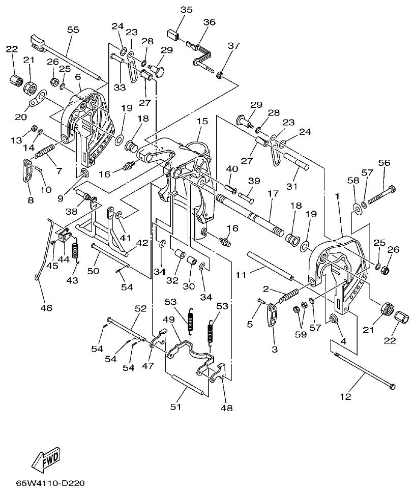
Yamaha F20A, F25A BRACKET 1 parts diagram
Fig. 20 — BRACKET 1
60 items · 3 available products
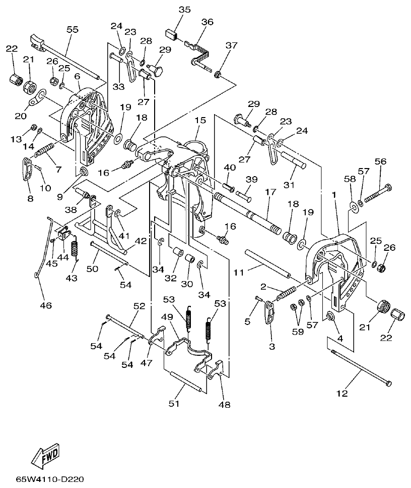
Yamaha F20A, F25A BRACKET 2 parts diagram
Fig. 21 — BRACKET 2
36 items · 4 available products
Yamaha F20A, F25A BRACKET 3 parts diagram
Fig. 22 — BRACKET 3
28 items
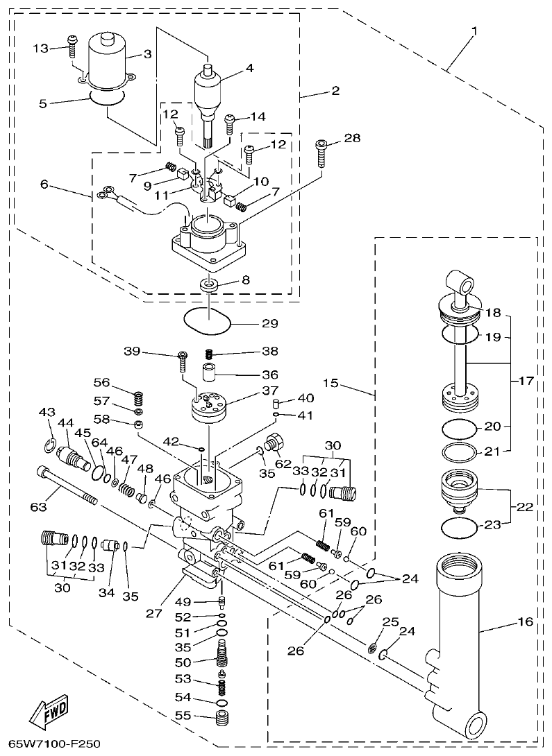
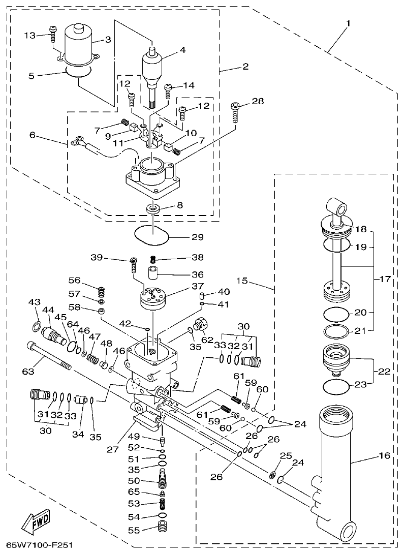
Yamaha F20A, F25A POWER TRIM & TILT ASSY parts diagram
Fig. 23 — POWER TRIM & TILT ASSY
65 items · 8 available products
Yamaha F20A, F25A UPPER CASING parts diagram
Fig. 24 — UPPER CASING
23 items · 1 available products
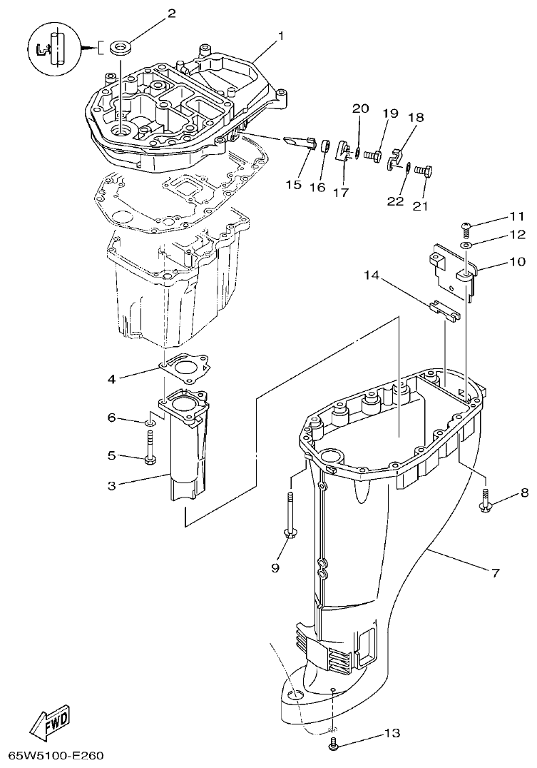
Yamaha F20A, F25A OIL PAN parts diagram
Fig. 25 — OIL PAN
17 items
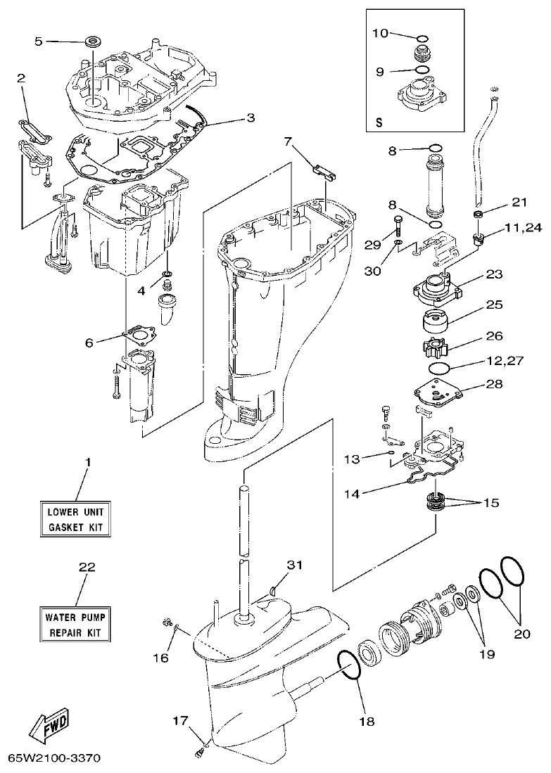
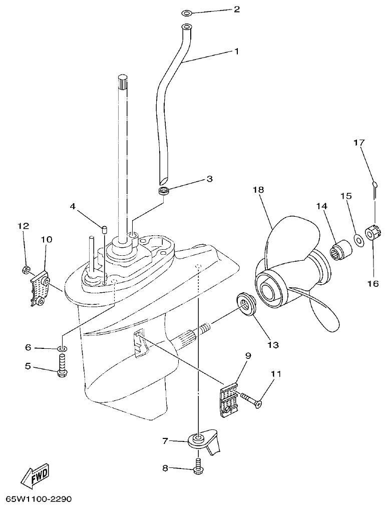
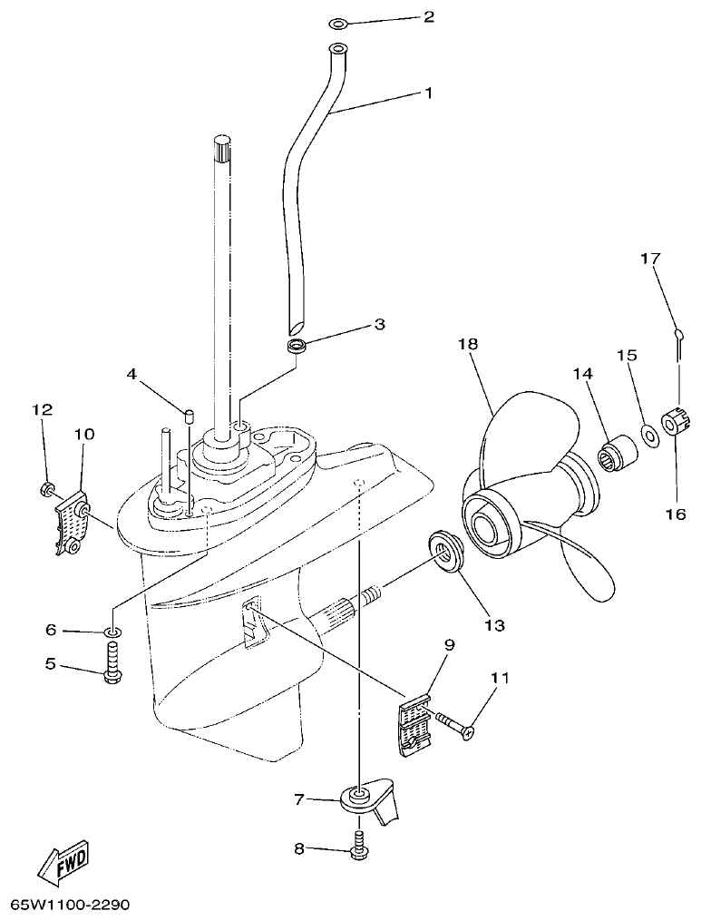
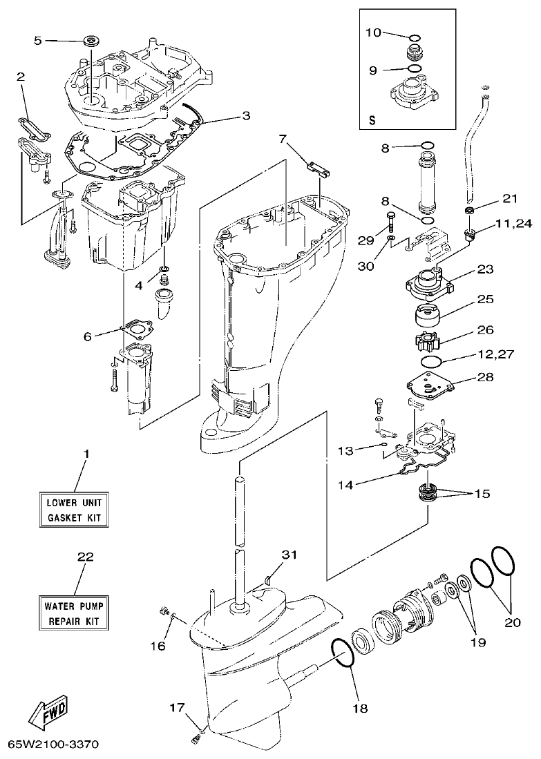
Yamaha F20A, F25A LOWER CASING & DRIVE 1 parts diagram
Fig. 26 — LOWER CASING & DRIVE 1
78 items · 22 available products
Yamaha F20A, F25A LOWER CASING & DRIVE 2 parts diagram
Fig. 27 — LOWER CASING & DRIVE 2
27 items · 5 available products
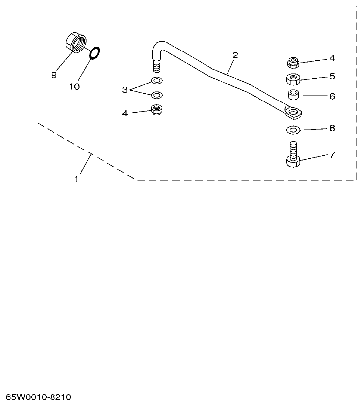
Yamaha F20A, F25A FUEL TANK parts diagram
Fig. 28 — FUEL TANK
10 items
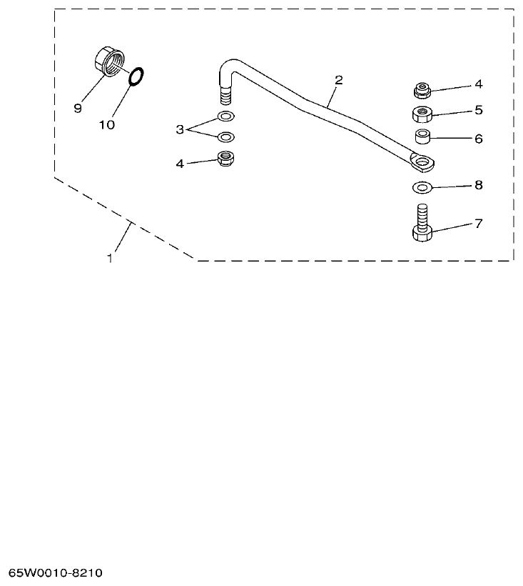
Yamaha F20A, F25A STEERING GUIDE parts diagram
Fig. 29 — STEERING GUIDE
10 items · 1 available products
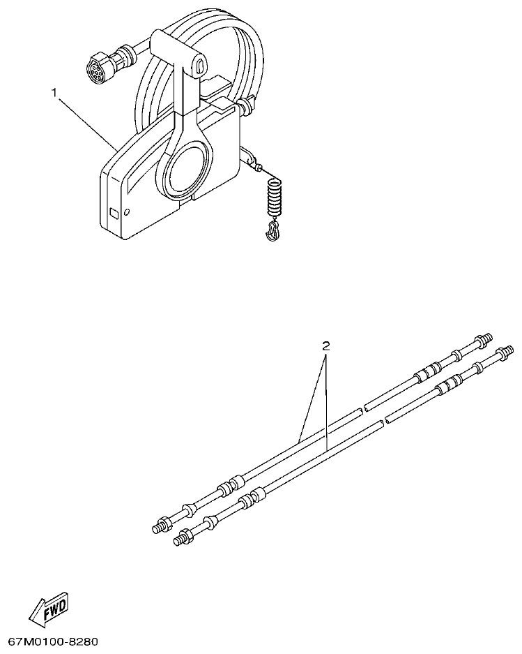
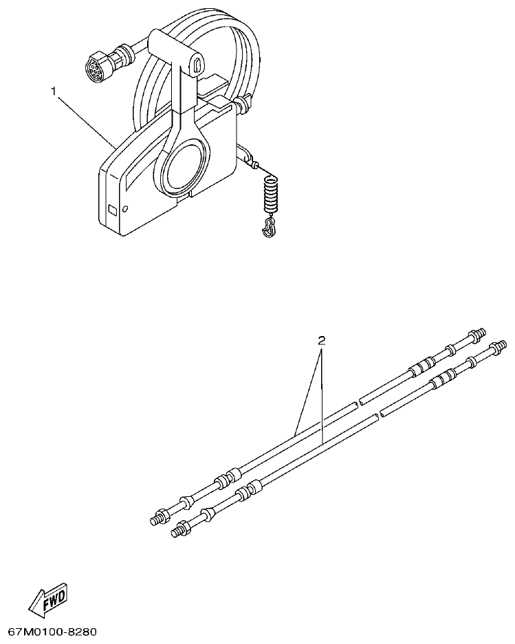
Yamaha F20A, F25A REMOTE CONTROL BOX parts diagram
Fig. 30 — REMOTE CONTROL BOX
6 items
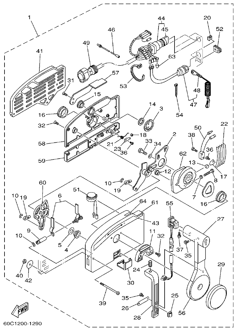
Yamaha F20A, F25A REMOTE CONTROL ASSY parts diagram
Fig. 31 — REMOTE CONTROL ASSY
68 items · 11 available products
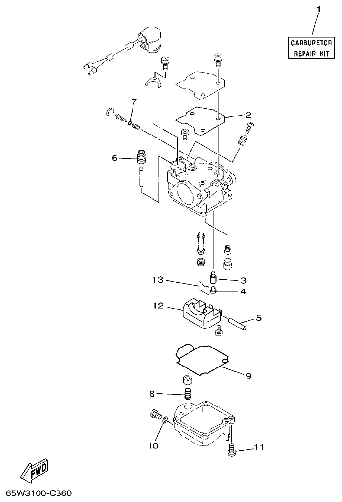
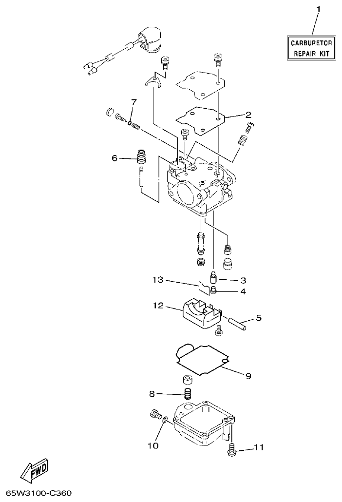
Yamaha F20A, F25A REPAIR KIT 1 parts diagram
Fig. 32 — REPAIR KIT 1
22 items · 2 available products
Yamaha F20A, F25A REPAIR KIT 2 parts diagram
Fig. 33 — REPAIR KIT 2
13 items · 4 available products
Yamaha F20A, F25A REPAIR KIT 3 parts diagram
Fig. 34 — REPAIR KIT 3
31 items · 5 available products
Yamaha F20A, F25A TOP COWLING parts diagram
Fig. 1 — TOP COWLING
19 items
Yamaha F20A, F25A CYLINDER & CRANKCASE 1 parts diagram
Fig. 2 — CYLINDER & CRANKCASE 1
33 items · 5 available products
Yamaha F20A, F25A CRANKSHAFT & PISTON parts diagram
Fig. 3 — CRANKSHAFT & PISTON
22 items · 7 available products
Yamaha F20A, F25A CYLINDER & CRANKCASE 2 parts diagram
Fig. 4 — CYLINDER & CRANKCASE 2
29 items · 3 available products
Yamaha F20A, F25A VALVE parts diagram
Fig. 5 — VALVE
15 items · 3 available products
Yamaha F20A, F25A INTAKE parts diagram
Fig. 6 — INTAKE
19 items
Yamaha F20A, F25A CARBURETOR parts diagram
Fig. 7 — CARBURETOR
45 items · 5 available products
Yamaha F20A, F25A OIL PUMP parts diagram
Fig. 8 — OIL PUMP
17 items · 2 available products
Yamaha F20A, F25A FUEL parts diagram
Fig. 9 — FUEL
51 items · 3 available products
Yamaha F20A, F25A STARTER parts diagram
Fig. 10 — STARTER
43 items · 1 available products
Yamaha F20A, F25A GENERATOR parts diagram
Fig. 11 — GENERATOR
33 items
Yamaha F20A, F25A ELECTRICAL 1 parts diagram
Fig. 12 — ELECTRICAL 1
31 items · 1 available products
Yamaha F20A, F25A ELECTRICAL 2 parts diagram
Fig. 13 — ELECTRICAL 2
39 items · 1 available products
Yamaha F20A, F25A ELECTRICAL 3 parts diagram
Fig. 14 — ELECTRICAL 3
7 items · 3 available products
Yamaha F20A, F25A STARTING MOTOR parts diagram
Fig. 15 — STARTING MOTOR
15 items
Yamaha F20A, F25A BOTTOM COWLING parts diagram
Fig. 16 — BOTTOM COWLING
48 items
Yamaha F20A, F25A STEERING parts diagram
Fig. 17 — STEERING
42 items · 2 available products
Yamaha F20A, F25A CONTROL parts diagram
Fig. 18 — CONTROL
35 items · 3 available products
Yamaha F20A, F25A REMO CON ATTACHMENT parts diagram
Fig. 19 — REMO CON ATTACHMENT
20 items · 1 available products
Yamaha F20A, F25A BRACKET 1 parts diagram
Fig. 20 — BRACKET 1
60 items · 3 available products
Yamaha F20A, F25A BRACKET 2 parts diagram
Fig. 21 — BRACKET 2
36 items · 4 available products
Yamaha F20A, F25A BRACKET 3 parts diagram
Fig. 22 — BRACKET 3
28 items
Yamaha F20A, F25A POWER TRIM & TILT ASSY parts diagram
Fig. 23 — POWER TRIM & TILT ASSY
64 items · 8 available products
Yamaha F20A, F25A UPPER CASING parts diagram
Fig. 24 — UPPER CASING
23 items · 1 available products
Yamaha F20A, F25A OIL PAN parts diagram
Fig. 25 — OIL PAN
17 items
Yamaha F20A, F25A LOWER CASING & DRIVE 1 parts diagram
Fig. 26 — LOWER CASING & DRIVE 1
78 items · 22 available products
Yamaha F20A, F25A LOWER CASING & DRIVE 2 parts diagram
Fig. 27 — LOWER CASING & DRIVE 2
27 items · 5 available products
Yamaha F20A, F25A FUEL TANK parts diagram
Fig. 28 — FUEL TANK
10 items
Yamaha F20A, F25A STEERING GUIDE parts diagram
Fig. 29 — STEERING GUIDE
10 items · 1 available products
Yamaha F20A, F25A REMOTE CONTROL BOX parts diagram
Fig. 30 — REMOTE CONTROL BOX
6 items
Yamaha F20A, F25A REMOTE CONTROL ASSY parts diagram
Fig. 31 — REMOTE CONTROL ASSY
68 items · 11 available products
Yamaha F20A, F25A REPAIR KIT 1 parts diagram
Fig. 32 — REPAIR KIT 1
22 items · 2 available products
Yamaha F20A, F25A REPAIR KIT 2 parts diagram
Fig. 33 — REPAIR KIT 2
13 items · 4 available products
Yamaha F20A, F25A REPAIR KIT 3 parts diagram
Fig. 34 — REPAIR KIT 3
31 items · 5 available products