Catalogs / Yamaha / Outboard

Yamaha F20CMH, F20CE Parts Catalog

Browse 34 catalog sections for Yamaha F20CMH, F20CE. Open a section to view the parts diagram, reference numbers and available products.

Yamaha F20CMH, F20CE SCHEDULED SERVICE PARTS parts diagram
Fig. 1 — SCHEDULED SERVICE PARTS
14 items · 5 available products
Yamaha F20CMH, F20CE TOP COWLING parts diagram
Fig. 2 — TOP COWLING
18 items
Yamaha F20CMH, F20CE CYLINDER & CRANKCASE 1 parts diagram
Fig. 3 — CYLINDER & CRANKCASE 1
29 items · 6 available products
Yamaha F20CMH, F20CE CRANKSHAFT & PISTON parts diagram
Fig. 4 — CRANKSHAFT & PISTON
16 items · 2 available products
Yamaha F20CMH, F20CE CYLINDER & CRANKCASE 2 parts diagram
Fig. 5 — CYLINDER & CRANKCASE 2
22 items · 3 available products
Yamaha F20CMH, F20CE VALVE parts diagram
Fig. 6 — VALVE
15 items · 2 available products
Yamaha F20CMH, F20CE INTAKE parts diagram
Fig. 7 — INTAKE
15 items
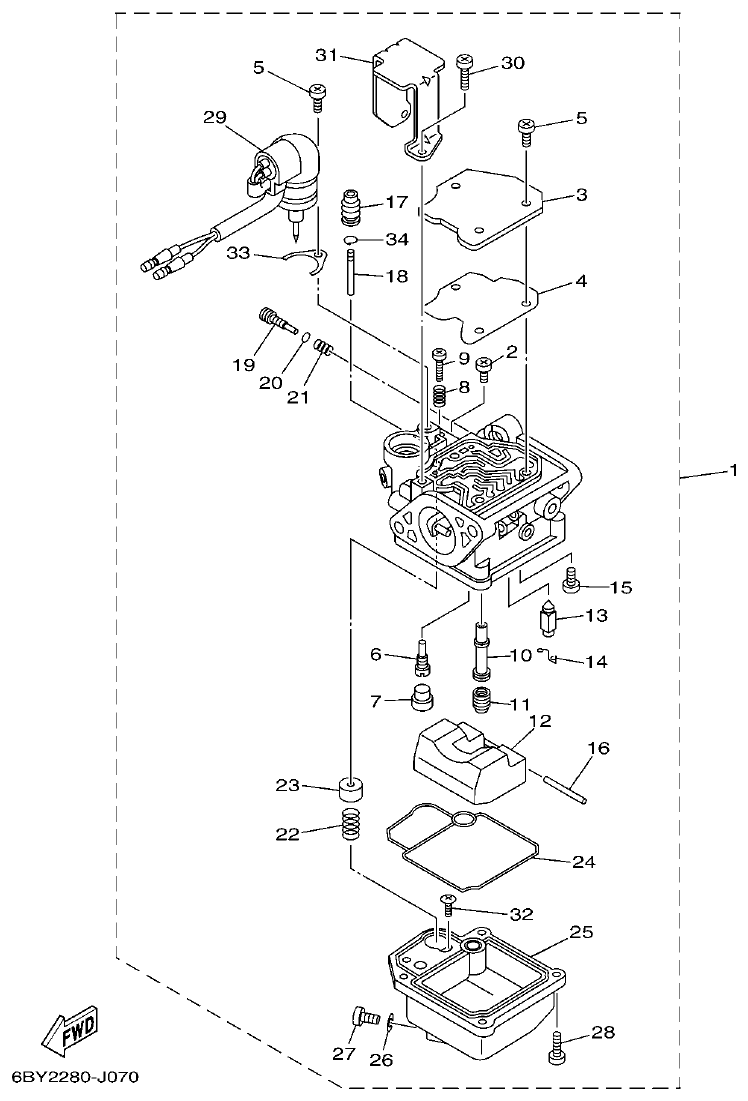
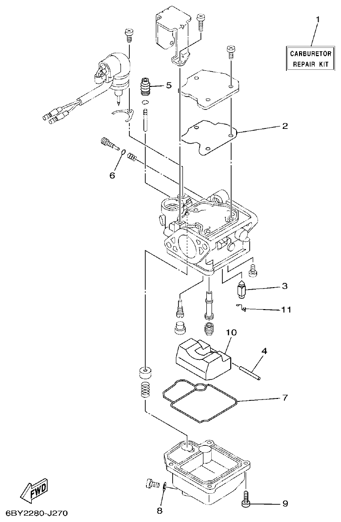
Yamaha F20CMH, F20CE CARBURETOR parts diagram
Fig. 8 — CARBURETOR
37 items · 5 available products
Yamaha F20CMH, F20CE OIL PUMP parts diagram
Fig. 9 — OIL PUMP
21 items · 1 available products
Yamaha F20CMH, F20CE FUEL parts diagram
Fig. 10 — FUEL
42 items · 4 available products
Yamaha F20CMH, F20CE STARTER parts diagram
Fig. 11 — STARTER
32 items · 5 available products
Yamaha F20CMH, F20CE GENERATOR parts diagram
Fig. 12 — GENERATOR
10 items
Yamaha F20CMH, F20CE ELECTRICAL 1 parts diagram
Fig. 13 — ELECTRICAL 1
42 items · 1 available products
Yamaha F20CMH, F20CE ELECTRICAL 2 parts diagram
Fig. 14 — ELECTRICAL 2
38 items
Yamaha F20CMH, F20CE ELECTRICAL 3 parts diagram
Fig. 15 — ELECTRICAL 3
11 items
Yamaha F20CMH, F20CE STARTING MOTOR parts diagram
Fig. 16 — STARTING MOTOR
20 items · 3 available products
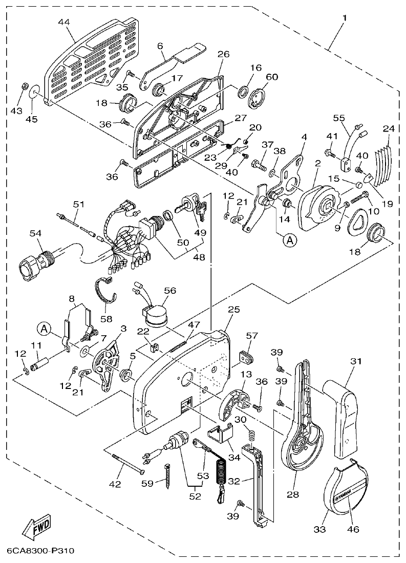
Yamaha F20CMH, F20CE BOTTOM COWLING parts diagram
Fig. 17 — BOTTOM COWLING
51 items · 5 available products
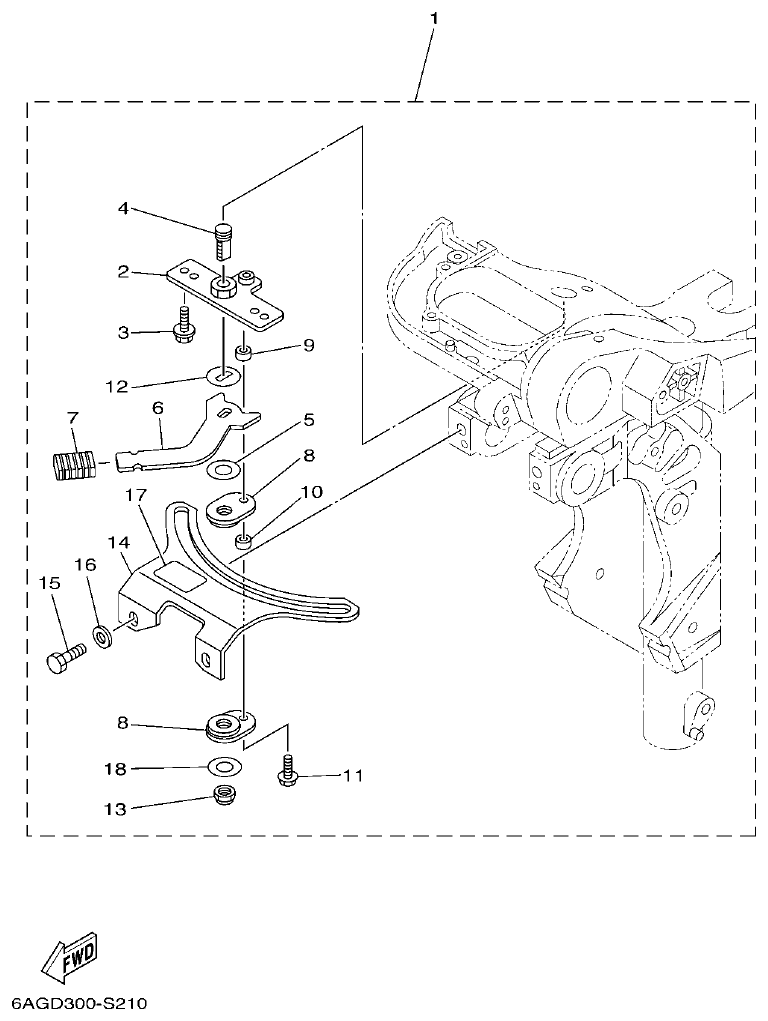
Yamaha F20CMH, F20CE STEERING parts diagram
Fig. 18 — STEERING
41 items · 7 available products
Yamaha F20CMH, F20CE STEERING FRICTION parts diagram
Fig. 19 — STEERING FRICTION
18 items
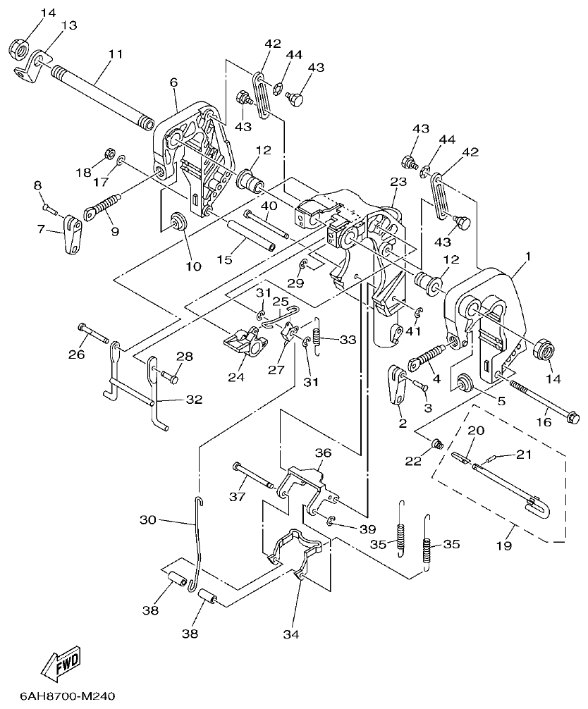
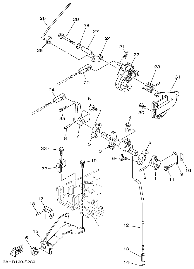
Yamaha F20CMH, F20CE CONTROL 1 parts diagram
Fig. 20 — CONTROL 1
31 items · 2 available products
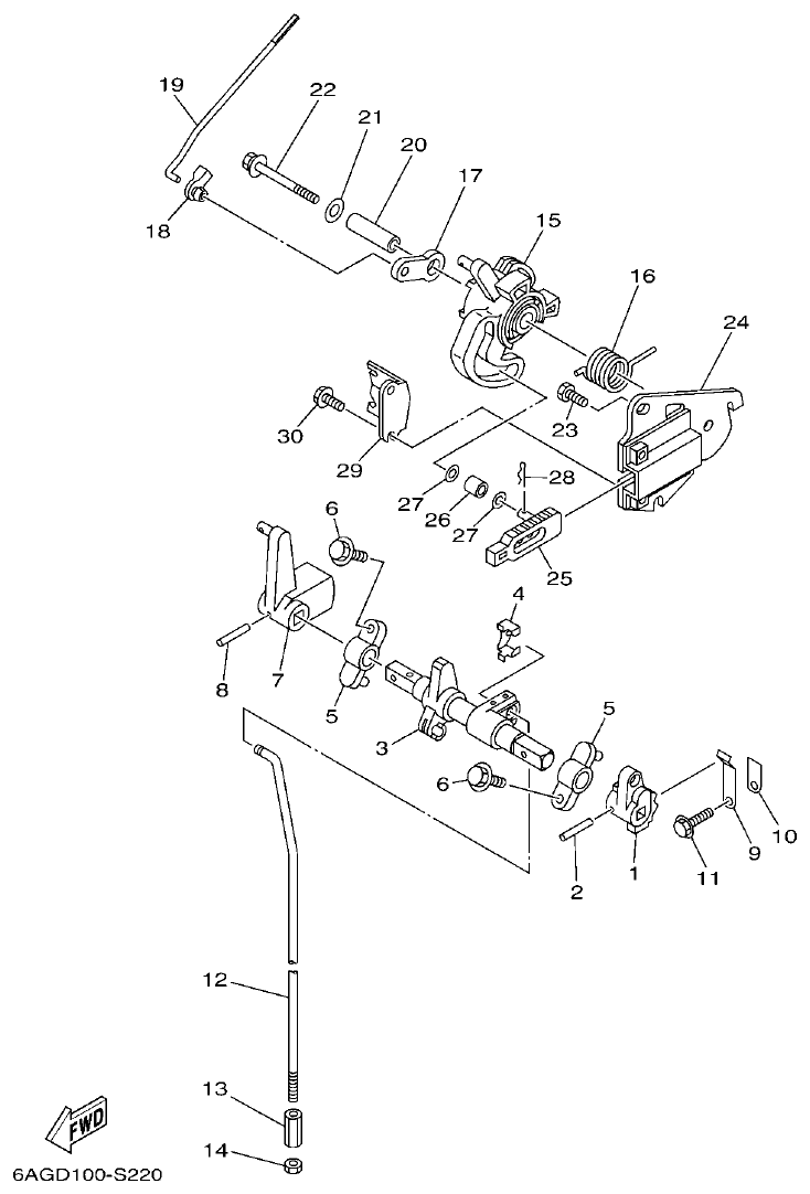
Yamaha F20CMH, F20CE CONTROL 2 parts diagram
Fig. 21 — CONTROL 2
35 items · 3 available products
Yamaha F20CMH, F20CE BRACKET 1 parts diagram
Fig. 22 — BRACKET 1
45 items · 3 available products
Yamaha F20CMH, F20CE BRACKET 2 parts diagram
Fig. 23 — BRACKET 2
30 items
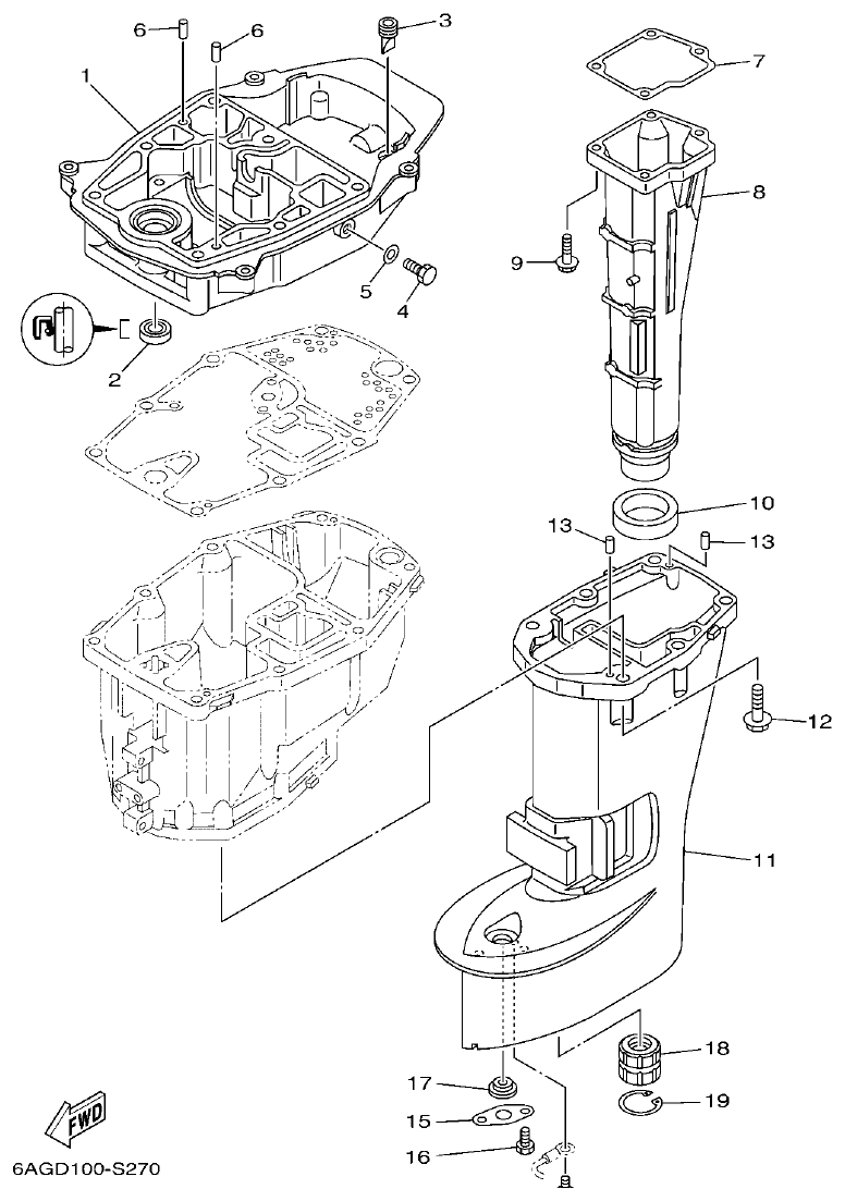
Yamaha F20CMH, F20CE UPPER CASING parts diagram
Fig. 24 — UPPER CASING
21 items
Yamaha F20CMH, F20CE OIL PAN parts diagram
Fig. 25 — OIL PAN
14 items
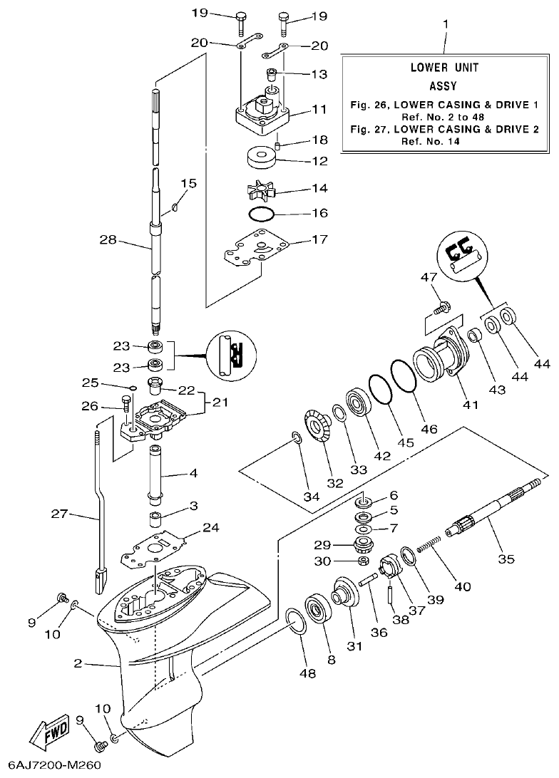
Yamaha F20CMH, F20CE LOWER CASING & DRIVE 1 parts diagram
Fig. 26 — LOWER CASING & DRIVE 1
62 items · 18 available products
Yamaha F20CMH, F20CE LOWER CASING & DRIVE 2 parts diagram
Fig. 27 — LOWER CASING & DRIVE 2
28 items · 5 available products
Yamaha F20CMH, F20CE FUEL TANK parts diagram
Fig. 28 — FUEL TANK
16 items · 4 available products
Yamaha F20CMH, F20CE STEERING GUIDE parts diagram
Fig. 29 — STEERING GUIDE
9 items · 1 available products
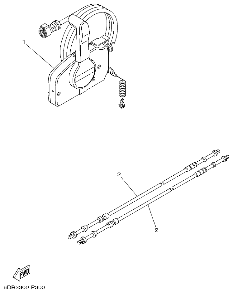
Yamaha F20CMH, F20CE REMOTE CONTROL BOX parts diagram
Fig. 30 — REMOTE CONTROL BOX
2 items
Yamaha F20CMH, F20CE REMOTE CONTROL ASSY parts diagram
Fig. 31 — REMOTE CONTROL ASSY
60 items · 9 available products
Yamaha F20CMH, F20CE REPAIR KIT 1 parts diagram
Fig. 32 — REPAIR KIT 1
18 items · 2 available products
Yamaha F20CMH, F20CE REPAIR KIT 2 parts diagram
Fig. 33 — REPAIR KIT 2
11 items · 3 available products
Yamaha F20CMH, F20CE REPAIR KIT 3 parts diagram
Fig. 34 — REPAIR KIT 3
31 items · 4 available products