Catalogs / Yamaha / Outboard

Yamaha F225FET, FL225FET Parts Catalog

Browse 41 catalog sections for Yamaha F225FET, FL225FET. Open a section to view the parts diagram, reference numbers and available products.

Yamaha F225FET, FL225FET TOP COWLING parts diagram
Fig. 1 — TOP COWLING
24 items
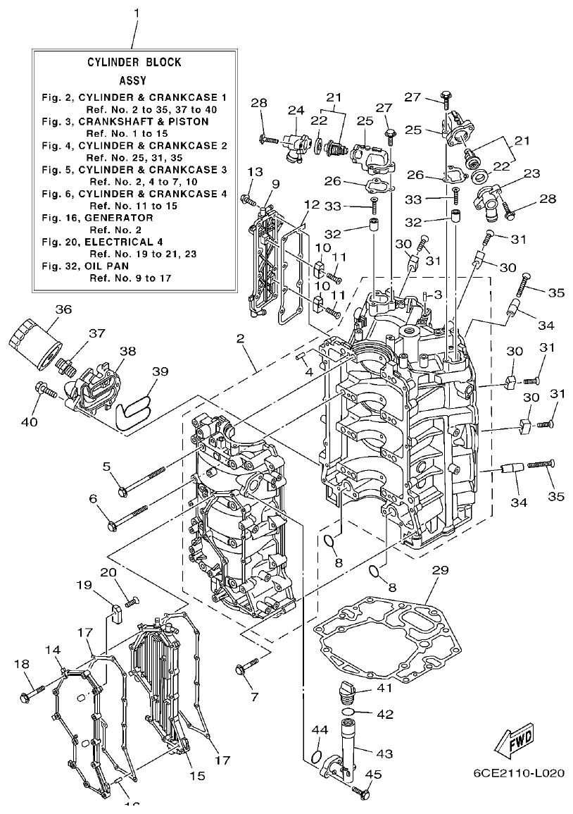
Yamaha F225FET, FL225FET CYLINDER & CRANKCASE 1 parts diagram
Fig. 2 — CYLINDER & CRANKCASE 1
45 items · 10 available products
Yamaha F225FET, FL225FET CRANKSHAFT & PISTON parts diagram
Fig. 3 — CRANKSHAFT & PISTON
25 items · 17 available products
Yamaha F225FET, FL225FET CYLINDER & CRANKCASE 2 parts diagram
Fig. 4 — CYLINDER & CRANKCASE 2
46 items · 7 available products
Yamaha F225FET, FL225FET CYLINDER & CRANKCASE 3 parts diagram
Fig. 5 — CYLINDER & CRANKCASE 3
10 items · 2 available products
Yamaha F225FET, FL225FET CYLINDER & CRANKCASE 4 parts diagram
Fig. 6 — CYLINDER & CRANKCASE 4
15 items · 2 available products
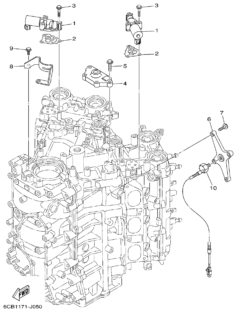
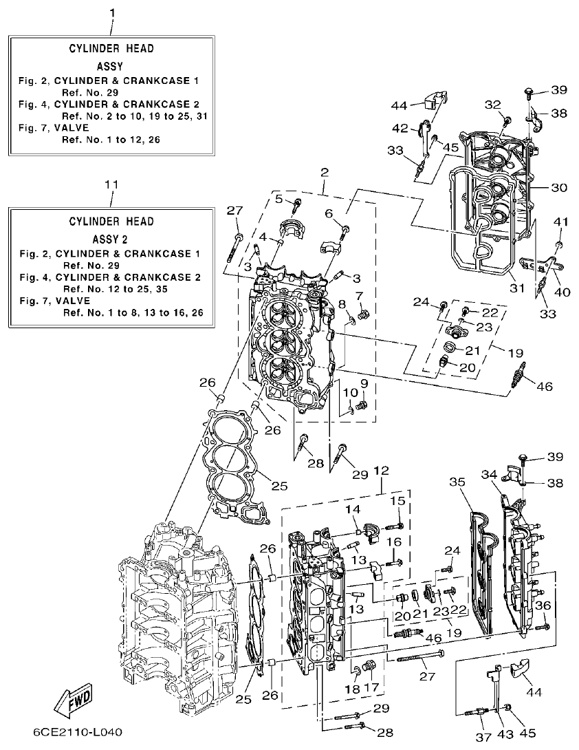
Yamaha F225FET, FL225FET VALVE parts diagram
Fig. 7 — VALVE
66 items · 39 available products
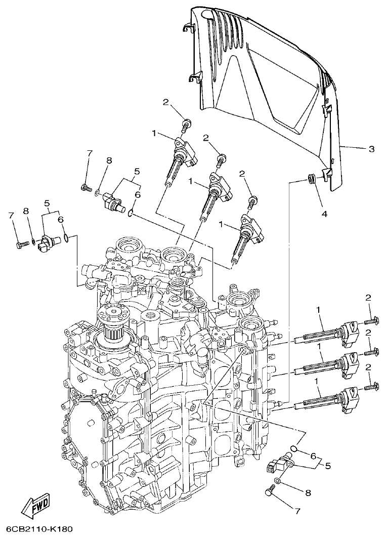
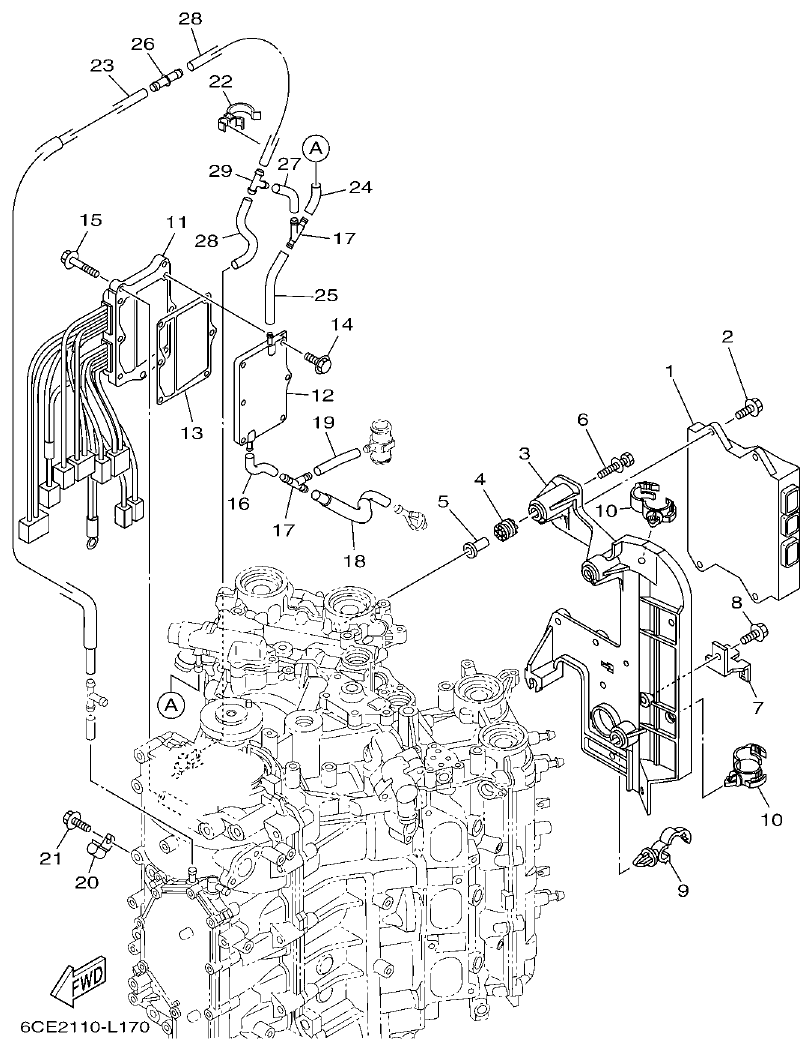
Yamaha F225FET, FL225FET INTAKE 1 parts diagram
Fig. 8 — INTAKE 1
23 items · 3 available products
Yamaha F225FET, FL225FET INTAKE 2 parts diagram
Fig. 9 — INTAKE 2
34 items · 3 available products
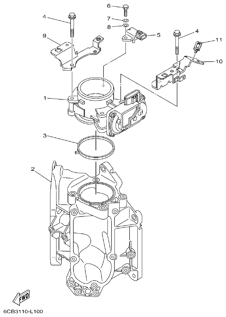
Yamaha F225FET, FL225FET THROTTLE BODY ASSY 1 parts diagram
Fig. 10 — THROTTLE BODY ASSY 1
11 items · 1 available products
Yamaha F225FET, FL225FET THROTTLE BODY ASSY 2 parts diagram
Fig. 11 — THROTTLE BODY ASSY 2
9 items · 2 available products
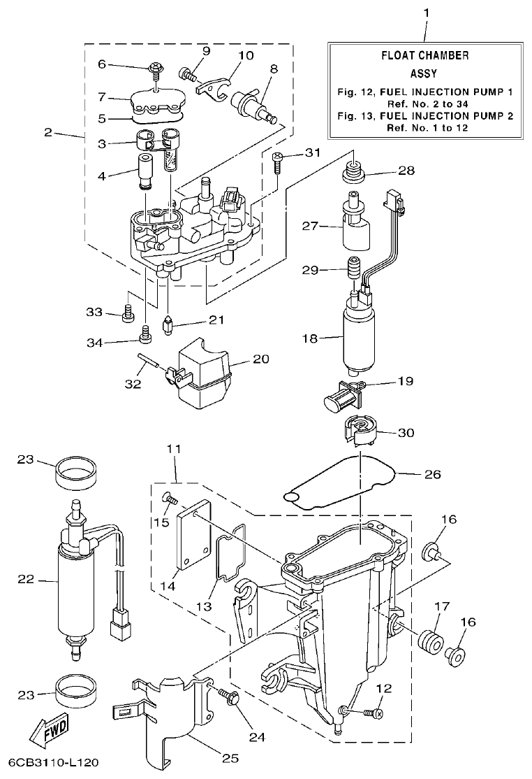
Yamaha F225FET, FL225FET FUEL INJECTION PUMP 1 parts diagram
Fig. 12 — FUEL INJECTION PUMP 1
34 items · 13 available products
Yamaha F225FET, FL225FET FUEL INJECTION PUMP 2 parts diagram
Fig. 13 — FUEL INJECTION PUMP 2
16 items · 2 available products
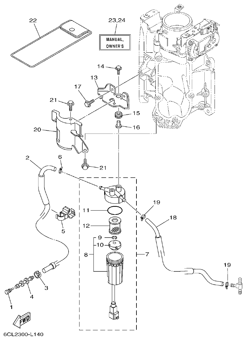
Yamaha F225FET, FL225FET FUEL 1 parts diagram
Fig. 14 — FUEL 1
34 items · 5 available products
Yamaha F225FET, FL225FET FUEL 2 parts diagram
Fig. 15 — FUEL 2
1 items
Yamaha F225FET, FL225FET GENERATOR parts diagram
Fig. 16 — GENERATOR
18 items · 2 available products
Yamaha F225FET, FL225FET ELECTRICAL 1 parts diagram
Fig. 17 — ELECTRICAL 1
29 items · 3 available products
Yamaha F225FET, FL225FET ELECTRICAL 2 parts diagram
Fig. 18 — ELECTRICAL 2
8 items · 1 available products
Yamaha F225FET, FL225FET ELECTRICAL 3 parts diagram
Fig. 19 — ELECTRICAL 3
41 items · 6 available products
Yamaha F225FET, FL225FET ELECTRICAL 4 parts diagram
Fig. 20 — ELECTRICAL 4
34 items · 3 available products
Yamaha F225FET, FL225FET ELECTRICAL 5 parts diagram
Fig. 21 — ELECTRICAL 5
15 items · 1 available products
Yamaha F225FET, FL225FET STARTING MOTOR parts diagram
Fig. 22 — STARTING MOTOR
24 items · 3 available products
Yamaha F225FET, FL225FET BOTTOM COWLING 1 parts diagram
Fig. 23 — BOTTOM COWLING 1
35 items · 5 available products
Yamaha F225FET, FL225FET BOTTOM COWLING 2 parts diagram
Fig. 24 — BOTTOM COWLING 2
35 items · 4 available products
Yamaha F225FET, FL225FET BOTTOM COWLING 3 parts diagram
Fig. 25 — BOTTOM COWLING 3
15 items
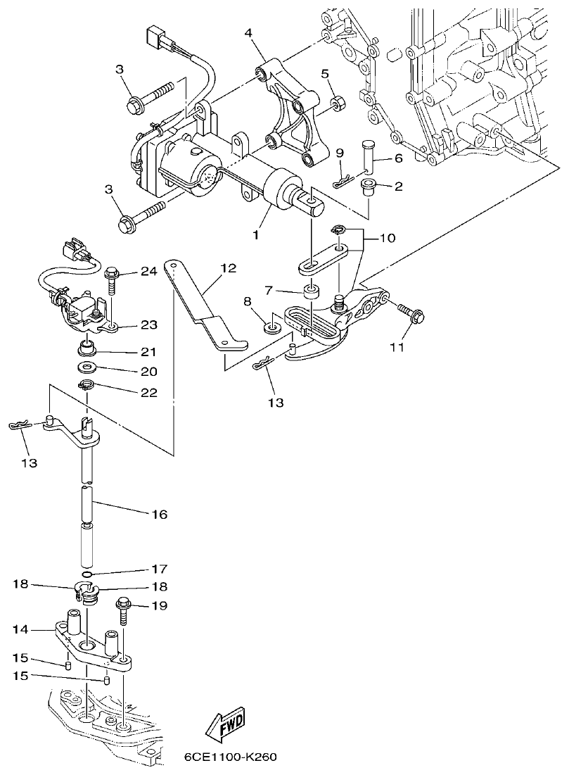
Yamaha F225FET, FL225FET CONTROL parts diagram
Fig. 26 — CONTROL
25 items · 2 available products
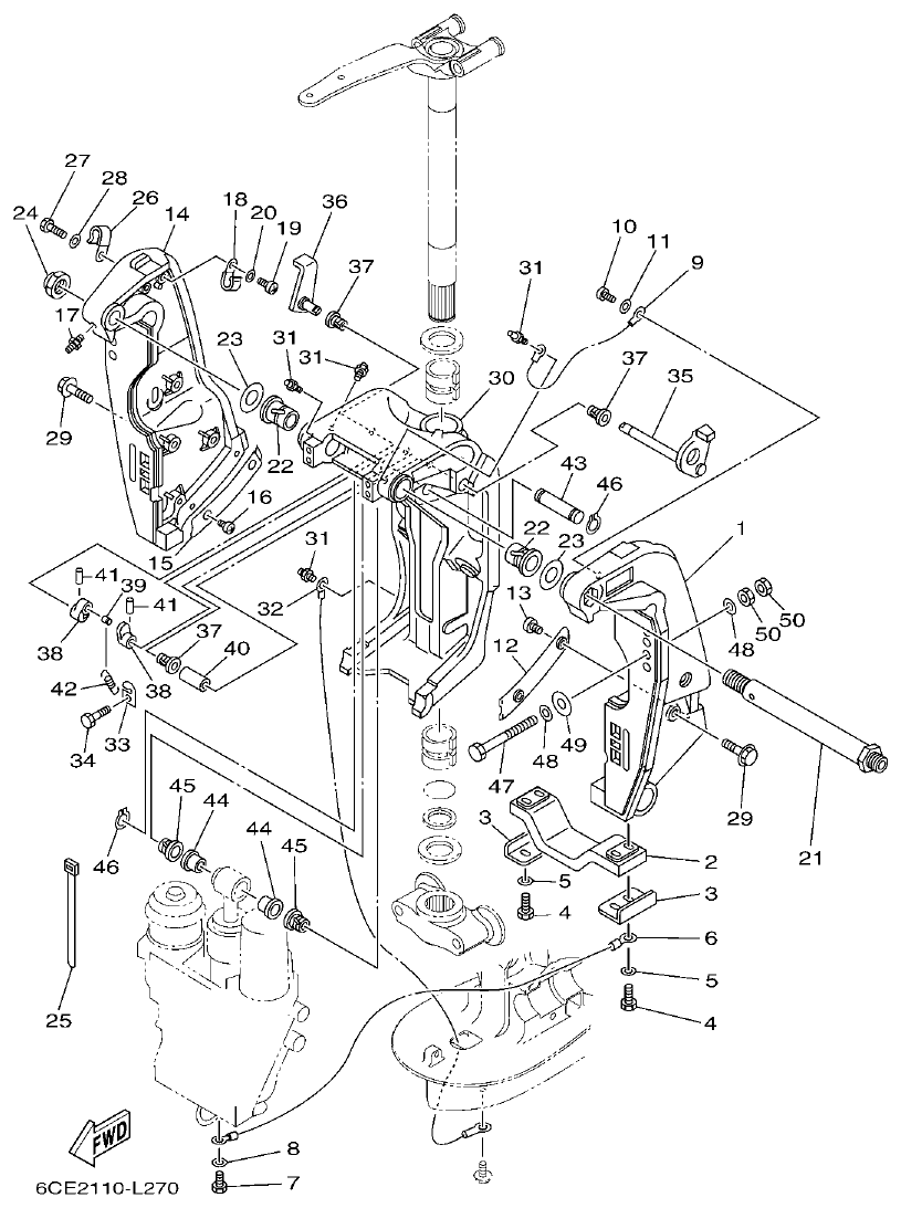
Yamaha F225FET, FL225FET BRACKET 1 parts diagram
Fig. 27 — BRACKET 1
50 items · 9 available products
Yamaha F225FET, FL225FET BRACKET 2 parts diagram
Fig. 28 — BRACKET 2
33 items · 5 available products
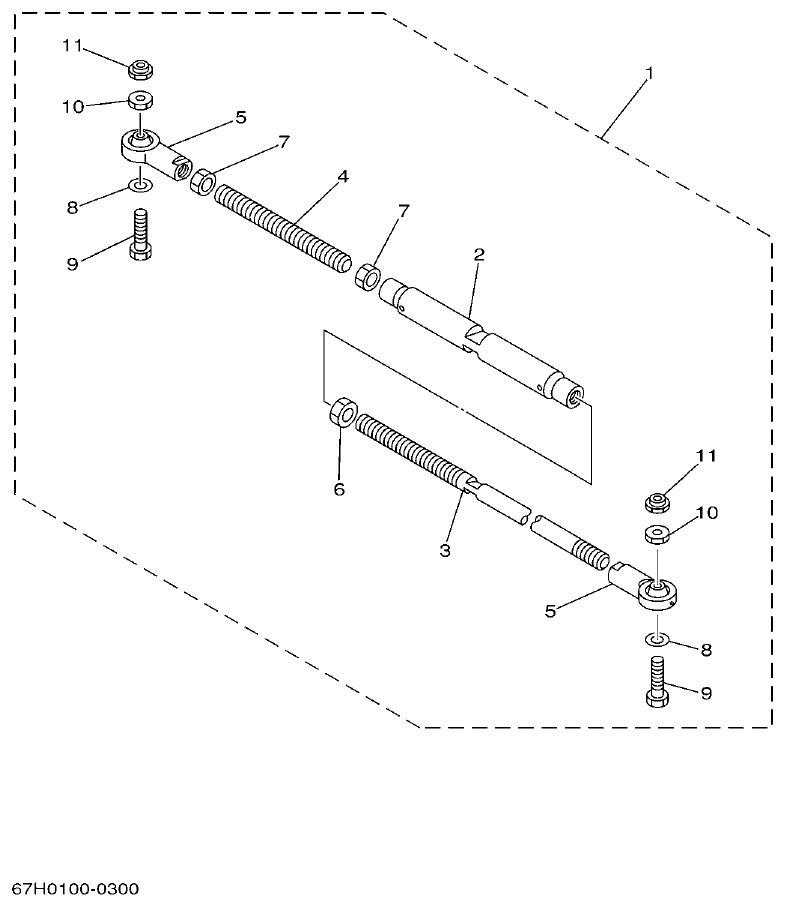
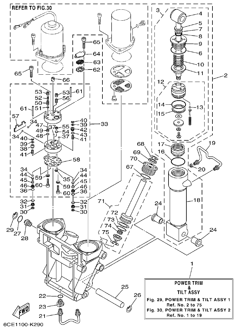
Yamaha F225FET, FL225FET POWER TRIM & TILT ASSY 1 parts diagram
Fig. 29 — POWER TRIM & TILT ASSY 1
75 items · 26 available products
Yamaha F225FET, FL225FET POWER TRIM & TILT ASSY 2 parts diagram
Fig. 30 — POWER TRIM & TILT ASSY 2
19 items · 12 available products
Yamaha F225FET, FL225FET UPPER CASING parts diagram
Fig. 31 — UPPER CASING
48 items · 11 available products
Yamaha F225FET, FL225FET OIL PAN parts diagram
Fig. 32 — OIL PAN
21 items · 9 available products
Yamaha F225FET, FL225FET LOWER CASING & DRIVE 1 parts diagram
Fig. 33 — LOWER CASING & DRIVE 1
105 items · 53 available products
Yamaha F225FET, FL225FET LOWER CASING & DRIVE 2 parts diagram
Fig. 34 — LOWER CASING & DRIVE 2
44 items · 14 available products
Yamaha F225FET, FL225FET LOWER CASING & DRIVE 3 parts diagram
Fig. 35 — LOWER CASING & DRIVE 3
100 items · 51 available products
Yamaha F225FET, FL225FET LOWER CASING & DRIVE 4 parts diagram
Fig. 36 — LOWER CASING & DRIVE 4
38 items · 15 available products
Yamaha F225FET, FL225FET STEERING GUIDE ATTACHMENT 1 DIRECTION GUIDE ACCESSOIRE 1 parts diagram
Fig. 37 — STEERING GUIDE ATTACHMENT 1 DIRECTION GUIDE ACCESSOIRE 1
9 items · 2 available products
Yamaha F225FET, FL225FET STEERING GUIDE ATTACHMENT 2 DIRECTION GUIDE ACCESSOIRE 2 parts diagram
Fig. 38 — STEERING GUIDE ATTACHMENT 2 DIRECTION GUIDE ACCESSOIRE 2
11 items · 1 available products
Yamaha F225FET, FL225FET OPTIONAL PARTS parts diagram
Fig. 39 — OPTIONAL PARTS
20 items · 1 available products
Yamaha F225FET, FL225FET REPAIR KIT 1 parts diagram
Fig. 40 — REPAIR KIT 1
19 items · 8 available products
Yamaha F225FET, FL225FET REPAIR KIT 2 parts diagram
Fig. 41 — REPAIR KIT 2
37 items · 13 available products