Catalogs / Yamaha / Outboard

Yamaha F25D Parts Catalog

Browse 39 catalog sections for Yamaha F25D. Open a section to view the parts diagram, reference numbers and available products.

Yamaha F25D TOP COWLING parts diagram
Fig. 1 — TOP COWLING
18 items
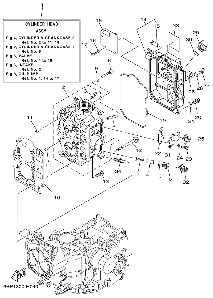
Yamaha F25D CYLINDER & CRANKCASE 1 parts diagram
Fig. 2 — CYLINDER & CRANKCASE 1
38 items · 6 available products
Yamaha F25D CRANKSHAFT & PISTON parts diagram
Fig. 3 — CRANKSHAFT & PISTON
22 items · 3 available products
Yamaha F25D CYLINDER & CRANKCASE 2 parts diagram
Fig. 4 — CYLINDER & CRANKCASE 2
34 items · 1 available products
Yamaha F25D VALVE parts diagram
Fig. 5 — VALVE
19 items · 3 available products
Yamaha F25D INTAKE parts diagram
Fig. 6 — INTAKE
16 items
Yamaha F25D CARBURETOR parts diagram
Fig. 7 — CARBURETOR
36 items · 4 available products
Yamaha F25D OIL PUMP parts diagram
Fig. 8 — OIL PUMP
19 items · 2 available products
Yamaha F25D FUEL parts diagram
Fig. 9 — FUEL
47 items · 3 available products
Yamaha F25D STARTER parts diagram
Fig. 10 — STARTER
31 items · 7 available products
Yamaha F25D GENERATOR parts diagram
Fig. 11 — GENERATOR
22 items
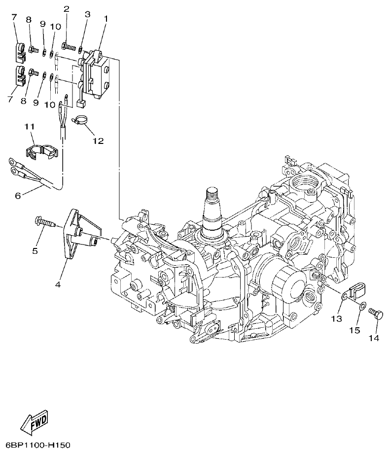
Yamaha F25D ELECTRICAL 1 parts diagram
Fig. 12 — ELECTRICAL 1
20 items
Yamaha F25D ELECTRICAL 2 parts diagram
Fig. 13 — ELECTRICAL 2
23 items · 1 available products
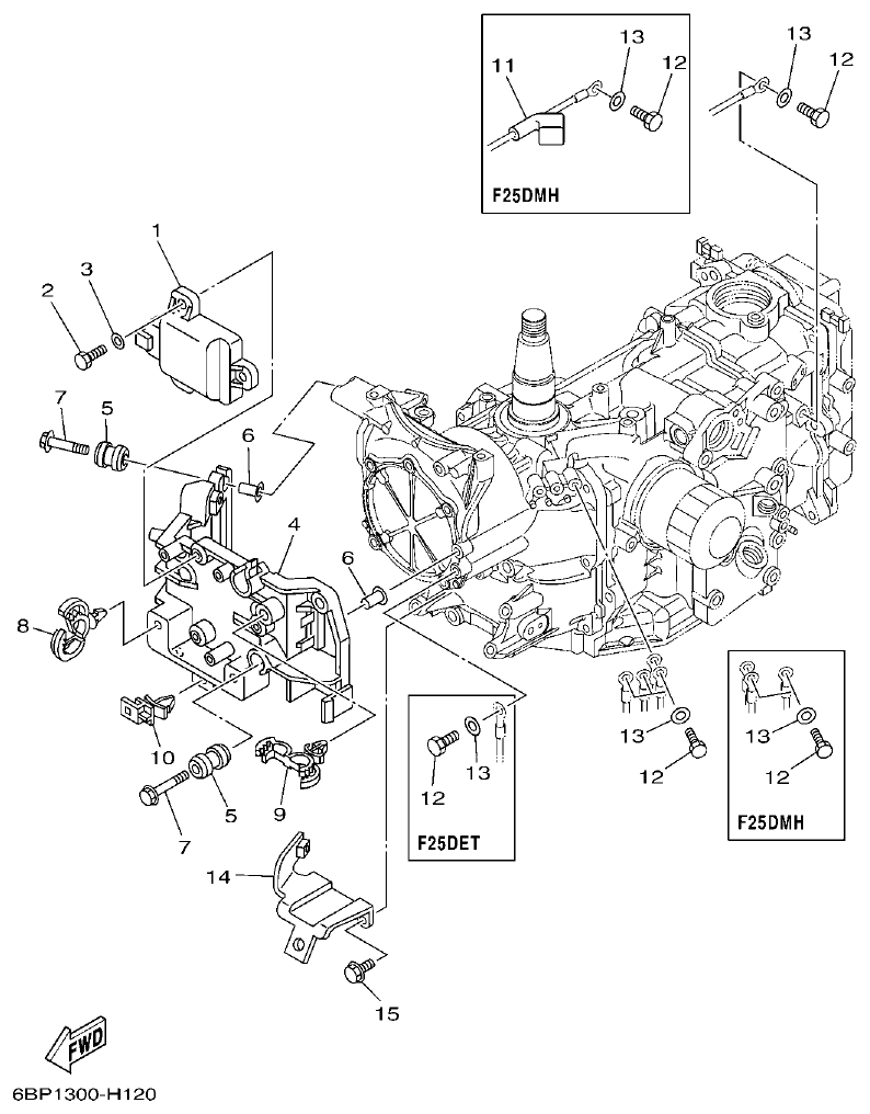
Yamaha F25D ELECTRICAL 3 parts diagram
Fig. 14 — ELECTRICAL 3
24 items
Yamaha F25D ELECTRICAL 4 parts diagram
Fig. 15 — ELECTRICAL 4
15 items · 1 available products
Yamaha F25D ELECTRICAL 5 parts diagram
Fig. 16 — ELECTRICAL 5
25 items
Yamaha F25D STARTING MOTOR parts diagram
Fig. 17 — STARTING MOTOR
17 items
Yamaha F25D BOTTOM COWLING 1 parts diagram
Fig. 18 — BOTTOM COWLING 1
44 items · 3 available products
Yamaha F25D BOTTOM COWLING 2 parts diagram
Fig. 19 — BOTTOM COWLING 2
16 items · 1 available products
Yamaha F25D STEERING parts diagram
Fig. 20 — STEERING
45 items · 5 available products
Yamaha F25D STEERING FRICTION parts diagram
Fig. 21 — STEERING FRICTION
14 items
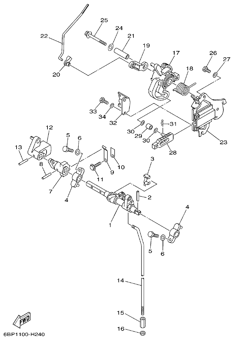
Yamaha F25D CONTROL 1 parts diagram
Fig. 22 — CONTROL 1
39 items · 1 available products
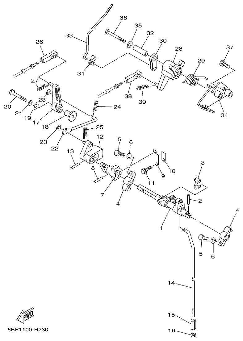
Yamaha F25D CONTROL 2 parts diagram
Fig. 23 — CONTROL 2
34 items · 1 available products
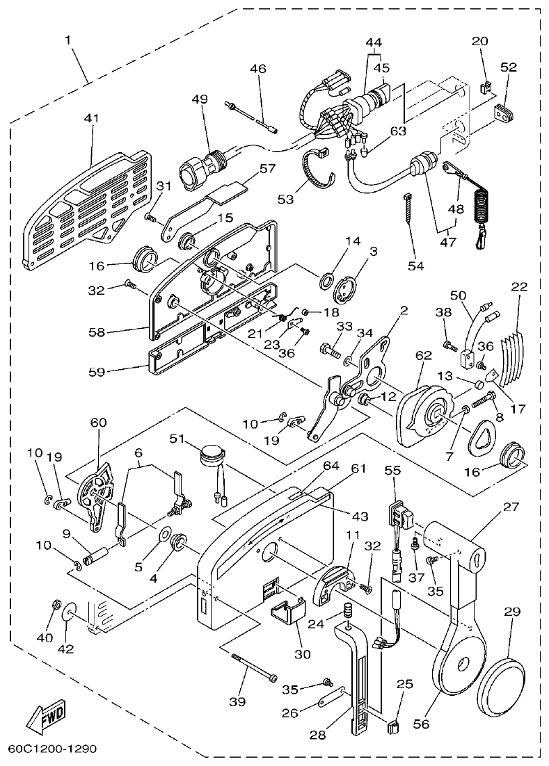
Yamaha F25D REMO CON ATTACHMENT parts diagram
Fig. 24 — REMO CON ATTACHMENT
32 items · 1 available products
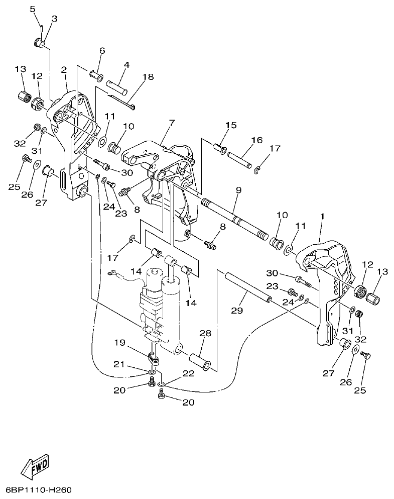
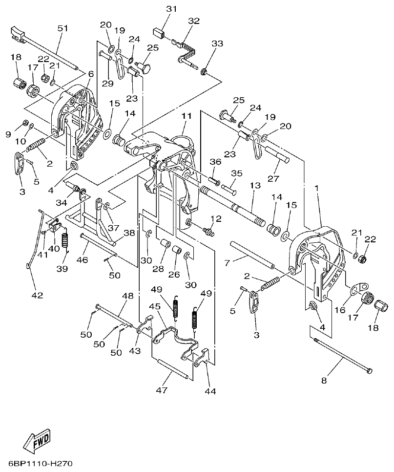
Yamaha F25D BRACKET 1 parts diagram
Fig. 25 — BRACKET 1
32 items · 4 available products
Yamaha F25D BRACKET 2 parts diagram
Fig. 26 — BRACKET 2
52 items · 3 available products
Yamaha F25D BRACKET 3 parts diagram
Fig. 27 — BRACKET 3
29 items
Yamaha F25D POWER TRIM & TILT ASSY parts diagram
Fig. 28 — POWER TRIM & TILT ASSY
66 items · 9 available products
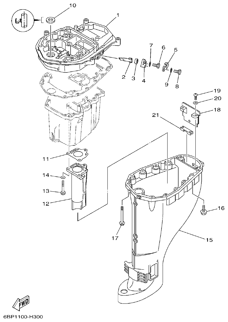
Yamaha F25D UPPER CASING parts diagram
Fig. 29 — UPPER CASING
21 items · 1 available products
Yamaha F25D OIL PAN parts diagram
Fig. 30 — OIL PAN
22 items
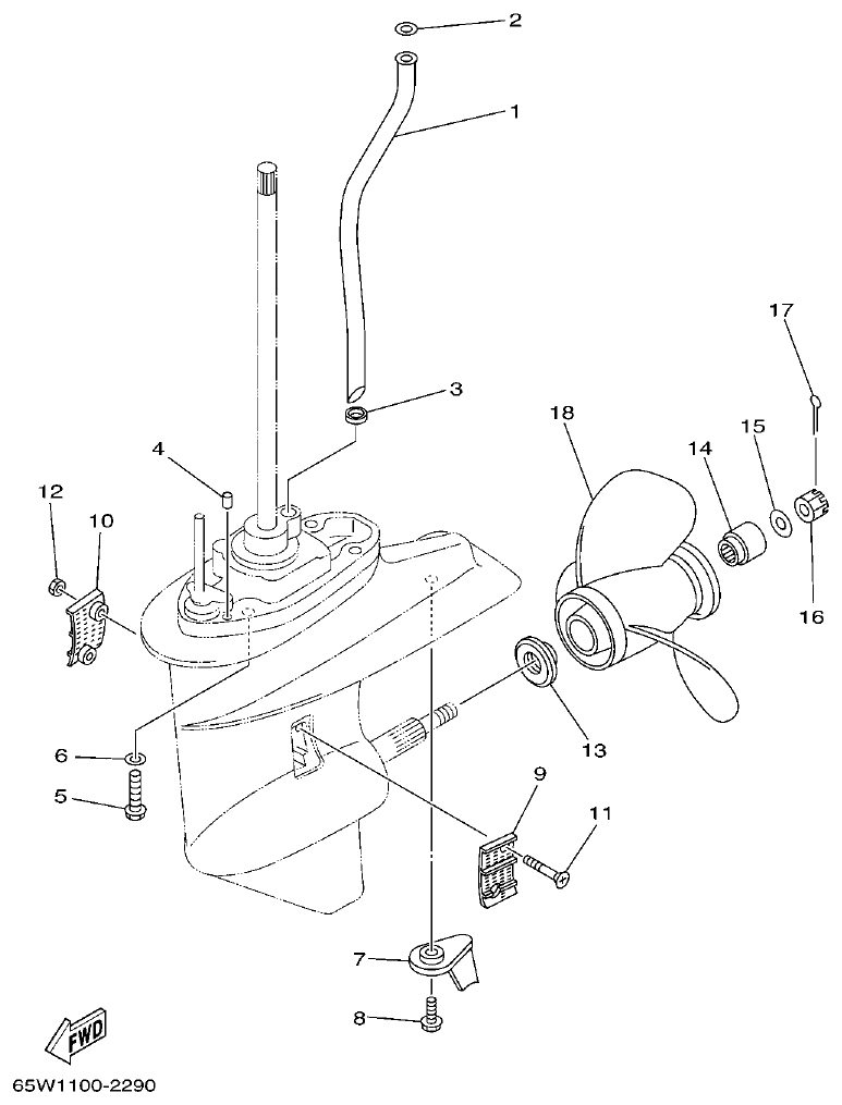
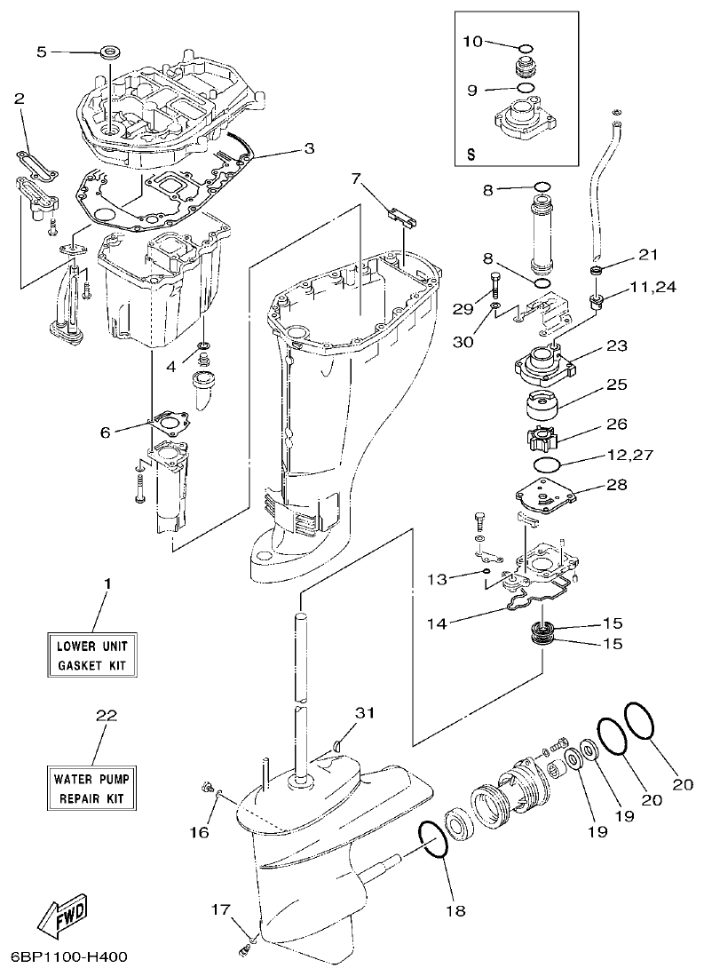
Yamaha F25D LOWER CASING & DRIVE 1 parts diagram
Fig. 31 — LOWER CASING & DRIVE 1
72 items · 20 available products
Yamaha F25D LOWER CASING & DRIVE 2 parts diagram
Fig. 32 — LOWER CASING & DRIVE 2
26 items · 5 available products
Yamaha F25D FUEL TANK parts diagram
Fig. 33 — FUEL TANK
7 items
Yamaha F25D STEERING GUIDE parts diagram
Fig. 34 — STEERING GUIDE
9 items
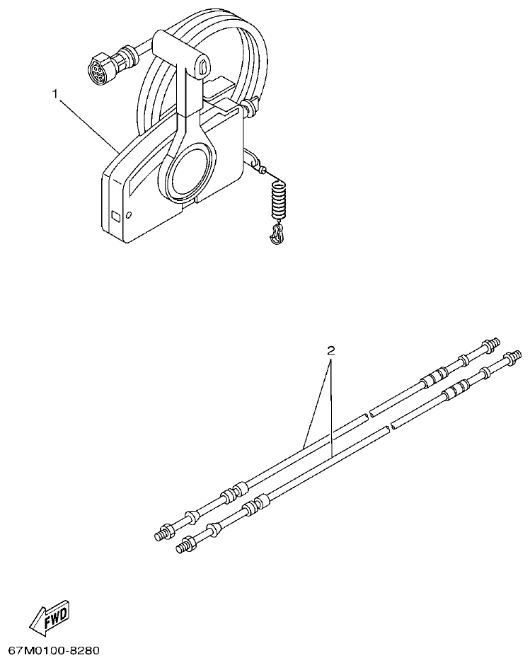
Yamaha F25D REMOTE CONTROL BOX parts diagram
Fig. 35 — REMOTE CONTROL BOX
6 items
Yamaha F25D REMOTE CONTROL ASSY parts diagram
Fig. 36 — REMOTE CONTROL ASSY
67 items · 11 available products
Yamaha F25D REPAIR KIT 1 parts diagram
Fig. 37 — REPAIR KIT 1
22 items
Yamaha F25D REPAIR KIT 2 parts diagram
Fig. 38 — REPAIR KIT 2
12 items · 2 available products
Yamaha F25D REPAIR KIT 3 parts diagram
Fig. 39 — REPAIR KIT 3
31 items · 5 available products