Catalogs / Yamaha / Outboard

Yamaha F4AMH Parts Catalog

Browse 41 catalog sections for Yamaha F4AMH. Open a section to view the parts diagram, reference numbers and available products.

Yamaha F4AMH TOP COWLING parts diagram
Fig. 1 — TOP COWLING
8 items
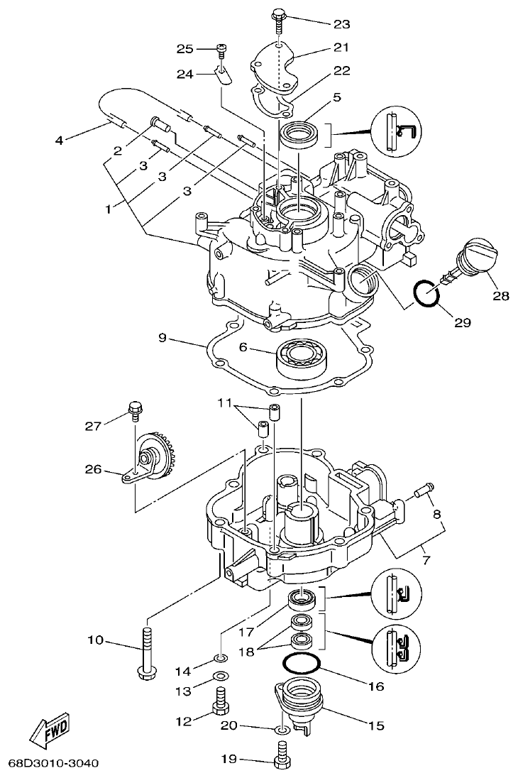
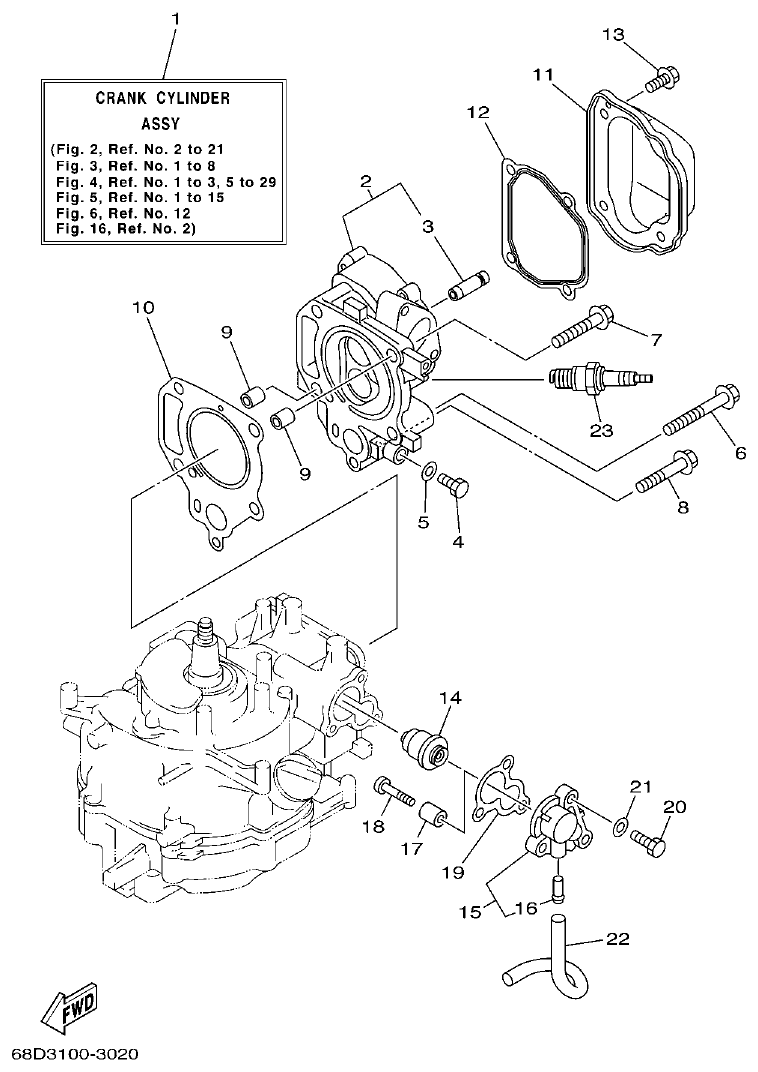
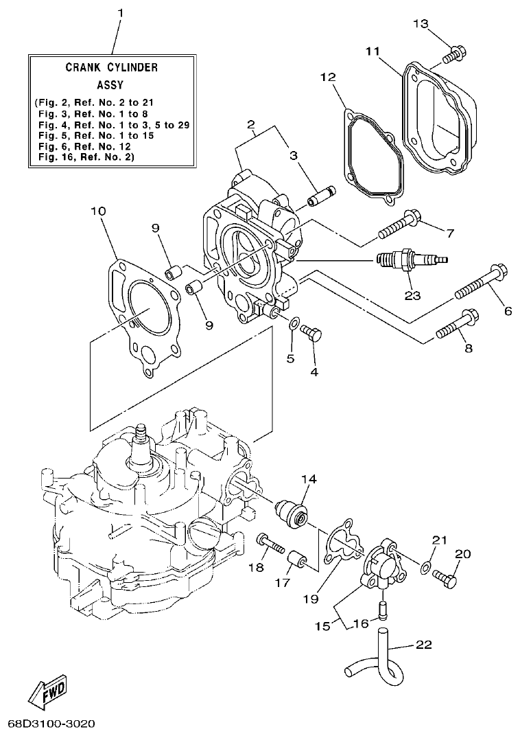
Yamaha F4AMH CYLINDER & CRANKCASE 1 parts diagram
Fig. 2 — CYLINDER & CRANKCASE 1
23 items · 1 available products
Yamaha F4AMH CRANKSHAFT & PISTON parts diagram
Fig. 3 — CRANKSHAFT & PISTON
12 items
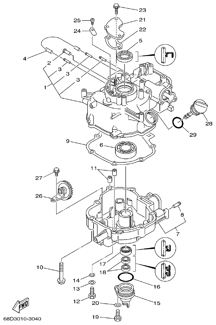
Yamaha F4AMH CYLINDER & CRANKCASE 2 parts diagram
Fig. 4 — CYLINDER & CRANKCASE 2
29 items · 1 available products
Yamaha F4AMH VALVE parts diagram
Fig. 5 — VALVE
15 items · 1 available products
Yamaha F4AMH INTAKE parts diagram
Fig. 6 — INTAKE
16 items
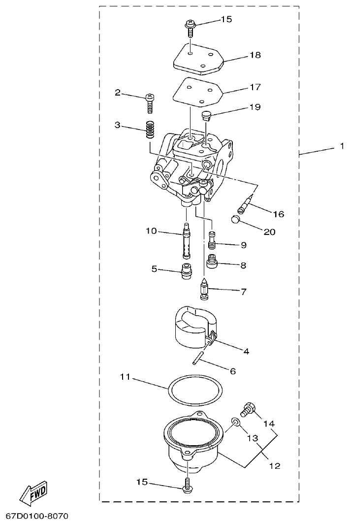
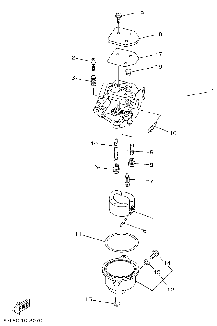
Yamaha F4AMH CARBURETOR parts diagram
Fig. 7 — CARBURETOR
21 items
Yamaha F4AMH FUEL 1 parts diagram
Fig. 8 — FUEL 1
13 items
Yamaha F4AMH FUEL 2 parts diagram
Fig. 9 — FUEL 2
42 items · 1 available products
Yamaha F4AMH STARTER parts diagram
Fig. 10 — STARTER
29 items · 2 available products
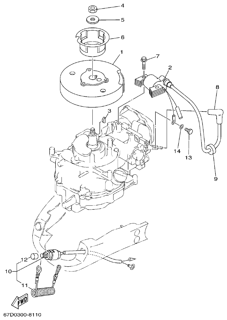
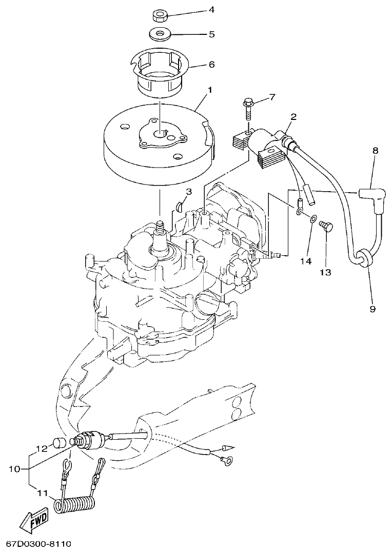
Yamaha F4AMH GENERATOR parts diagram
Fig. 11 — GENERATOR
14 items · 3 available products
Yamaha F4AMH BOTTOM COWLING parts diagram
Fig. 12 — BOTTOM COWLING
22 items
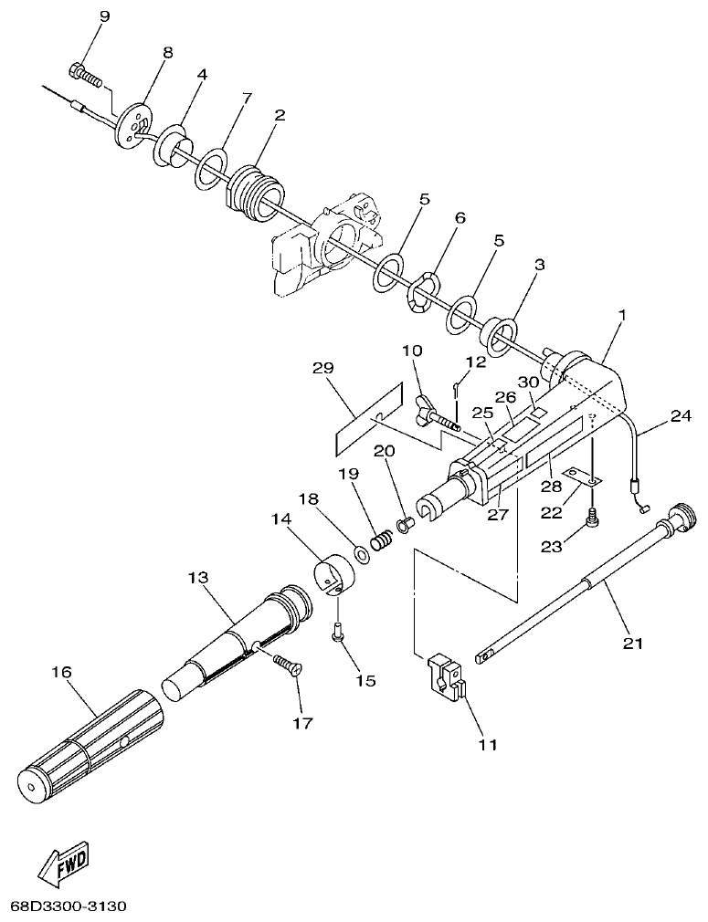
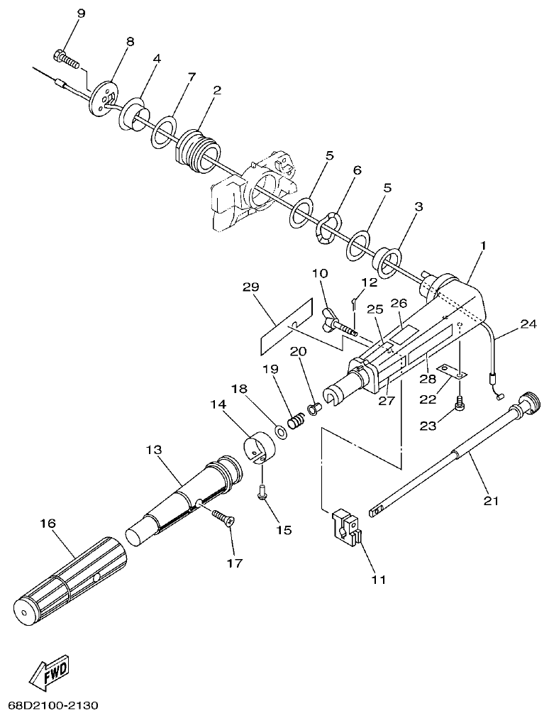
Yamaha F4AMH STEERING parts diagram
Fig. 13 — STEERING
30 items
Yamaha F4AMH CONTROL parts diagram
Fig. 14 — CONTROL
15 items
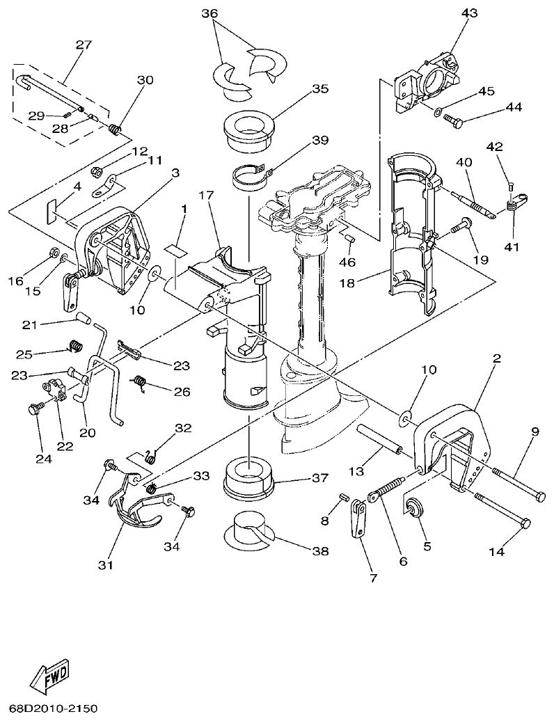
Yamaha F4AMH BRACKET parts diagram
Fig. 15 — BRACKET
46 items
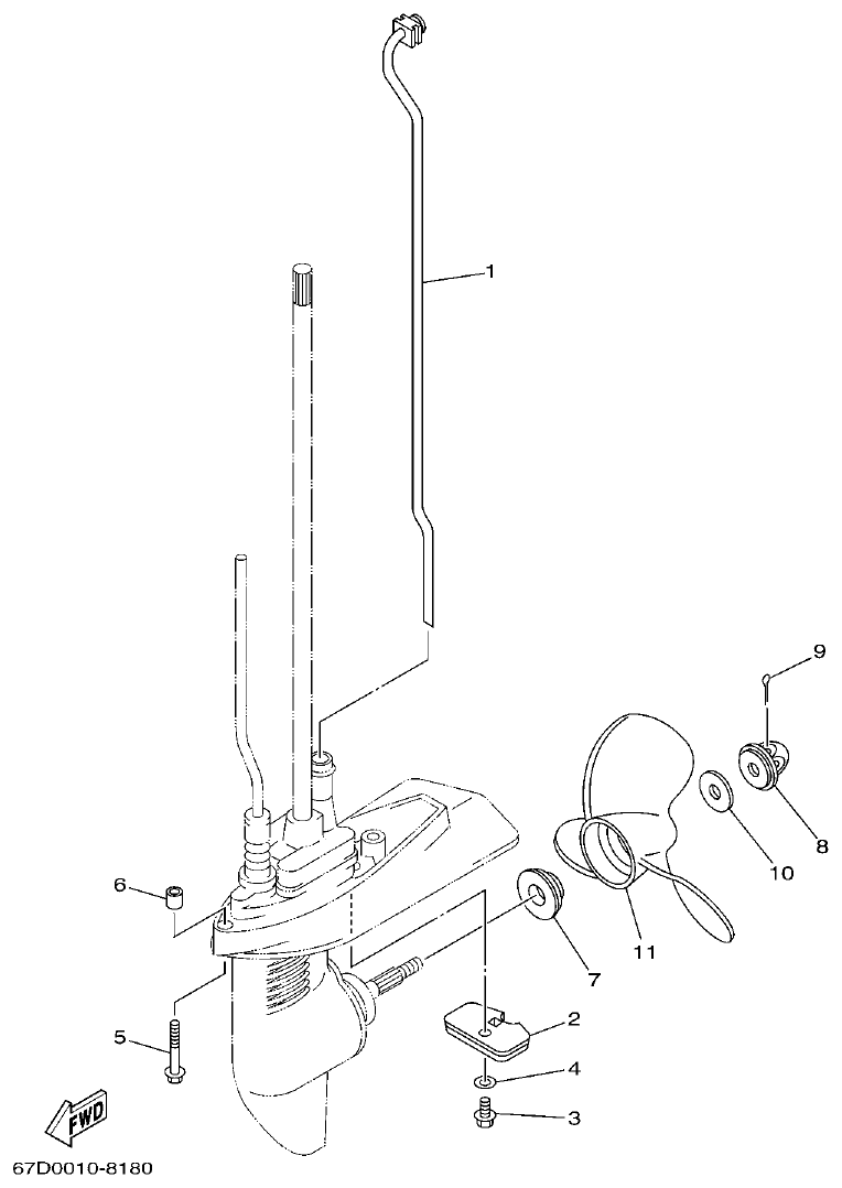
Yamaha F4AMH UPPER CASING parts diagram
Fig. 16 — UPPER CASING
13 items
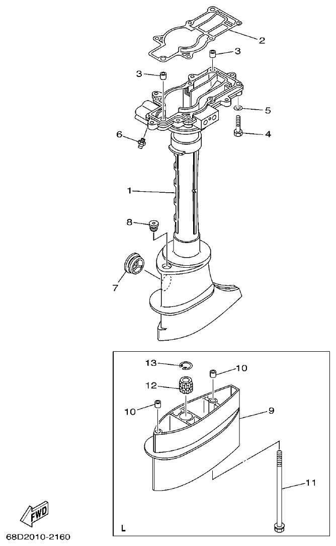
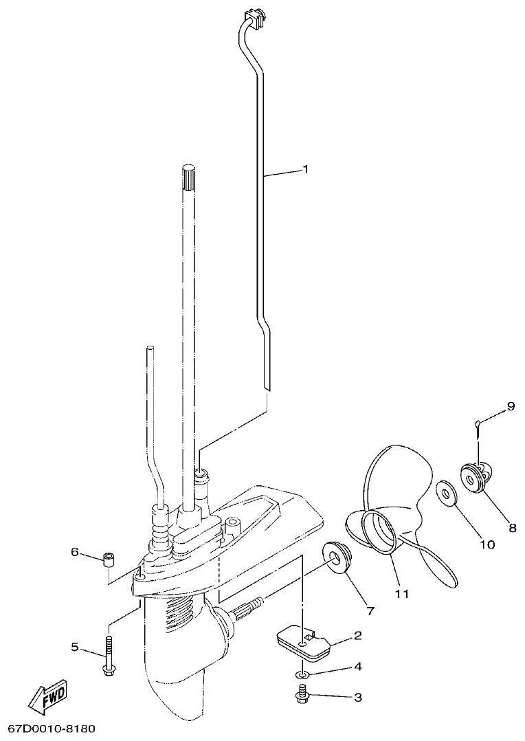
Yamaha F4AMH LOWER CASING & DRIVE 1 parts diagram
Fig. 17 — LOWER CASING & DRIVE 1
44 items · 6 available products
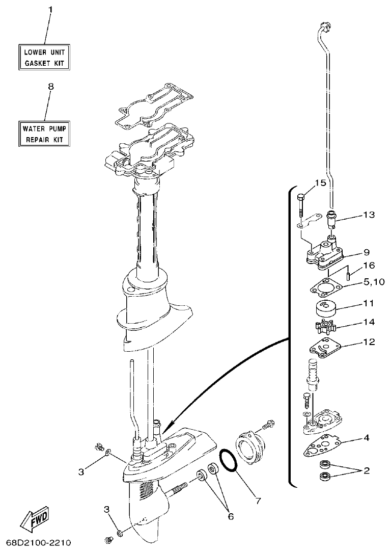
Yamaha F4AMH LOWER CASING & DRIVE 2 parts diagram
Fig. 18 — LOWER CASING & DRIVE 2
14 items
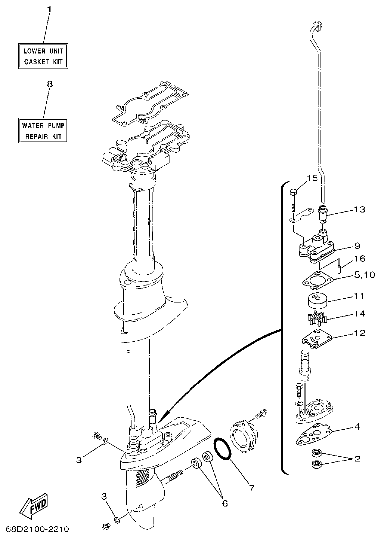
Yamaha F4AMH REPAIR KIT 1 parts diagram
Fig. 19 — REPAIR KIT 1
26 items · 1 available products
Yamaha F4AMH REPAIR KIT 2 parts diagram
Fig. 20 — REPAIR KIT 2
16 items · 2 available products
Yamaha F4AMH TOP COWLING parts diagram
Fig. 1 — TOP COWLING
8 items
Yamaha F4AMH CYLINDER. CRANKCASE 1 parts diagram
Fig. 2 — CYLINDER. CRANKCASE 1
23 items · 1 available products
Yamaha F4AMH CRANKSHAFT. PISTON parts diagram
Fig. 3 — CRANKSHAFT. PISTON
12 items
Yamaha F4AMH CYLINDER. CRANKCASE 2 parts diagram
Fig. 4 — CYLINDER. CRANKCASE 2
29 items · 1 available products
Yamaha F4AMH VALVE parts diagram
Fig. 5 — VALVE
15 items · 1 available products
Yamaha F4AMH INTAKE parts diagram
Fig. 6 — INTAKE
16 items
Yamaha F4AMH CARBURETOR parts diagram
Fig. 7 — CARBURETOR
21 items
Yamaha F4AMH FUEL 1 parts diagram
Fig. 8 — FUEL 1
13 items
Yamaha F4AMH FUEL 2 parts diagram
Fig. 9 — FUEL 2
38 items · 1 available products
Yamaha F4AMH STARTER parts diagram
Fig. 10 — STARTER
33 items · 2 available products
Yamaha F4AMH GENERATOR parts diagram
Fig. 11 — GENERATOR
14 items · 3 available products
Yamaha F4AMH BOTTOM COWLING parts diagram
Fig. 12 — BOTTOM COWLING
24 items
Yamaha F4AMH STEERING parts diagram
Fig. 13 — STEERING
31 items
Yamaha F4AMH CONTROL parts diagram
Fig. 14 — CONTROL
15 items
Yamaha F4AMH BRACKET parts diagram
Fig. 15 — BRACKET
47 items
Yamaha F4AMH UPPER CASING parts diagram
Fig. 16 — UPPER CASING
13 items
Yamaha F4AMH LOWER CASING. DRIVE 1 parts diagram
Fig. 17 — LOWER CASING. DRIVE 1
44 items · 6 available products
Yamaha F4AMH LOWER CASING. DRIVE 2 parts diagram
Fig. 18 — LOWER CASING. DRIVE 2
14 items
Yamaha F4AMH FUEL TANK parts diagram
Fig. 19 — FUEL TANK
8 items
Yamaha F4AMH REPAIR KIT 1 parts diagram
Fig. 20 — REPAIR KIT 1
26 items · 1 available products
Yamaha F4AMH REPAIR KIT 2 parts diagram
Fig. 21 — REPAIR KIT 2
16 items · 2 available products