Catalogs / Yamaha / Outboard

Yamaha L225FETO Parts Catalog

Browse 36 catalog sections for Yamaha L225FETO. Open a section to view the parts diagram, reference numbers and available products.

Yamaha L225FETO TOP COWLING parts diagram
Fig. 1 — TOP COWLING
26 items · 1 available products
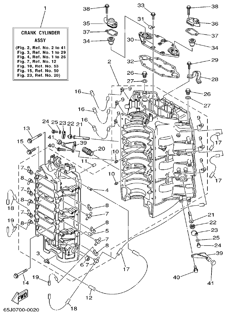
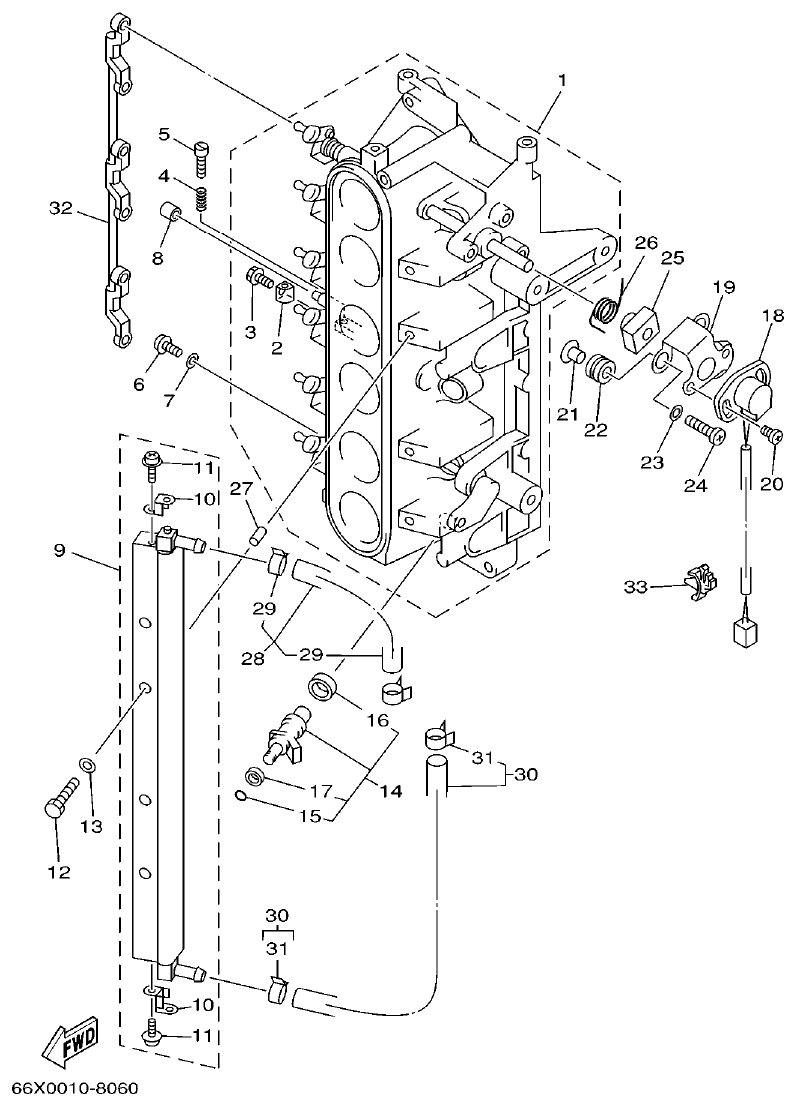
Yamaha L225FETO CYLINDER. CRANKCASE 1 parts diagram
Fig. 2 — CYLINDER. CRANKCASE 1
41 items · 4 available products
Yamaha L225FETO CRANKSHAFT. PISTON parts diagram
Fig. 3 — CRANKSHAFT. PISTON
35 items · 2 available products
Yamaha L225FETO CYLINDER. CRANKCASE 2 parts diagram
Fig. 4 — CYLINDER. CRANKCASE 2
27 items · 4 available products
Yamaha L225FETO FUEL INJECTION PUMP parts diagram
Fig. 5 — FUEL INJECTION PUMP
51 items
Yamaha L225FETO FUEL INJECTION NOZZLE parts diagram
Fig. 6 — FUEL INJECTION NOZZLE
33 items · 1 available products
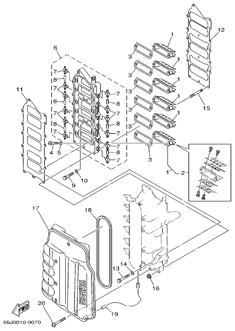
Yamaha L225FETO INTAKE parts diagram
Fig. 7 — INTAKE
20 items
Yamaha L225FETO OIL PUMP parts diagram
Fig. 8 — OIL PUMP
25 items · 2 available products
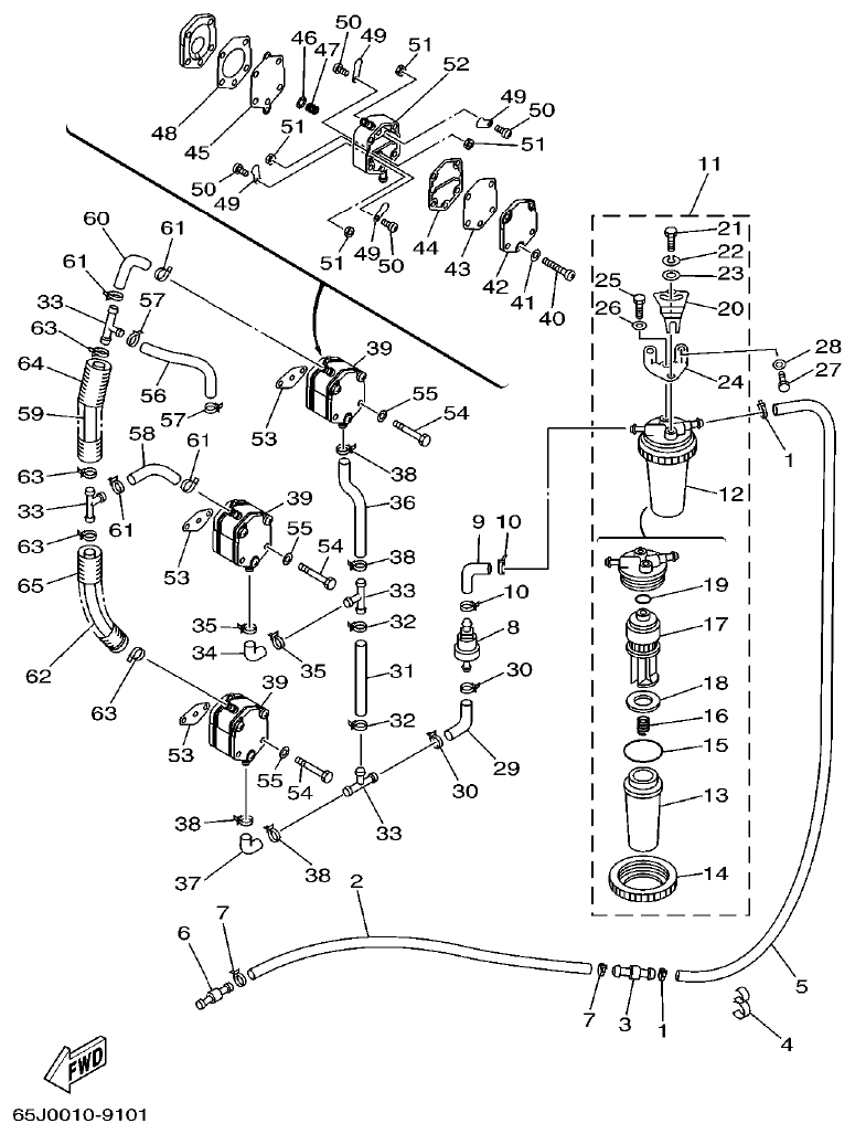
Yamaha L225FETO OIL TANK parts diagram
Fig. 9 — OIL TANK
40 items · 2 available products
Yamaha L225FETO FUEL 1 parts diagram
Fig. 10 — FUEL 1
65 items · 8 available products
Yamaha L225FETO FUEL 2 parts diagram
Fig. 11 — FUEL 2
6 items · 1 available products
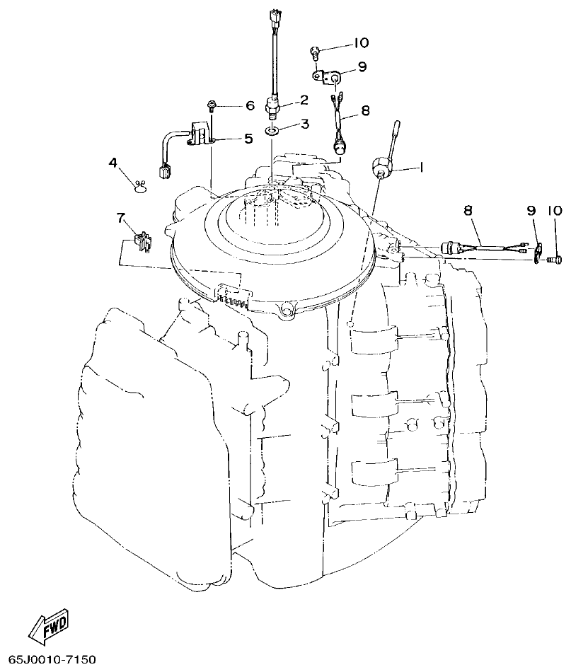
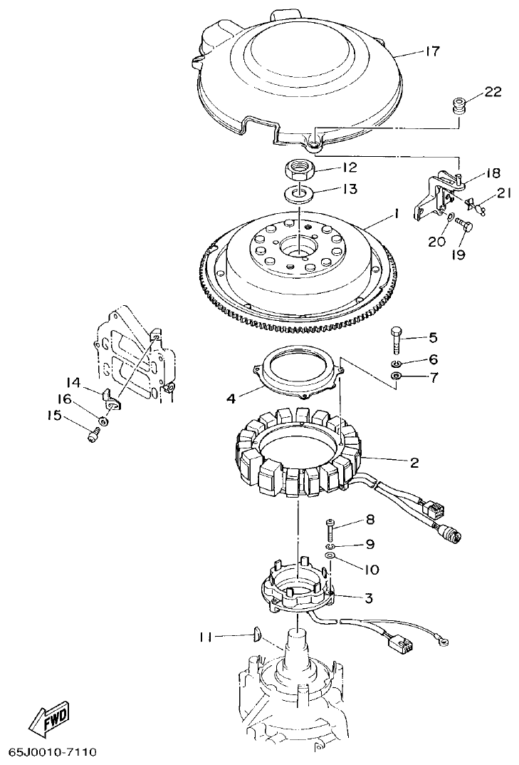
Yamaha L225FETO GENERATOR parts diagram
Fig. 12 — GENERATOR
22 items
Yamaha L225FETO ELECTRICAL 1 parts diagram
Fig. 13 — ELECTRICAL 1
24 items
Yamaha L225FETO ELECTRICAL 2 parts diagram
Fig. 14 — ELECTRICAL 2
34 items
Yamaha L225FETO ELECTRICAL 3 parts diagram
Fig. 15 — ELECTRICAL 3
53 items · 4 available products
Yamaha L225FETO ELECTRICAL 4 parts diagram
Fig. 16 — ELECTRICAL 4
10 items
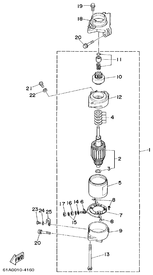
Yamaha L225FETO STARTING MOTOR parts diagram
Fig. 17 — STARTING MOTOR
25 items · 2 available products
Yamaha L225FETO BOTTOM COWLING parts diagram
Fig. 18 — BOTTOM COWLING
57 items · 5 available products
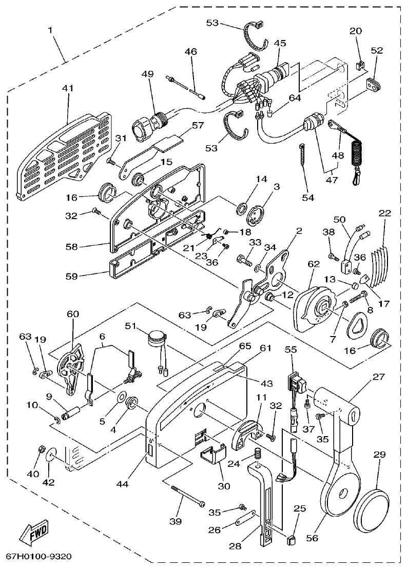
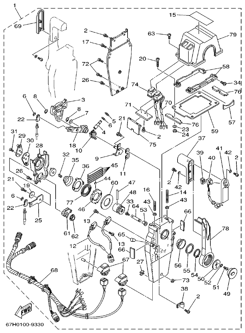
Yamaha L225FETO CONTROL parts diagram
Fig. 19 — CONTROL
61 items · 3 available products
Yamaha L225FETO BRACKET 1 parts diagram
Fig. 20 — BRACKET 1
48 items · 8 available products
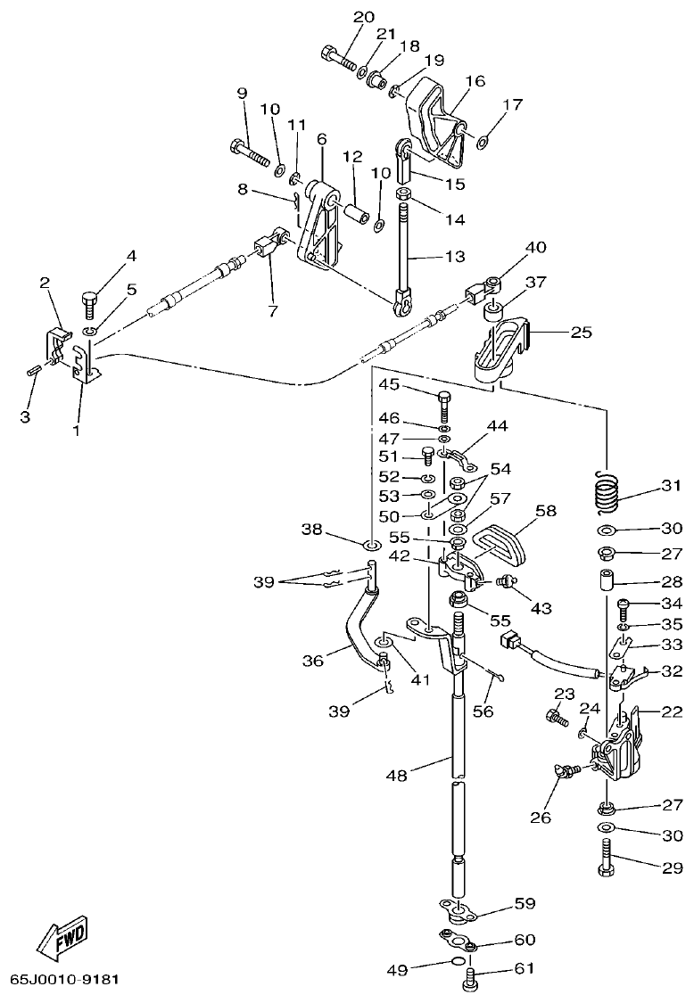
Yamaha L225FETO BRACKET 2 parts diagram
Fig. 21 — BRACKET 2
35 items · 2 available products
Yamaha L225FETO POWER TRIM & TILT ASSY parts diagram
Fig. 22 — POWER TRIM & TILT ASSY
95 items · 15 available products
Yamaha L225FETO UPPER CASING parts diagram
Fig. 23 — UPPER CASING
36 items · 6 available products
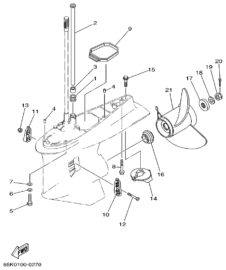
Yamaha L225FETO LOWER CASING. DRIVE 1 parts diagram
Fig. 24 — LOWER CASING. DRIVE 1
90 items · 18 available products
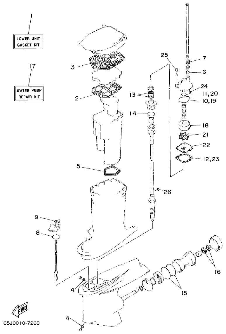
Yamaha L225FETO LOWER CASING. DRIVE 2 parts diagram
Fig. 25 — LOWER CASING. DRIVE 2
27 items · 5 available products
Yamaha L225FETO LOWER CASING. DRIVE 3 parts diagram
Fig. 26 — LOWER CASING. DRIVE 3
105 items · 17 available products
Yamaha L225FETO LOWER CASING. DRIVE 4 parts diagram
Fig. 27 — LOWER CASING. DRIVE 4
26 items · 4 available products
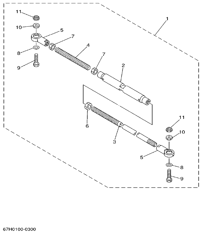
Yamaha L225FETO STEERING GUIDE ATTACHMENT 1 parts diagram
Fig. 28 — STEERING GUIDE ATTACHMENT 1
9 items · 2 available products
Yamaha L225FETO STEERING GUIDE ATTACHMENT 2 parts diagram
Fig. 29 — STEERING GUIDE ATTACHMENT 2
11 items · 1 available products
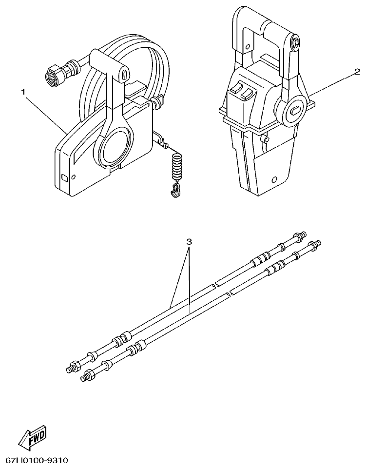
Yamaha L225FETO REMOTE CONTROL BOX parts diagram
Fig. 30 — REMOTE CONTROL BOX
7 items
Yamaha L225FETO REMOTE CONTROL ASSY 1 parts diagram
Fig. 31 — REMOTE CONTROL ASSY 1
65 items · 10 available products
Yamaha L225FETO REMOTE CONTROL ASSY 2 parts diagram
Fig. 32 — REMOTE CONTROL ASSY 2
79 items · 1 available products
Yamaha L225FETO METER 1 parts diagram
Fig. 33 — METER 1
24 items · 1 available products
Yamaha L225FETO METER 2 parts diagram
Fig. 34 — METER 2
22 items · 1 available products
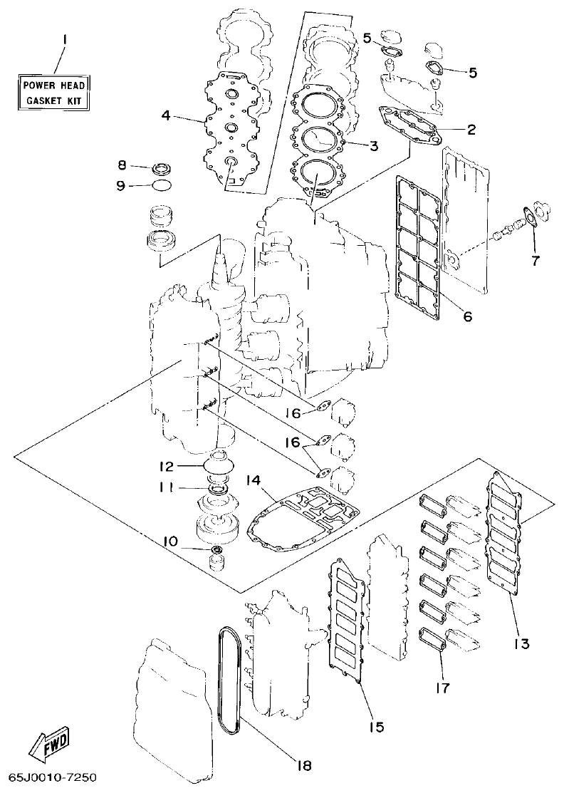
Yamaha L225FETO REPAIR KIT 1 parts diagram
Fig. 35 — REPAIR KIT 1
18 items · 4 available products
Yamaha L225FETO REPAIR KIT 2 parts diagram
Fig. 36 — REPAIR KIT 2
26 items · 6 available products