Catalogs / Yamaha / Outboard

Yamaha L250BETO Parts Catalog

Browse 72 catalog sections for Yamaha L250BETO. Open a section to view the parts diagram, reference numbers and available products.

Yamaha L250BETO TOP COWLING parts diagram
Fig. 1 — TOP COWLING
24 items · 1 available products
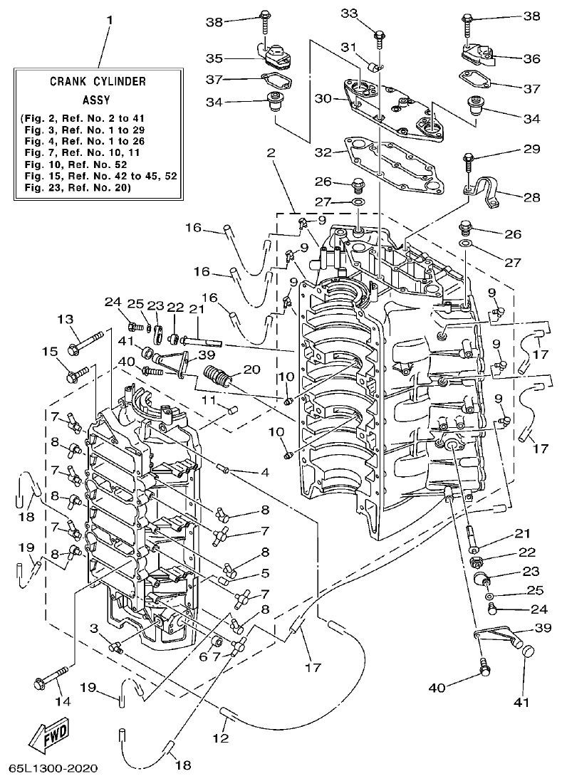
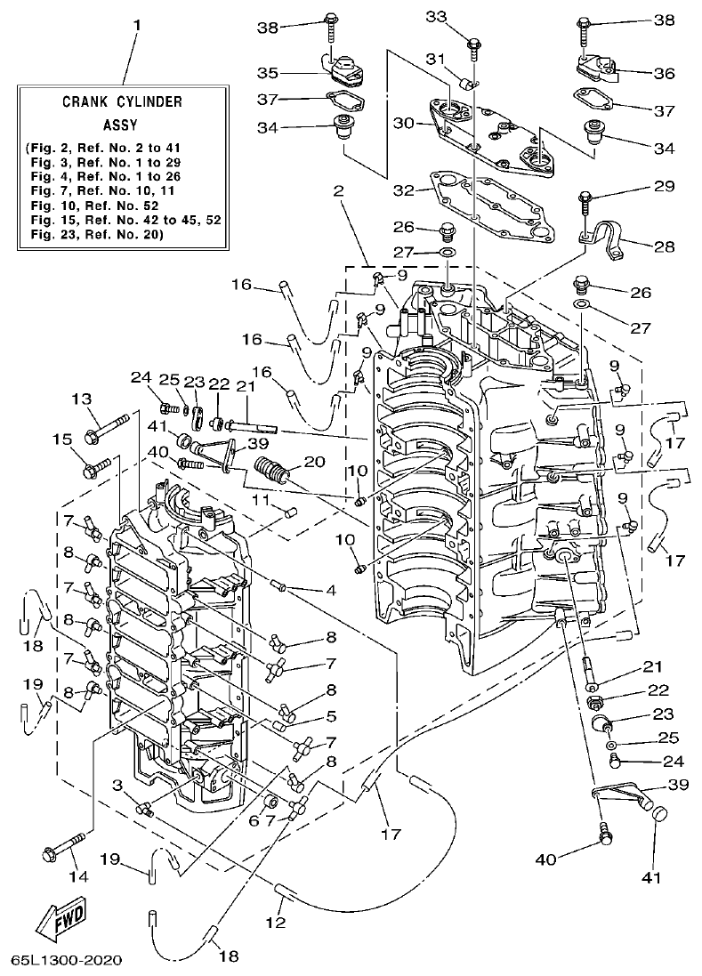
Yamaha L250BETO CYLINDER. CRANKCASE 1 parts diagram
Fig. 2 — CYLINDER. CRANKCASE 1
41 items · 4 available products
Yamaha L250BETO CRANKSHAFT. PISTON parts diagram
Fig. 3 — CRANKSHAFT. PISTON
35 items · 6 available products
Yamaha L250BETO CYLINDER. CRANKCASE 2 parts diagram
Fig. 4 — CYLINDER. CRANKCASE 2
27 items · 4 available products
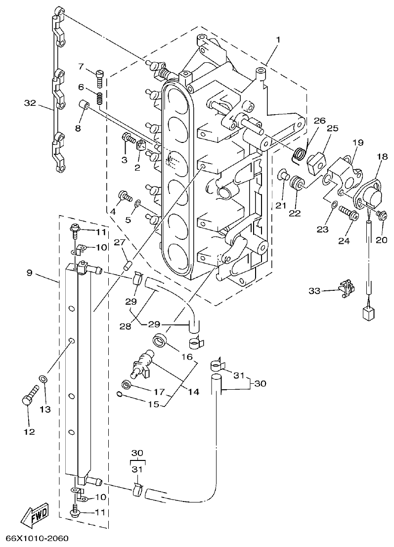
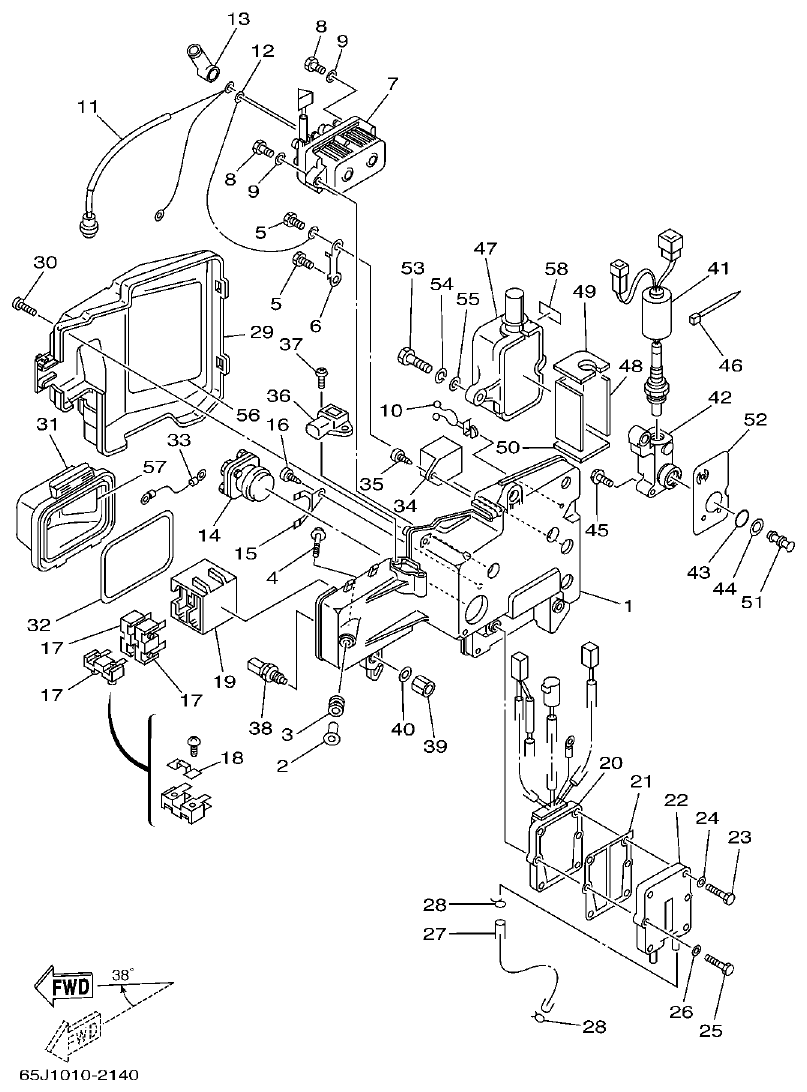
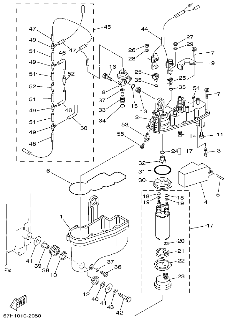
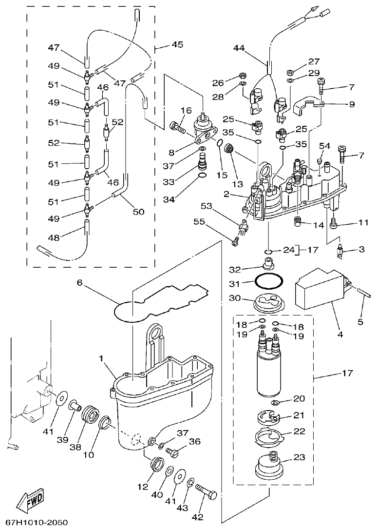
Yamaha L250BETO FUEL INJECTION PUMP parts diagram
Fig. 5 — FUEL INJECTION PUMP
55 items
Yamaha L250BETO FUEL INJECTION NOZZLE parts diagram
Fig. 6 — FUEL INJECTION NOZZLE
33 items · 1 available products
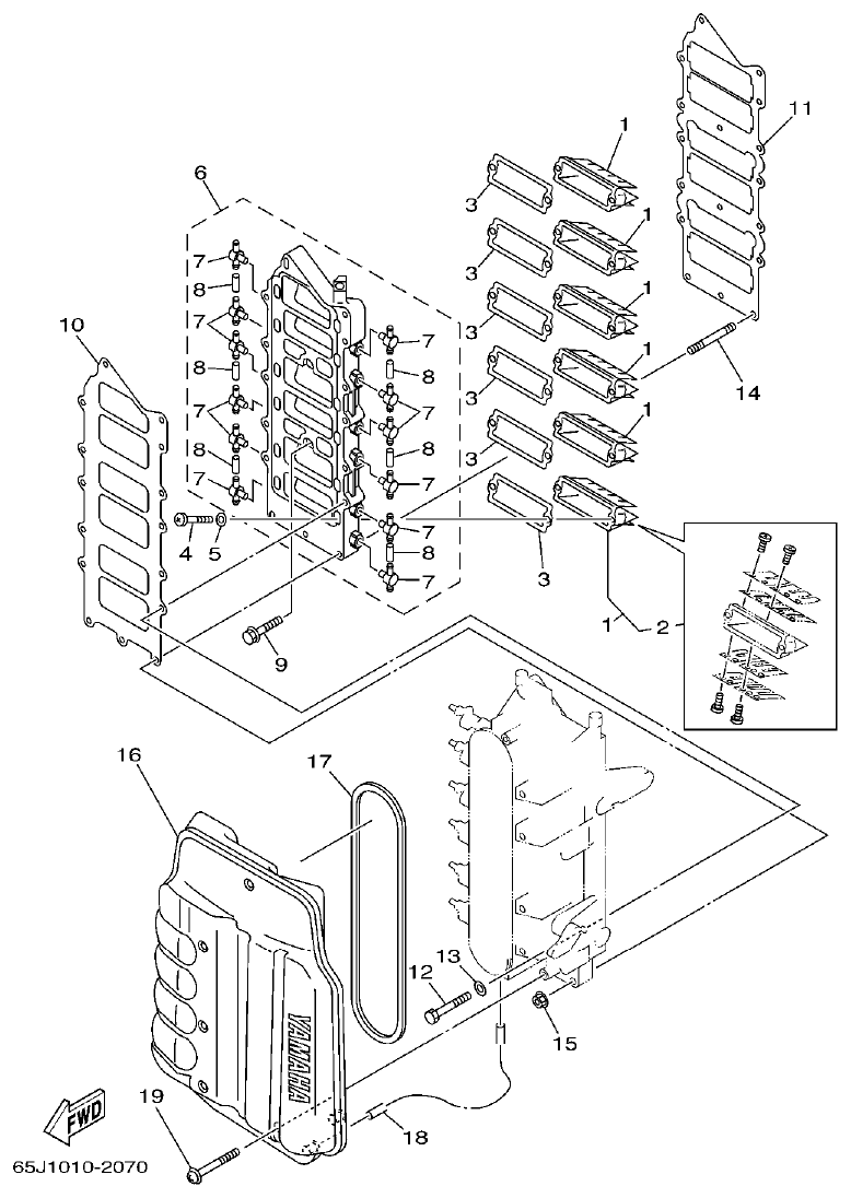
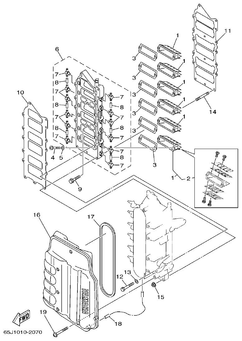
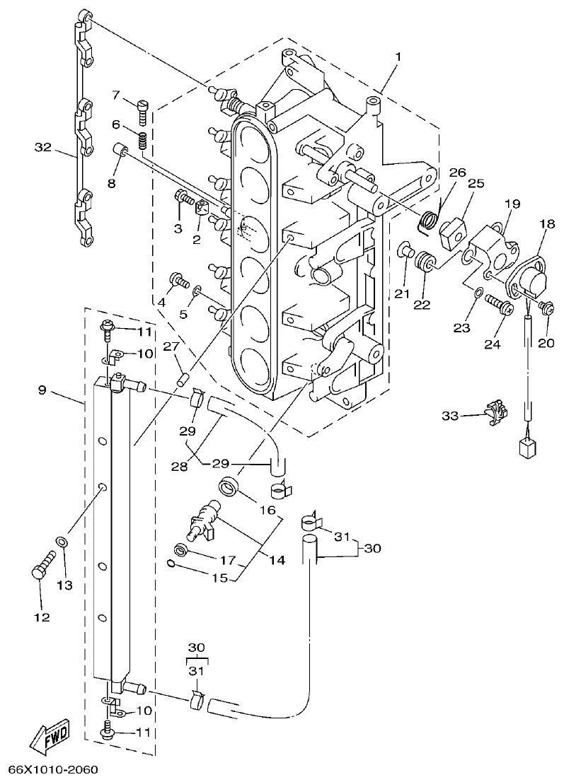
Yamaha L250BETO INTAKE parts diagram
Fig. 7 — INTAKE
19 items
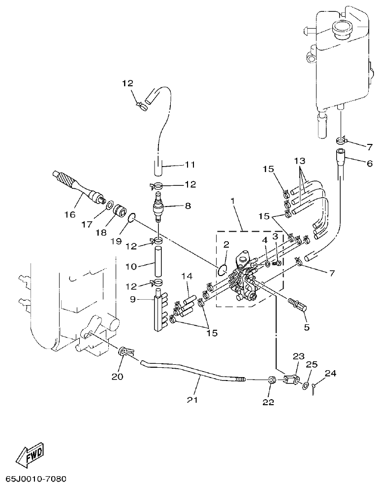
Yamaha L250BETO OIL PUMP parts diagram
Fig. 8 — OIL PUMP
25 items · 2 available products
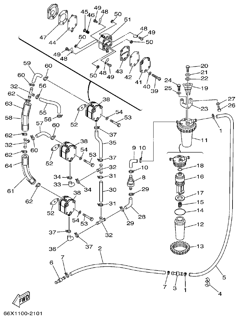
Yamaha L250BETO OIL TANK parts diagram
Fig. 9 — OIL TANK
43 items · 2 available products
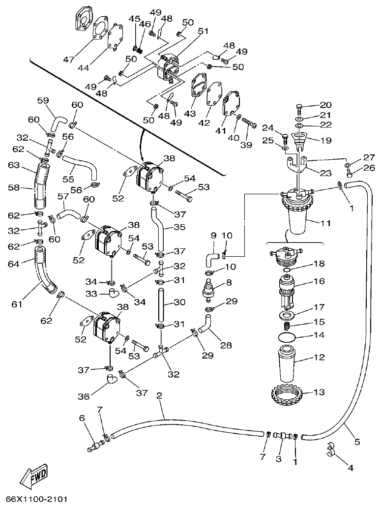
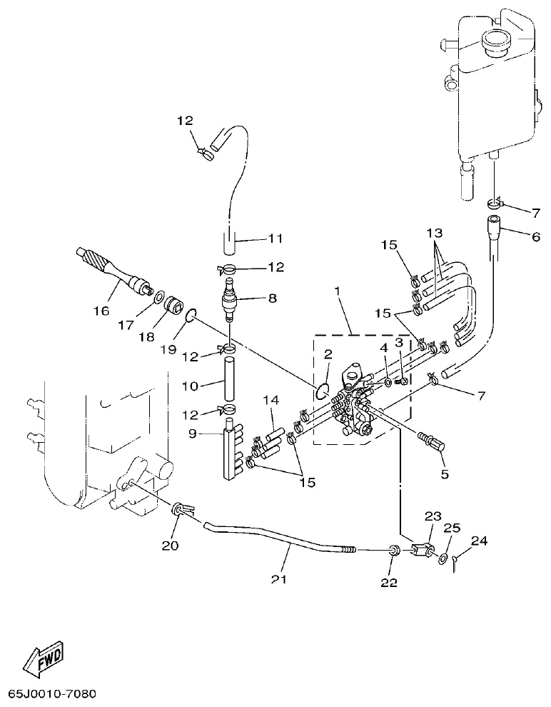
Yamaha L250BETO FUEL 1 parts diagram
Fig. 10 — FUEL 1
64 items · 9 available products
Yamaha L250BETO FUEL 2 parts diagram
Fig. 11 — FUEL 2
2 items
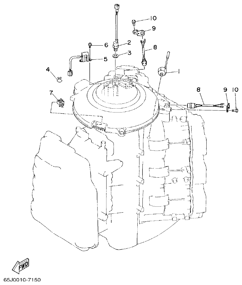
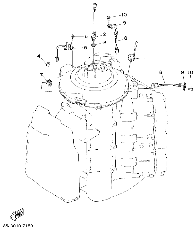
Yamaha L250BETO GENERATOR parts diagram
Fig. 12 — GENERATOR
27 items
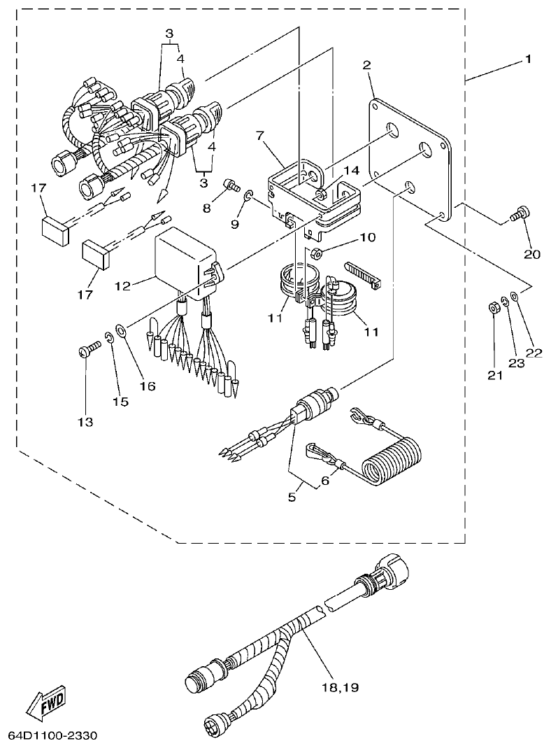
Yamaha L250BETO ELECTRICAL 1 parts diagram
Fig. 13 — ELECTRICAL 1
24 items
Yamaha L250BETO ELECTRICAL 2 parts diagram
Fig. 14 — ELECTRICAL 2
35 items · 1 available products
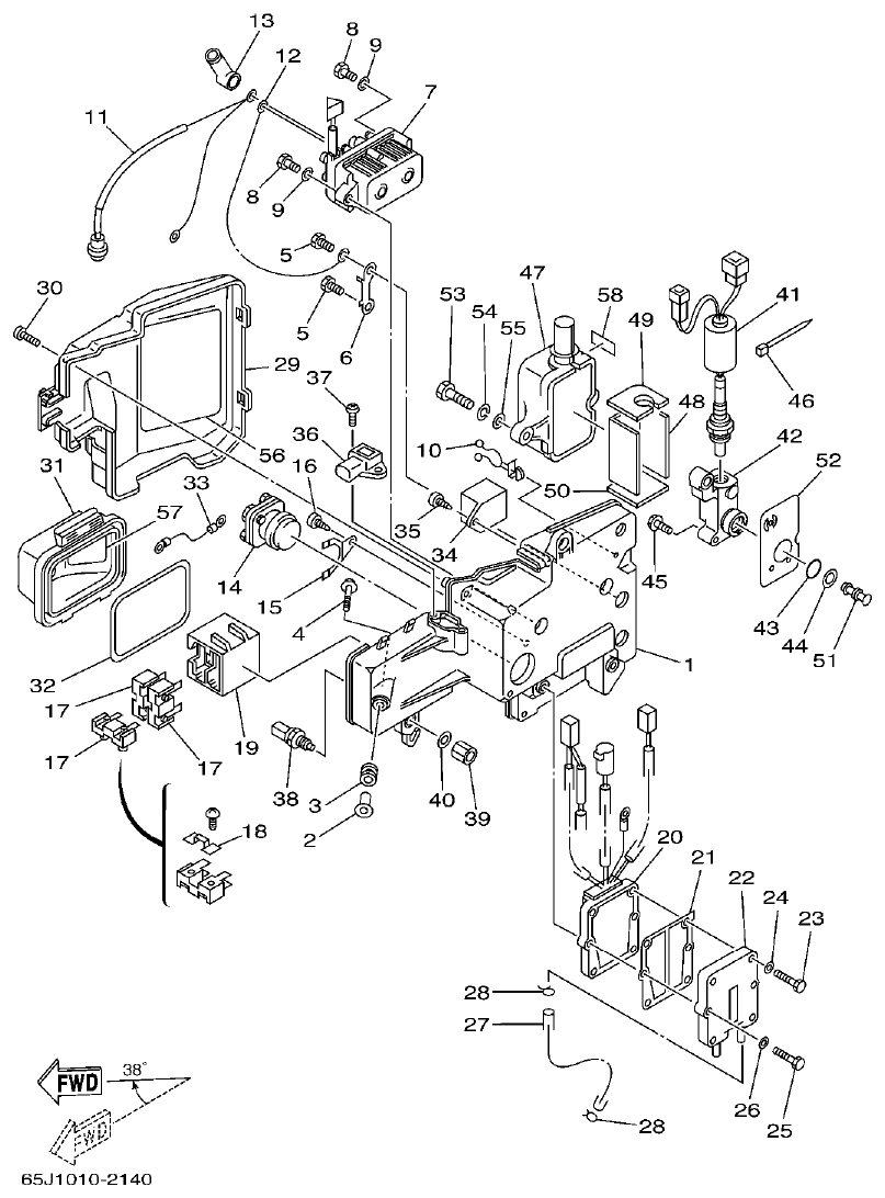
Yamaha L250BETO ELECTRICAL 3 parts diagram
Fig. 15 — ELECTRICAL 3
58 items · 4 available products
Yamaha L250BETO ELECTRICAL 4 parts diagram
Fig. 16 — ELECTRICAL 4
10 items
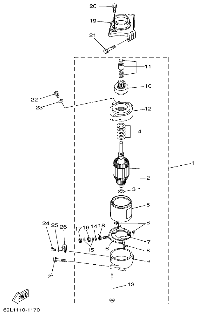
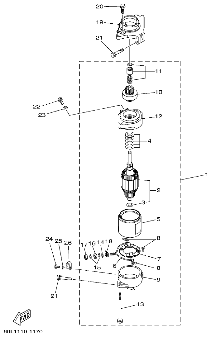
Yamaha L250BETO STARTING MOTOR parts diagram
Fig. 17 — STARTING MOTOR
26 items · 2 available products
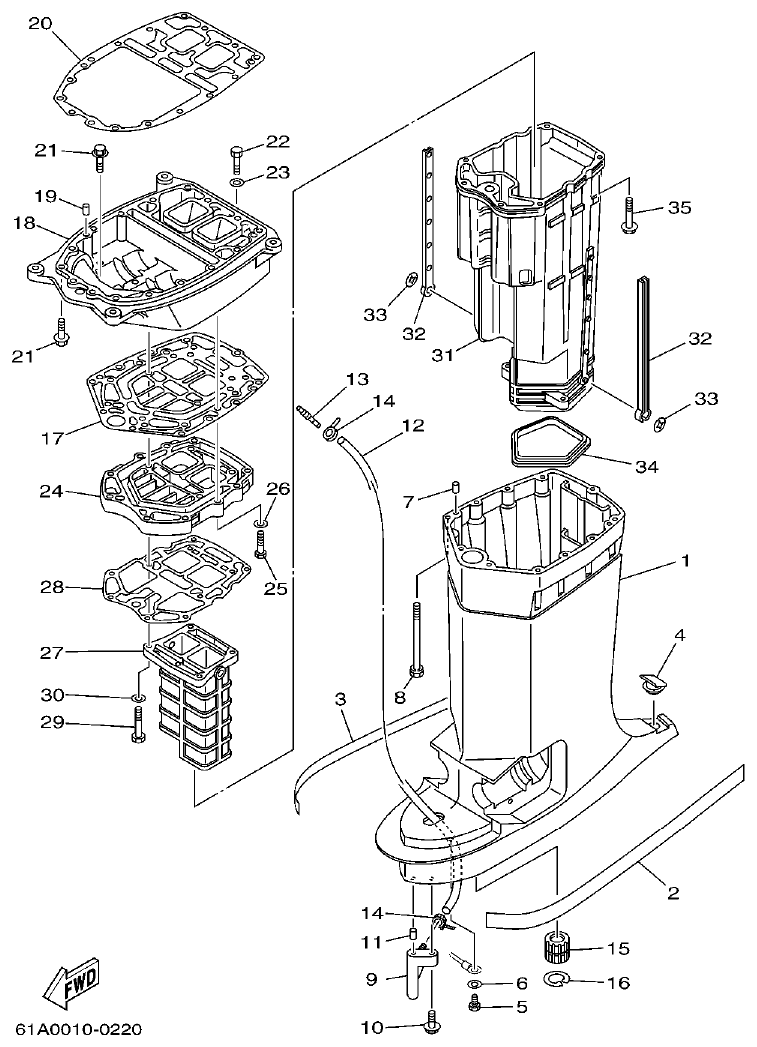
Yamaha L250BETO BOTTOM COWLING parts diagram
Fig. 18 — BOTTOM COWLING
59 items · 5 available products
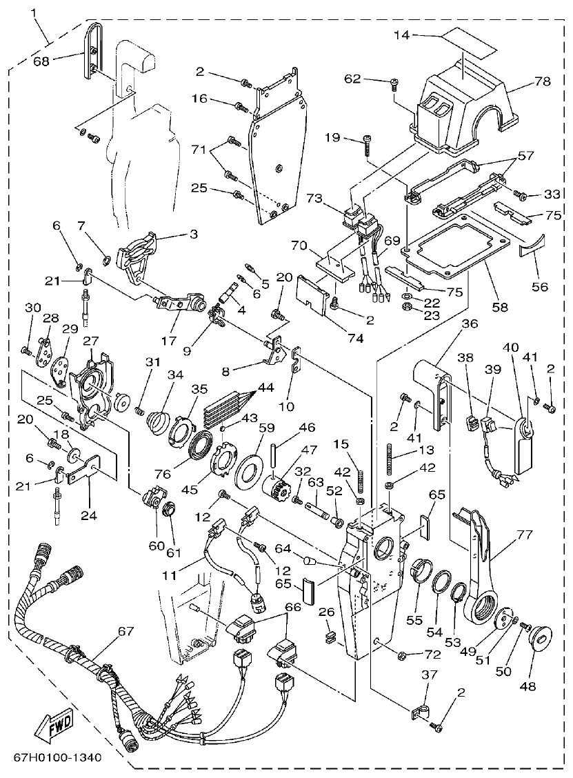
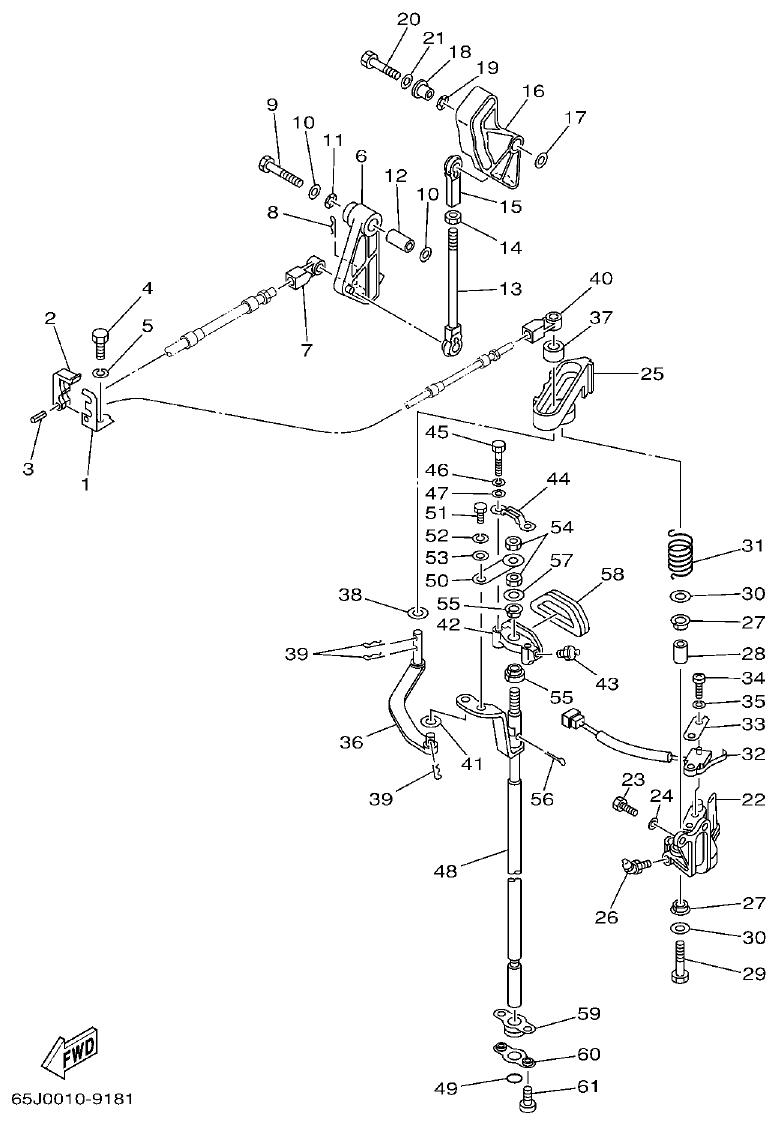
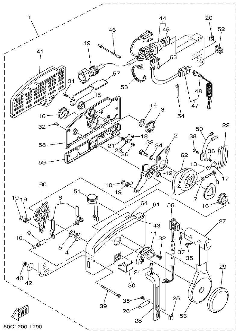
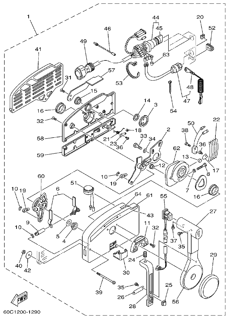
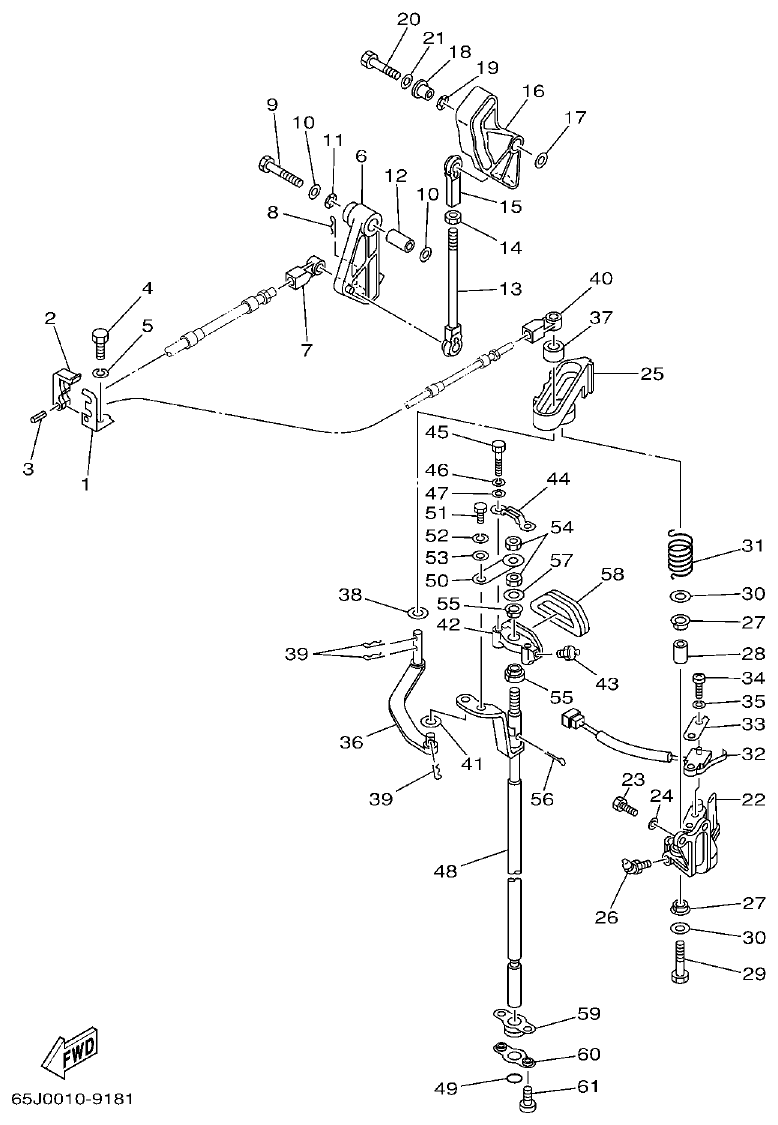
Yamaha L250BETO CONTROL parts diagram
Fig. 19 — CONTROL
61 items · 3 available products
Yamaha L250BETO BRACKET 1 parts diagram
Fig. 20 — BRACKET 1
48 items · 8 available products
Yamaha L250BETO BRACKET 2 parts diagram
Fig. 21 — BRACKET 2
35 items · 2 available products
Yamaha L250BETO POWER TRIM & TILT ASSY parts diagram
Fig. 22 — POWER TRIM & TILT ASSY
95 items · 15 available products
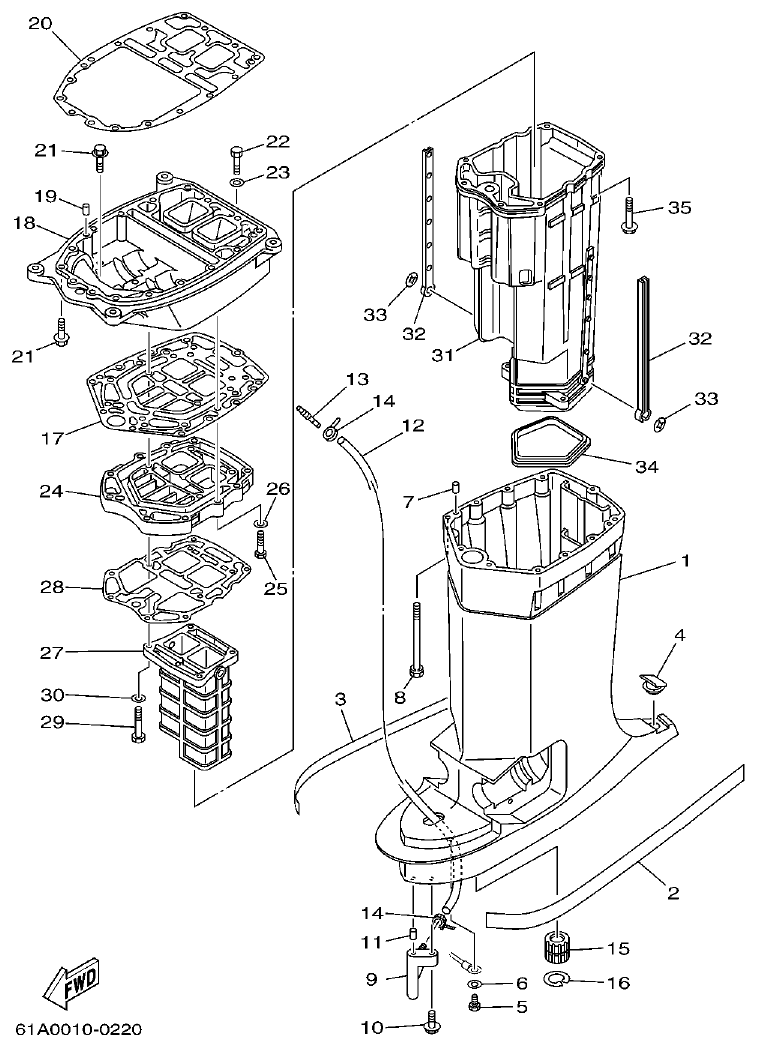
Yamaha L250BETO UPPER CASING parts diagram
Fig. 23 — UPPER CASING
35 items · 6 available products
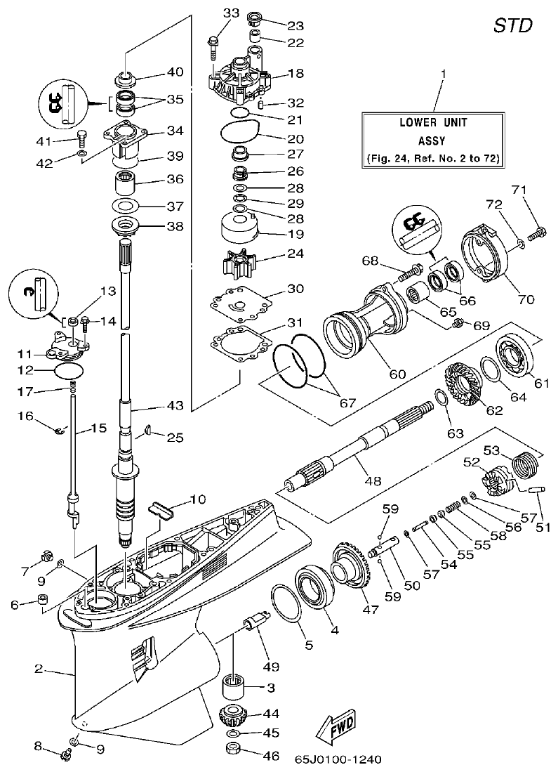
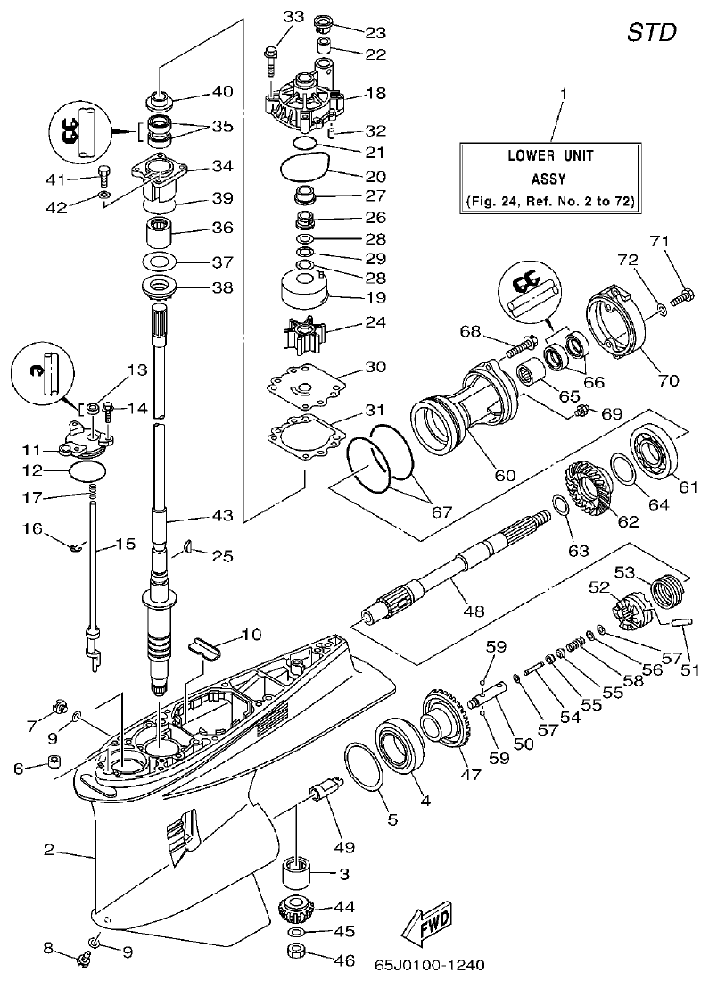
Yamaha L250BETO LOWER CASING. DRIVE 1 parts diagram
Fig. 24 — LOWER CASING. DRIVE 1
90 items · 19 available products
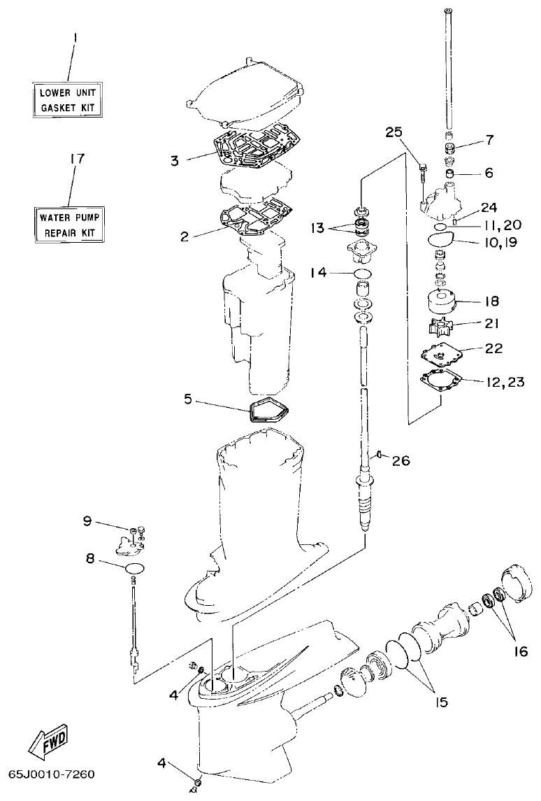
Yamaha L250BETO LOWER CASING. DRIVE 2 parts diagram
Fig. 25 — LOWER CASING. DRIVE 2
27 items · 5 available products
Yamaha L250BETO LOWER CASING. DRIVE 3 parts diagram
Fig. 26 — LOWER CASING. DRIVE 3
105 items · 18 available products
Yamaha L250BETO LOWER CASING. DRIVE 4 parts diagram
Fig. 27 — LOWER CASING. DRIVE 4
26 items · 4 available products
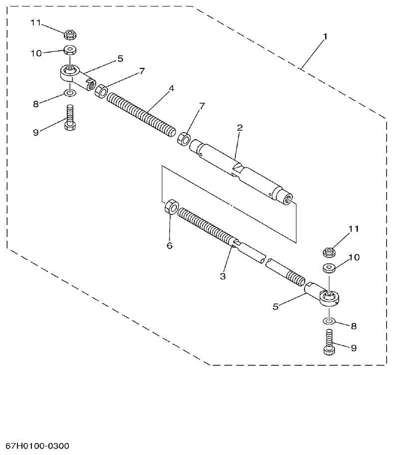
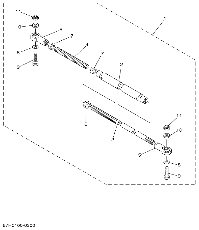
Yamaha L250BETO STEERING GUIDE ATTACHMENT 1 parts diagram
Fig. 28 — STEERING GUIDE ATTACHMENT 1
9 items · 2 available products
Yamaha L250BETO STEERING GUIDE ATTACHMENT 2 parts diagram
Fig. 29 — STEERING GUIDE ATTACHMENT 2
11 items · 1 available products
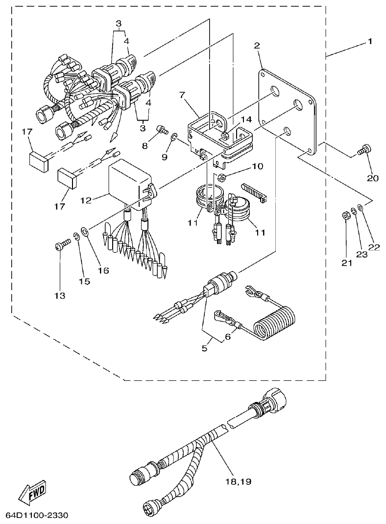
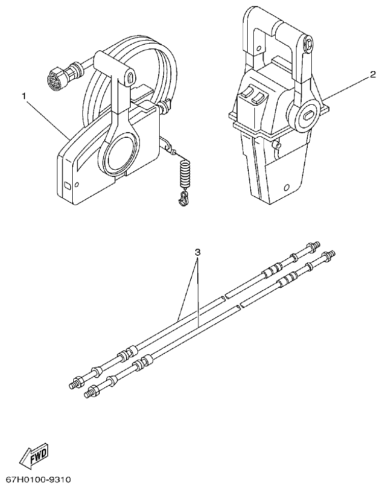
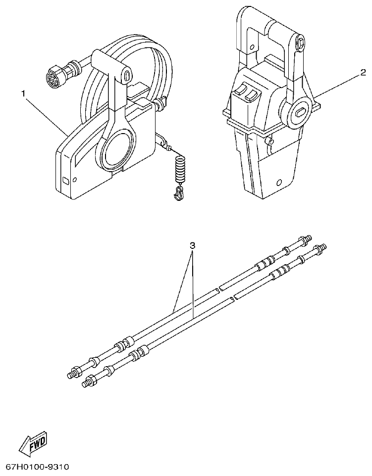
Yamaha L250BETO REMOTE CONTROL BOX parts diagram
Fig. 30 — REMOTE CONTROL BOX
7 items
Yamaha L250BETO REMOTE CONTROL ASSY 1 parts diagram
Fig. 31 — REMOTE CONTROL ASSY 1
64 items · 11 available products
Yamaha L250BETO REMOTE CONTROL ASSY 2 parts diagram
Fig. 32 — REMOTE CONTROL ASSY 2
78 items · 2 available products
Yamaha L250BETO METER parts diagram
Fig. 33 — METER
30 items · 2 available products
Yamaha L250BETO SWITCH. PANEL parts diagram
Fig. 34 — SWITCH. PANEL
23 items · 2 available products
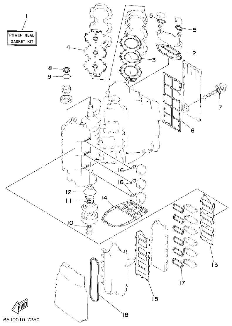
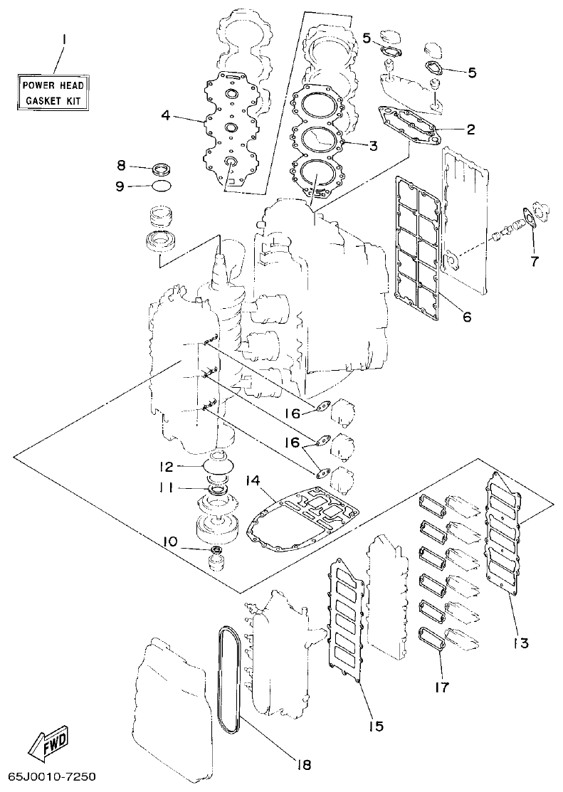
Yamaha L250BETO REPAIR KIT 1 parts diagram
Fig. 35 — REPAIR KIT 1
18 items · 4 available products
Yamaha L250BETO REPAIR KIT 2 parts diagram
Fig. 36 — REPAIR KIT 2
26 items · 6 available products
Yamaha L250BETO TOP COWLING parts diagram
Fig. 1 — TOP COWLING
24 items · 1 available products
Yamaha L250BETO CYLINDER. CRANKCASE 1 parts diagram
Fig. 2 — CYLINDER. CRANKCASE 1
41 items · 4 available products
Yamaha L250BETO CRANKSHAFT. PISTON parts diagram
Fig. 3 — CRANKSHAFT. PISTON
35 items · 6 available products
Yamaha L250BETO CYLINDER. CRANKCASE 2 parts diagram
Fig. 4 — CYLINDER. CRANKCASE 2
27 items · 4 available products
Yamaha L250BETO FUEL INJECTION PUMP parts diagram
Fig. 5 — FUEL INJECTION PUMP
55 items
Yamaha L250BETO FUEL INJECTION NOZZLE parts diagram
Fig. 6 — FUEL INJECTION NOZZLE
33 items · 1 available products
Yamaha L250BETO INTAKE parts diagram
Fig. 7 — INTAKE
19 items
Yamaha L250BETO OIL PUMP parts diagram
Fig. 8 — OIL PUMP
25 items · 2 available products
Yamaha L250BETO OIL TANK parts diagram
Fig. 9 — OIL TANK
43 items · 2 available products
Yamaha L250BETO FUEL 1 parts diagram
Fig. 10 — FUEL 1
64 items · 9 available products
Yamaha L250BETO FUEL 2 parts diagram
Fig. 11 — FUEL 2
2 items
Yamaha L250BETO GENERATOR parts diagram
Fig. 12 — GENERATOR
27 items
Yamaha L250BETO ELECTRICAL 1 parts diagram
Fig. 13 — ELECTRICAL 1
24 items
Yamaha L250BETO ELECTRICAL 2 parts diagram
Fig. 14 — ELECTRICAL 2
35 items · 1 available products
Yamaha L250BETO ELECTRICAL 3 parts diagram
Fig. 15 — ELECTRICAL 3
58 items · 4 available products
Yamaha L250BETO ELECTRICAL 4 parts diagram
Fig. 16 — ELECTRICAL 4
10 items
Yamaha L250BETO STARTING MOTOR parts diagram
Fig. 17 — STARTING MOTOR
26 items · 2 available products
Yamaha L250BETO BOTTOM COWLING parts diagram
Fig. 18 — BOTTOM COWLING
59 items · 5 available products
Yamaha L250BETO CONTROL parts diagram
Fig. 19 — CONTROL
61 items · 3 available products
Yamaha L250BETO BRACKET 1 parts diagram
Fig. 20 — BRACKET 1
48 items · 8 available products
Yamaha L250BETO BRACKET 2 parts diagram
Fig. 21 — BRACKET 2
35 items · 2 available products
Yamaha L250BETO POWER TRIM & TILT ASSY parts diagram
Fig. 22 — POWER TRIM & TILT ASSY
95 items · 15 available products
Yamaha L250BETO UPPER CASING parts diagram
Fig. 23 — UPPER CASING
35 items · 6 available products
Yamaha L250BETO LOWER CASING. DRIVE 1 parts diagram
Fig. 24 — LOWER CASING. DRIVE 1
90 items · 19 available products
Yamaha L250BETO LOWER CASING. DRIVE 2 parts diagram
Fig. 25 — LOWER CASING. DRIVE 2
27 items · 5 available products
Yamaha L250BETO LOWER CASING. DRIVE 3 parts diagram
Fig. 26 — LOWER CASING. DRIVE 3
105 items · 18 available products
Yamaha L250BETO LOWER CASING. DRIVE 4 parts diagram
Fig. 27 — LOWER CASING. DRIVE 4
26 items · 4 available products
Yamaha L250BETO STEERING GUIDE ATTACHMENT 1 parts diagram
Fig. 28 — STEERING GUIDE ATTACHMENT 1
9 items · 2 available products
Yamaha L250BETO STEERING GUIDE ATTACHMENT 2 parts diagram
Fig. 29 — STEERING GUIDE ATTACHMENT 2
11 items · 1 available products
Yamaha L250BETO REMOTE CONTROL BOX parts diagram
Fig. 30 — REMOTE CONTROL BOX
7 items
Yamaha L250BETO REMOTE CONTROL ASSY 1 parts diagram
Fig. 31 — REMOTE CONTROL ASSY 1
64 items · 11 available products
Yamaha L250BETO REMOTE CONTROL ASSY 2 parts diagram
Fig. 32 — REMOTE CONTROL ASSY 2
78 items · 2 available products
Yamaha L250BETO METER parts diagram
Fig. 33 — METER
30 items · 2 available products
Yamaha L250BETO SWITCH. PANEL parts diagram
Fig. 34 — SWITCH. PANEL
23 items · 2 available products
Yamaha L250BETO REPAIR KIT 1 parts diagram
Fig. 35 — REPAIR KIT 1
18 items · 4 available products
Yamaha L250BETO REPAIR KIT 2 parts diagram
Fig. 36 — REPAIR KIT 2
26 items · 6 available products