L200FETO ’02
Section 28: LOWER CASING. DRIVE 2 (v2)
Engine sections in this catalog
TOP COWLING
OIL PUMP 2
OIL TANK
FUEL 1
FUEL 2
FUEL 3
FUEL 4
GENERATOR
ELECTRICAL 1
ELECTRICAL 2
STARTING MOTOR
CYLINDER. CRANKCASE 1
BOTTOM COWLING
CONTROL
BRACKET 1
BRACKET 2
POWER TRIM & TILT ASSY 1
POWER TRIM & TILT ASSY 2
UPPER CASING
LOWER CASING. DRIVE 1
LOWER CASING. DRIVE 2
LOWER CASING. DRIVE 3
CYLINDER. CRANKCASE 2
LOWER CASING. DRIVE 4
FUEL TANK
STEERING GUIDE ATTACHMENT 1
STEERING GUIDE ATTACHMENT 2
REMOTE CONTROL BOX
REMOTE CONTROL ASSY 1
REMOTE CONTROL ASSY 2
METER
SWITCH. PANEL
REPAIR KIT 1
CRANKSHAFT. PISTON
REPAIR KIT 2
REPAIR KIT 3
CYLINDER. CRANKCASE 3
INTAKE 1
INTAKE 2
CARBURETOR
OIL PUMP 1
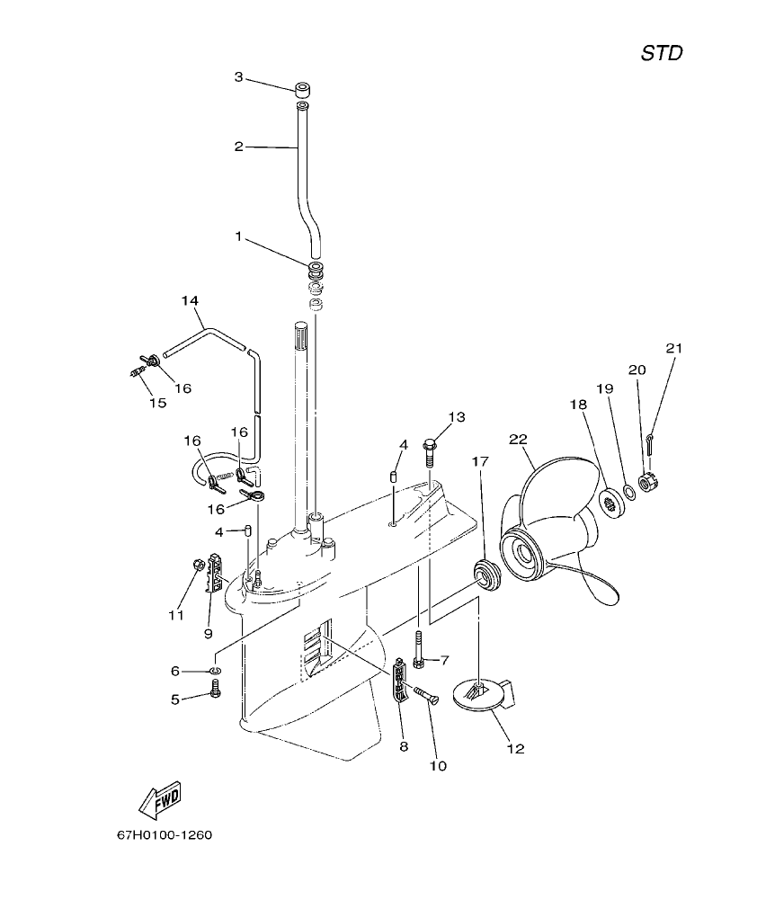
Diagram for section 28: LOWER CASING. DRIVE 2.
| Ref | Part No. | Qty | Buy |
|---|---|---|---|
| 1 |
6E5-44366-00
DAMPER, WATER SEAL
|
1 | Ask on WhatsApp |
| 2 |
6E5-44361-00
TUBE, WATER
|
1 | Ask on WhatsApp |
| 3 |
6E5-44365-00
DAMPER, WATER SEAL
|
1 | Ask on WhatsApp |
| 4 |
6G5-45930-00-98
PROPELLER (3X13-3/8”X25”-M)
|
1 | Ask on WhatsApp |
| 4 |
93608-12M05
PIN, DOWEL
|
2 | Ask on WhatsApp |
| 5 |
6G5-45932-00-98
PROPELLER (3X15-3/4”X13”-M)
|
1 | Ask on WhatsApp |
| 5 |
97075-10045
BOLT
|
6 |
Price:
63.31 AED
In stock
(8 pcs)
|
| 6 |
6G5-45970-02-98
PROPELLER (3X15-1/4”X15”-M)
|
1 | Ask on WhatsApp |
| 6 |
92995-10100
WASHER
|
6 | Ask on WhatsApp |
| 7 |
6G5-45972-02-98
PROPELLER (3X13-3/4”X21”-M)
|
1 | Ask on WhatsApp |
| 7 |
90119-10M89
BOLT, WITH WASHER
|
1 | Ask on WhatsApp |
| 8 |
6G5-45974-03-98
PROPELLER (3X13-3/4”X19”-M2)
|
1 | Ask on WhatsApp |
| 8 |
6J9-45214-00
COVER, WATER INLET
|
1 | Ask on WhatsApp |
| 9 |
6G5-45976-01-98
PROPELLER (3X13-3/8”X23”-M)
|
1 | Ask on WhatsApp |
| 9 |
6J9-45215-00
COVER, WATER INLET
|
1 | Ask on WhatsApp |
| 10 |
6G5-45978-03-98
PROPELLER (3X13-3/4”X17”-M2)
|
1 | Ask on WhatsApp |
| 10 |
90152-05M08
SCREW, COUNTERSUNK
|
1 | Ask on WhatsApp |
| 11 |
6R4-45970-A0
PROPELLER (3X15-1/4”X19”-M)
|
1 | Ask on WhatsApp |
| 11 |
90185-05002
NUT, SELF-LOCKING
|
1 | Ask on WhatsApp |
| 12 |
6J9-45371-01
TAB-TRIM
|
1 | Ask on WhatsApp |
| 12 |
6R4-45972-A0
PROPELLER (3X14-7/8”X21”-M)
|
1 | Ask on WhatsApp |
| 13 |
6R4-45974-A0
PROPELLER (3X14-1/2”X23”-M)
|
1 | Ask on WhatsApp |
| 13 |
90105-10M00
BOLT, FLANGE
|
1 | Ask on WhatsApp |
| 14 |
6R4-45976-A0
PROPELLER (3X14-1/2”X15”-M)
|
1 | Ask on WhatsApp |
| 14 |
90445-07M33
HOSE (L1080)
|
1 | Ask on WhatsApp |
| 15 |
6E5-83558-00
END, NIPPLE
|
1 | Ask on WhatsApp |
| 15 |
6R4-45978-A0
PROPELLER (3X15-1/4”X17”-M)
|
1 | Ask on WhatsApp |
| 16 |
90465-11M10
CLAMP
|
4 | Ask on WhatsApp |
| 17 |
6E5-45987-01
SPACER
|
1 | Ask on WhatsApp |
| 18 |
688-45997-01
SPACER
|
1 |
Price:
58.85 AED
In stock
(221 pcs)
|
| 19 |
92990-18200
WASHER
|
1 |
Price:
8.94 AED
In stock
(10 pcs)
|
| 20 |
90171-18M04
NUT, CASTLE
|
1 | Ask on WhatsApp |
| 21 |
91490-40030
PIN, COTTER
|
1 |
Price:
4.47 AED
In stock
(2 pcs)
|
| 22 |
6G5-45941-00-98
PROPELLER (3X15-1/4”X15”-M)
|
1 | Ask on WhatsApp |
| 22 |
6G5-45952-00-98
PROPELLER (3X14-5/8”X16”-M)
|
1 | Ask on WhatsApp |
| 25 |
6G5-45943-01-98
PROPELLER (3X13-3/4”X21”-M)
|
1 | Ask on WhatsApp |
| 26 |
6G5-45945-01-98
PROPELLER (3X14”X19”-M)
|
1 | Ask on WhatsApp |
| 27 |
6G5-45947-01-98
PROPELLER (3X14-1/2”X17”-M)
|
1 | Ask on WhatsApp |
| 28 |
6G5-45949-00-98
PROPELLER (3X13-1/2”X23”-M)
|
1 | Ask on WhatsApp |