YP30G
Section 16: WATER PUMP 3 (YP30G:USA/CAN) (v2)
Model code: Q9CC
Parts list
Section 16
| Ref | Part No. / Description | Qty | Buy |
|---|---|---|---|
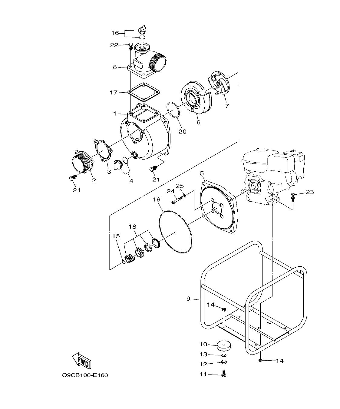
| 1 |
YJA-01127-95-03
PUMP CASE (SE-80X)
|
1 | |
| 2 |
YJA-01128-76-01
COVER, SUCTION (7RP1)
|
1 | |
| 3 |
YJA-01127-99-01
VALVE, CHECK (7RP1)
|
1 | |
| 4 |
YJA-01180-78-02
PLUG (20A)
|
1 | |
| 5 |
YJA-01127-96-01
CASE, PUMP 2 (7RP1)
|
1 | |
| 6 |
YJA-01143-79-02
HOUSING, IMPELLER (SEH-80X)
|
1 | |
| 7 |
YJA-01143-76-03
IMPELLER (SEH-80X-1)
|
1 | |
| 8 |
YJA-01133-37-01
BEND, DELIVER (7RP1)
|
1 | |
| 9 |
YJA-01171-86-02
BASE ASSY (SEA-80X-BAH)
|
1 | |
| 10 |
YJA-01105-15-02
INSULATOR, MOUNT (7RN1)
|
4 | |
| 11 |
YJA-73571-91-48
BOLT, HEXAGON
|
4 | |
| 12 |
YJA-84382-20-08
SPRING WASHER
|
4 | |
| 13 |
YJA-84600-70-08
WASHER, PLATE
|
4 | |
| 14 |
YJA-82741-90-08
NUT, HEXAGON
|
8 | |
| 15 |
YJA-01104-91-02
ADJUSTING WASHER (SEH-80)
|
3 | |
| 16 |
YJA-01180-79-01
PLUG ASSY (25A)
|
1 | |
| 17 |
YJA-01105-84-02
GASKET, HOSE JOINT (7RP1)
|
1 | |
| 18 |
YJA-01106-64-02
MECHANICAL SEAL T (SE-80L)
|
1 | |
| 19 |
YJA-01150-15-01
O-RING
|
1 | |
| 20 |
YJA-01139-89-01
O-RING 2 (7RP1)
|
1 | |
| 21 |
YJA-74311-90-61
BOLT (7RP1)
|
7 | |
| 22 |
YJA-74311-90-63
BOLT (7RP1)
|
4 | |
| 23 |
YJA-74311-90-51
BOLT (7RP1)
|
4 | |
| 24 |
YJA-73453-20-76
BOLT, HEXAGON WITH HOLE
|
4 | |
| 25 |
YJA-85425-50-08
WASHER, SEAL (7RN1)
|
4 |