πŸŒ™ Ψ±Ω…ΨΆΨ§Ω† ΩƒΨ±ΩŠΩ… ✨
✨ Ramadan Working Hours: 9:00 AM – 3:00 PM ✨

EF5200

Section 4: CAMSHAFT.VALVE (v2)

Model code: 7VX4
Section 4 β€” CAMSHAFT.VALVE
EF5200
100%
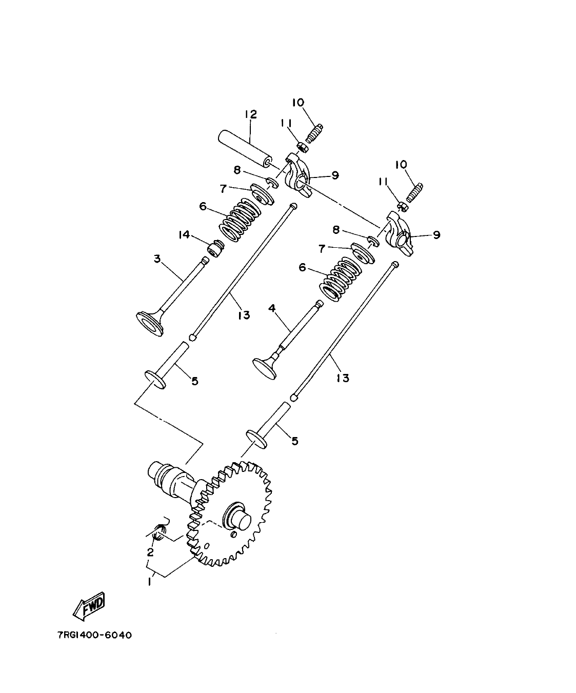
EF5200 – section 4 CAMSHAFT.VALVE parts diagram
Diagram image Open full size
Parts list
Section 4
Ref Part No. / Description Qty Buy
1
7RH-12170-00
CAMSHAFT ASSY 1
1
2
7NJ-12287-00
.SPRING, DECOMPRESSION
1
3
JN6-12111-01
VALVE, INTAKE
1
4
7RH-12121-00
VALVE, EXHAUST
1
5
JN6-12153-00
LIFTER, VALVE
2
6
90501-264A9
SPRING, COMPRESSION
2
7.45 AED
πŸ”“ Unlock Discounts
Stock 2 (Ask)
7
J38-12117-01
RETAINER, VALVE SPRING
2
8
J38-12118-00
COTTER, VALVE
2
9
JN6-12151-00
ARM, VALVE ROCKER
2
10
22F-12159-00
SCREW, VALVE ADJUSTING
2
11
90170-05302
NUT
2
2.98 AED
πŸ”“ Unlock Discounts
Stock 5
12
J38-12156-00
SHAFT, ROCKER 2
1
13
JN6-12154-00
ROD, VALVE PUSH
2
14
4G0-12119-00
SEAL, VALVE STEM
1