πŸŒ™ Ψ±Ω…ΨΆΨ§Ω† ΩƒΨ±ΩŠΩ… ✨
✨ Ramadan Working Hours: 9:00 AM – 3:00 PM ✨

EF5200

Section 11: FRAME 2 (FOR EL. STRAT MODEL) (v2)

Model code: 7VX4
Section 11 β€” FRAME 2 (FOR EL. STRAT MODEL)
EF5200
100%
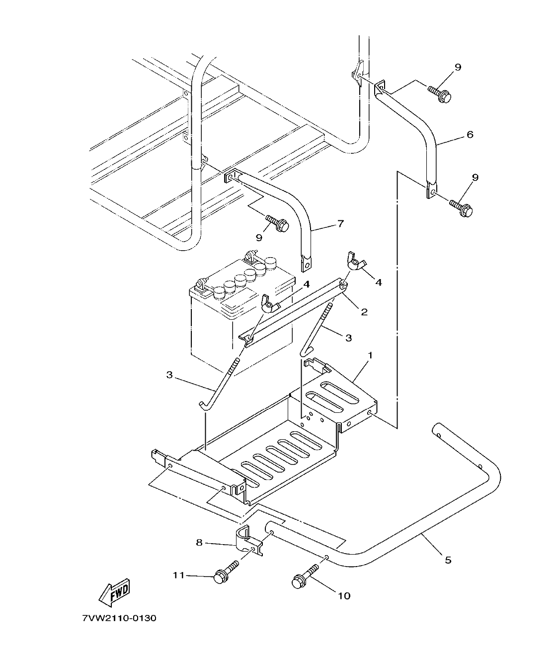
EF5200 – section 11 FRAME 2 (FOR EL. STRAT MODEL) parts diagram
Diagram image Open full size
Parts list
Section 11
Ref Part No. / Description Qty Buy
1
7RH-82122-01
SEAT, BATTERY
1
2
J10-82136-00
PLATE, BATTERY FITTING
1
3
7LP-82133-00
SCREW, FITTING
2
4
90175-06008
NUT, WING
2
5
7RH-22836-00
STAY,
1
6
7RH-22838-00
STAY
1
7
7RH-22839-00
STAY
1
8
7RH-22864-00
COVER, SIDE
2
9
95807-06012
BOLT, FLANGE
4
10
95807-06030
BOLT, FLANGE
2
11
95807-06035
BOLT, FLANGE
2