115BET’01
Section 5: INTAKE (v2)
Engine sections in this catalog
TOP COWLING
ELECTRICAL 1
ELECTRICAL 2
STARTING MOTOR
BOTTOM COWLING
CONTROL
BRACKET 1
BRACKET 2
POWER TRIM & TILT ASSY 1
POWER TRIM & TILT ASSY 2
UPPER CASING
CYLINDER. CRANKCASE 1
LOWER CASING. DRIVE 1
LOWER CASING. DRIVE 2
STEERING GUIDE
REMOTE CONTROL BOX
REMOTE CONTROL ASSY
REPAIR KIT 1
REPAIR KIT 2
CRANKSHAFT. PISTON
CYLINDER. CRANKCASE 2
INTAKE
CARBURETOR
FUEL 1
FUEL 2
GENERATOR
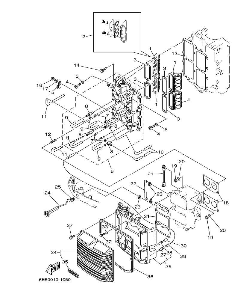
Diagram for section 5: INTAKE.
| Ref | Part No. | Qty | Buy |
|---|---|---|---|
| 1 |
6E5–13610–00
REED VALVE ASSY
|
4 | Ask on WhatsApp |
| 2 |
6E5–W0004–00
.REED SET
|
1 | Ask on WhatsApp |
| 3 |
6E5–13621–A1
GASKET, VALVE SEAT
|
4 | Ask on WhatsApp |
| 4 |
97880–05025
SCREW, PAN HEAD
|
8 | Ask on WhatsApp |
| 5 |
92990–05600
WASHER, PLATE
|
8 | Ask on WhatsApp |
| 6 |
6E5–13641–03–1S
MANIFOLD 1
|
1 | Ask on WhatsApp |
| 7 |
624–14485–00
.PIPE, JOINT
|
5 | Ask on WhatsApp |
| 8 |
6E5–11370–00
.CHECK VALVE ASSY
|
4 | Ask on WhatsApp |
| 9 |
90445–07M28
.HOSE (L70)
|
4 | Ask on WhatsApp |
| 10 |
90445–07M24
HOSE (L240)
|
2 | Ask on WhatsApp |
| 11 |
90445–07M46
HOSE (L360)
|
2 | Ask on WhatsApp |
| 12 |
90116–06M30
BOLT, STUD
|
8 | Ask on WhatsApp |
| 13 |
6E5–13645–A1
GASKET, MANIFOLD 1
|
1 | Ask on WhatsApp |
| 14 |
90119–06MA3
BOLT, WITH WASHER
|
12 | Ask on WhatsApp |
| 15 |
90465–06M86
CLAMP
|
1 | Ask on WhatsApp |
| 16 |
97095–06012
BOLT
|
1 | Ask on WhatsApp |
| 17 |
92995–06600
WASHER
|
1 | Ask on WhatsApp |
| 18 |
6E5–14198–A2
GASKET
|
2 | Ask on WhatsApp |
| 19 |
95380–06600
NUT, HEXAGON
|
8 | Ask on WhatsApp |
| 20 |
92995–06100
WASHER, SPRING
|
8 | Ask on WhatsApp |
| 21 |
6E5–41217–01
ROD, ACCEL. LEVER
|
1 | Ask on WhatsApp |
| 22 |
6E5–41256–01
ROD, CHOKE 1
|
1 | Ask on WhatsApp |
| 23 |
661–41262–02
JOINT, CHOKE LEVER
|
3 | Ask on WhatsApp |
| 24 |
6E5–41271–02
KNOB, CHOKE
|
1 | Ask on WhatsApp |
| 25 |
689–41273–00
GROMMET
|
1 | Ask on WhatsApp |
| 26 |
6E5–14417–10–94
COVER 1
|
1 | Ask on WhatsApp |
| 27 |
624–14485–00
.PIPE, JOINT
|
1 | Ask on WhatsApp |
| 28 |
6E5–14485–00
.PIPE, JOINT
|
1 | Ask on WhatsApp |
| 29 |
90445–07M23
HOSE (L408)
|
1 | Ask on WhatsApp |
| 30 |
647–14395–60
CAP, OVERFLOW PIPE
|
1 | Ask on WhatsApp |
| 31 |
6E5–14483–A1
GASKET
|
1 | Ask on WhatsApp |
| 32 |
97013–06020
BOLT
|
8 | Ask on WhatsApp |
| 33 |
92903–06600
WASHER, PLATE
|
8 | Ask on WhatsApp |
| 34 |
6E5–14418–00
COVER 2
|
1 | Ask on WhatsApp |
| 35 |
6E5–1441K–00
.EMBLEM
|
1 | Ask on WhatsApp |
| 36 |
6E5–14416–A1
GASKET, AIR CLEANER
|
1 | Ask on WhatsApp |
| 37 |
90119–06M31
BOLT, WITH WASHER
|
8 | Ask on WhatsApp |