FT25FET
Choose a section to open the exploded parts diagram with live pricing. (v2)
Engine sections in this model
TOP COWLING
GENERATOR
ELECTRICAL 1
ELECTRICAL 2
ELECTRICAL 3
ELECTRICAL 4
ELECTRICAL 5
STARTING MOTOR
BOTTOM COWLING 1
BOTTOM COWLING 2
CONTROL
CYLINDER & CRANKCASE 1
BRACKET 1
BRACKET 2
POWER TRIM & TILT ASSY
UPPER CASING
OIL PAN
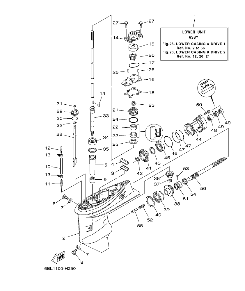
LOWER CASING & DRIVE 1
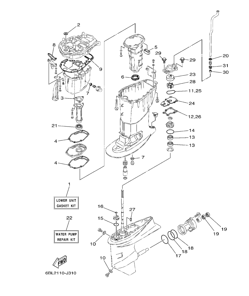
LOWER CASING & DRIVE 2
FUEL TANK
STEERING GUIDE
REMOTE CONTROL BOX
CRANKSHAFT & PISTON
REMOTE CONTROL ASSY
REPAIR KIT 1
REPAIR KIT 2
REPAIR KIT 3
CYLINDER & CRANKCASE 2
VALVE
INTAKE
CARBURETOR
OIL PUMP
FUEL
Fig. 1
β TOP COWLING
Fig. 10
β GENERATOR
Fig. 11
β ELECTRICAL 1
Fig. 12
β ELECTRICAL 2
Fig. 13
β ELECTRICAL 3
Fig. 14
β ELECTRICAL 4
Fig. 15
β ELECTRICAL 5
Fig. 16
β STARTING MOTOR
Fig. 17
β BOTTOM COWLING 1
Fig. 18
β BOTTOM COWLING 2
Fig. 19
β CONTROL
Fig. 2
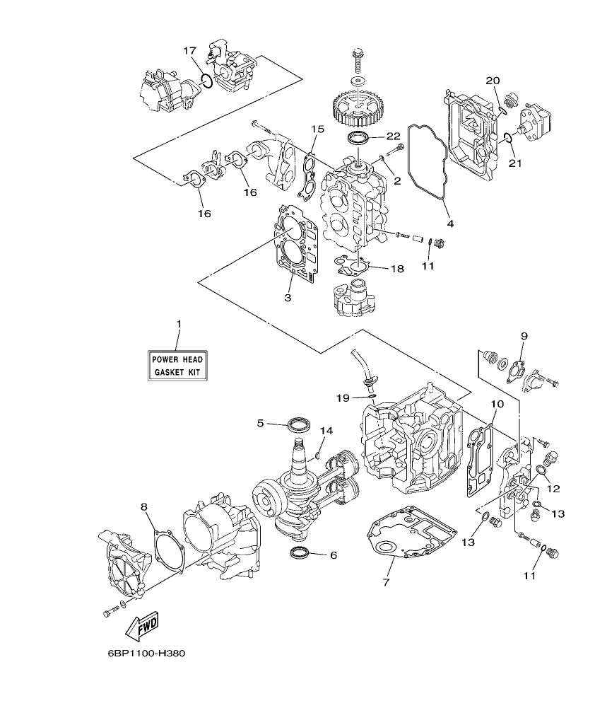
β CYLINDER & CRANKCASE 1
Fig. 20
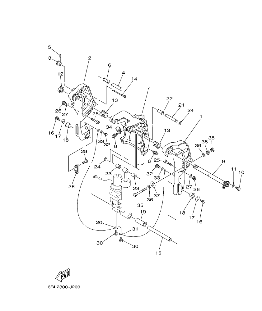
β BRACKET 1
Fig. 21
β BRACKET 2
Fig. 22
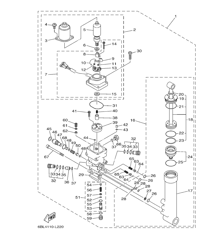
β POWER TRIM & TILT ASSY
Fig. 23
β UPPER CASING
Fig. 24
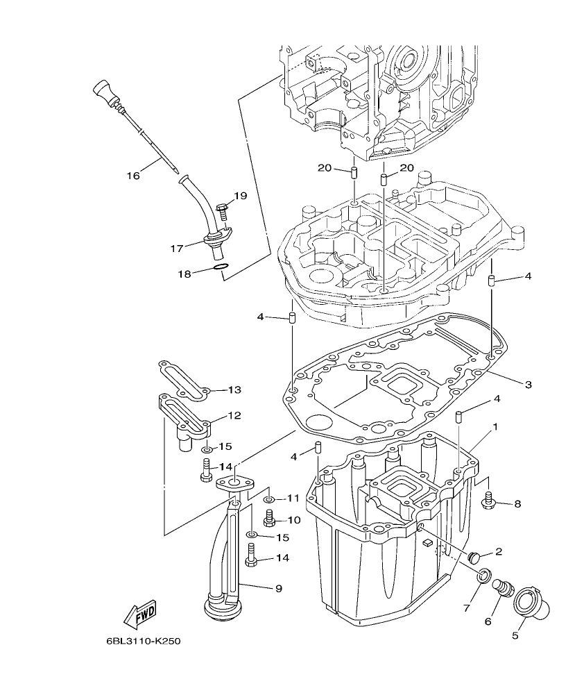
β OIL PAN
Fig. 25
β LOWER CASING & DRIVE 1
Fig. 26
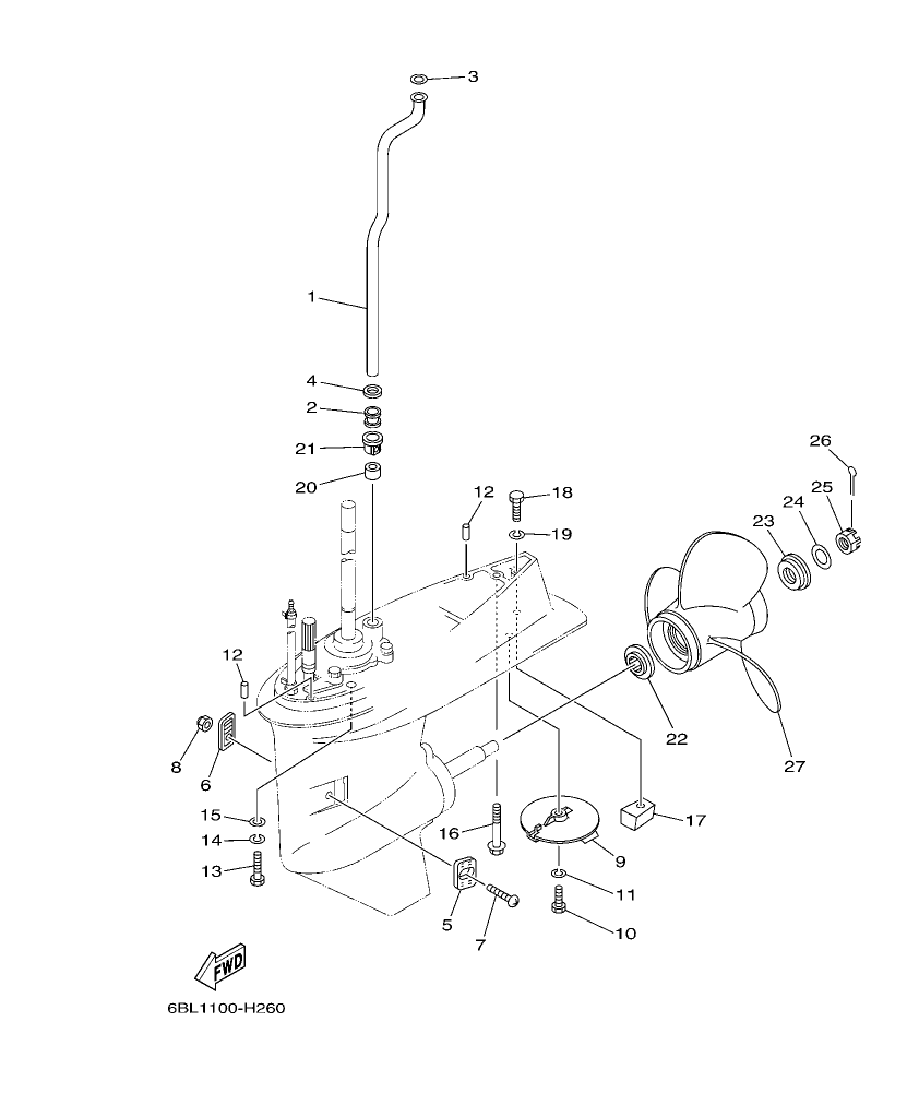
β LOWER CASING & DRIVE 2
Fig. 27
β FUEL TANK
Fig. 28
β STEERING GUIDE
Fig. 29
β REMOTE CONTROL BOX
Fig. 3
β CRANKSHAFT & PISTON
Fig. 30
β REMOTE CONTROL ASSY
Fig. 31
β REPAIR KIT 1
Fig. 32
β REPAIR KIT 2
Fig. 33
β REPAIR KIT 3
Fig. 4
β CYLINDER & CRANKCASE 2
Fig. 5
β VALVE
Fig. 6
β INTAKE
Fig. 7
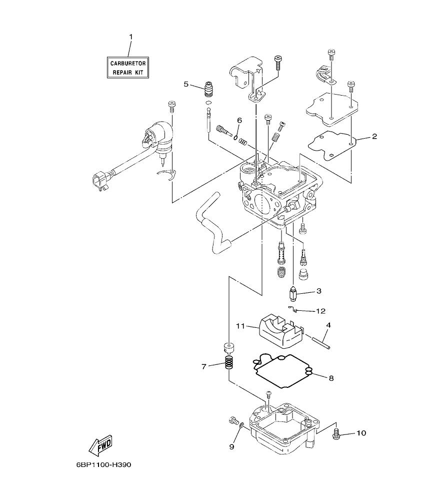
β CARBURETOR
Fig. 8
β OIL PUMP
Fig. 9
β FUEL