FT25FET
Section 23: UPPER CASING (v2)
Engine sections in this catalog
TOP COWLING
GENERATOR
ELECTRICAL 1
ELECTRICAL 2
ELECTRICAL 3
ELECTRICAL 4
ELECTRICAL 5
STARTING MOTOR
BOTTOM COWLING 1
BOTTOM COWLING 2
CONTROL
CYLINDER & CRANKCASE 1
BRACKET 1
BRACKET 2
POWER TRIM & TILT ASSY
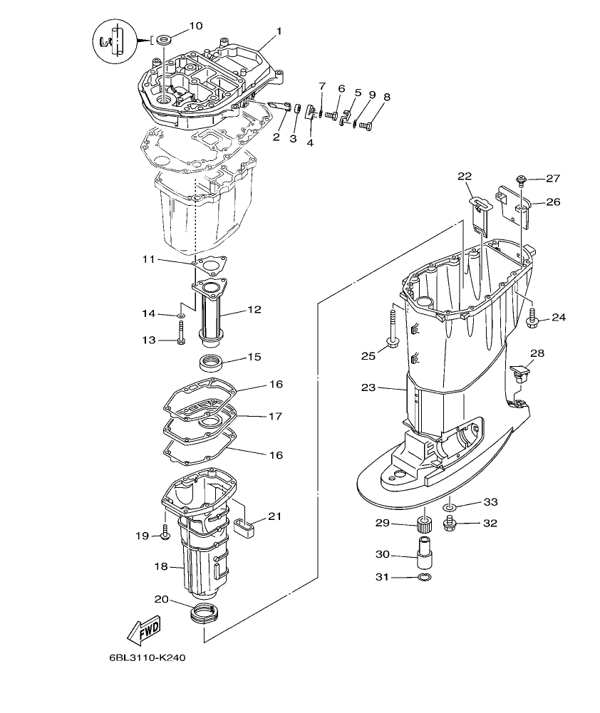
UPPER CASING
OIL PAN
LOWER CASING & DRIVE 1
LOWER CASING & DRIVE 2
FUEL TANK
STEERING GUIDE
REMOTE CONTROL BOX
CRANKSHAFT & PISTON
REMOTE CONTROL ASSY
REPAIR KIT 1
REPAIR KIT 2
REPAIR KIT 3
CYLINDER & CRANKCASE 2
VALVE
INTAKE
CARBURETOR
OIL PUMP
FUEL
Diagram for section 23: UPPER CASING.
| Ref | Part No. | Qty | Buy |
|---|---|---|---|
| 1 |
67Cβ41137β13βCA
GUIDE, EXHAUST
|
1 | Ask on WhatsApp |
| 2 |
62Yβ11325β00
ANODE
|
1 | Ask on WhatsApp |
| 3 |
66Mβ11328β00
GROMMET, ANODE
|
1 | Ask on WhatsApp |
| 4 |
66Mβ11327β00β94
COVER, ANODE
|
1 | Ask on WhatsApp |
| 5 |
66Mβ12535β00
PLATE
|
1 | Ask on WhatsApp |
| 6 |
97095β05012
BOLT
|
1 | Ask on WhatsApp |
| 7 |
92995β05600
WASHER
|
1 | Ask on WhatsApp |
| 8 |
97013β06020
BOLT
|
1 | Ask on WhatsApp |
| 9 |
92903β06600
WASHER, PLATE
|
1 | Ask on WhatsApp |
| 10 |
93110β16004
OIL SEAL
|
1 | Ask on WhatsApp |
| 11 |
64Jβ41133β10
GASKET, EXHAUST MANIFOLD 1
|
1 | Ask on WhatsApp |
| 12 |
6BGβ41131β00βCA
MANIFOLD, EXT. 1
|
1 | Ask on WhatsApp |
| 13 |
97075β06050
BOLT
|
3 | Ask on WhatsApp |
| 14 |
92995β06600
WASHER
|
3 | Ask on WhatsApp |
| 15 |
64Jβ46132β10
GASKET 1
|
1 | Ask on WhatsApp |
| 16 |
6BGβ41134β00
GASKET, EXHAUST MANIFOLD
|
2 | Ask on WhatsApp |
| 17 |
6BGβ45181β00βCA
PLATE
|
1 | Ask on WhatsApp |
| 18 |
69Wβ14711β00βCA
MUFFLER 1
|
1 | Ask on WhatsApp |
| 19 |
97575β06525
BOLT, WITH WASHER
|
6 | Ask on WhatsApp |
| 20 |
67Cβ45123β00
GASKET, MUFFLER
|
1 | Ask on WhatsApp |
| 21 |
62Yβ45127β00
SEAL
|
1 | Ask on WhatsApp |
| 22 |
64Jβ77123β00
GUIDE 1
|
1 | Ask on WhatsApp |
| 23 |
6BGβ45111β10β4D
CASING, UPPER
|
1 | Ask on WhatsApp |
| 24 |
97575β08530
BOLT, WITH WASHER
|
4 | Ask on WhatsApp |
| 25 |
90119β08132
BOLT, WITH WASHER
|
8 | Ask on WhatsApp |
| 26 |
67Cβ45151β00
COVER, UPPER CASING
|
1 | Ask on WhatsApp |
| 27 |
97980β05216
SCREW, WITH WASHER
|
2 | Ask on WhatsApp |
| 28 |
6C5β45155β00
|
1 | Ask on WhatsApp |
| 29 |
679β45318β00
|
1 | Ask on WhatsApp |
| 30 |
90387β23002
|
1 | Ask on WhatsApp |
| 31 |
93420β36M01
|
1 | Ask on WhatsApp |
| 32 |
90340β14M06
|
1 | Ask on WhatsApp |
| 33 |
90430β14M09
|
1 | Ask on WhatsApp |