Suzuki DF60
Choose a section to open the exploded parts diagram with live pricing. (v2)
Model code: DF60
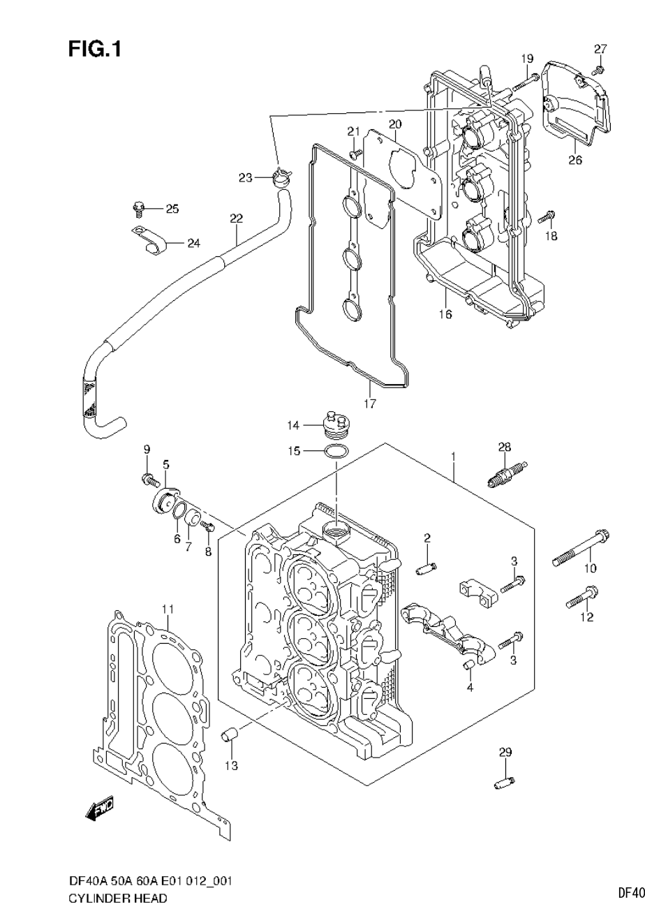
CYLINDER HEAD
RING GEAR COVER
CRANKSHAFT
TIMING CHAIN
CAMSHAFT
INTAKE MANIFOLD / SILENCER / EXHAUST COVER
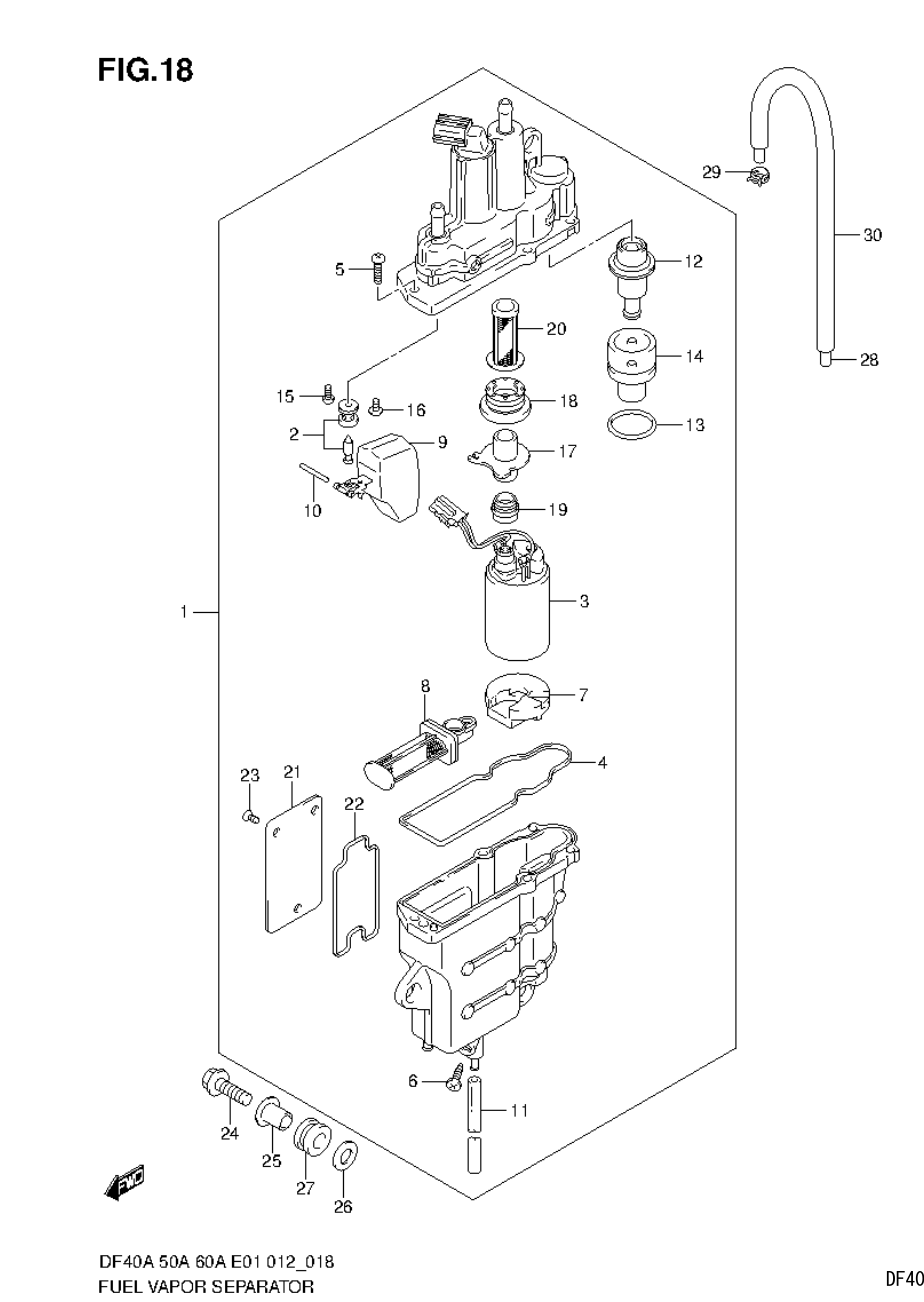
FUEL VAPOR SEPARATOR
FUEL PUMP
WATER PUMP
THROTTLE BODY
OIL PUMP
CLUTCH ROD
PTT SWITCH / ENGINE CONTROL UNIT
SWIVEL BRACKET
TRIM CYLINDER
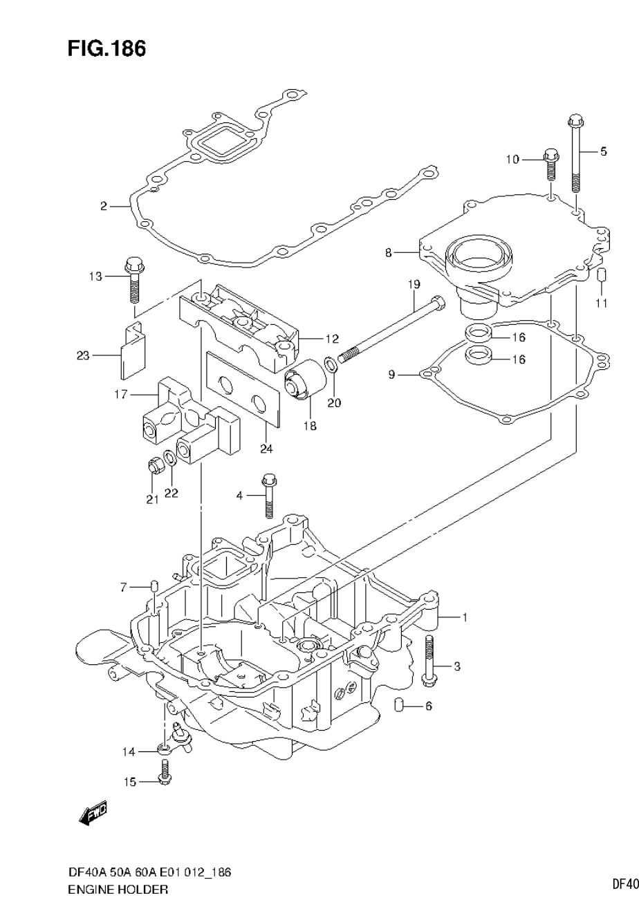
ENGINE HOLDER
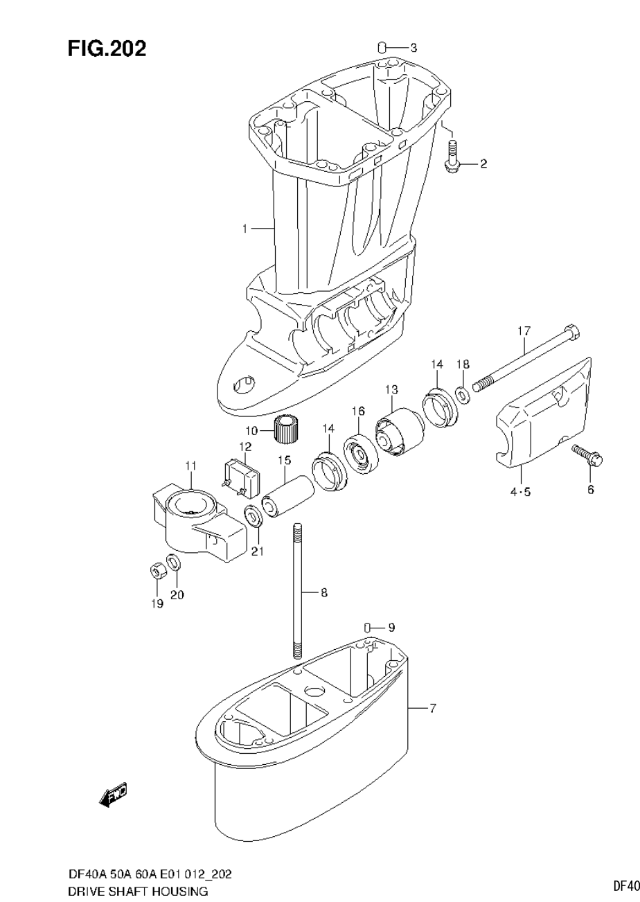
DRIVE SHAFT HOUSING
GEAR CASE
SIDE COVER
METER
OPT:HARNESS
OPT:REMOTE CONTROL
OPT:REMOTE CONTROL ASSY SINGLE(2)
OPT:TILLER HANDLE