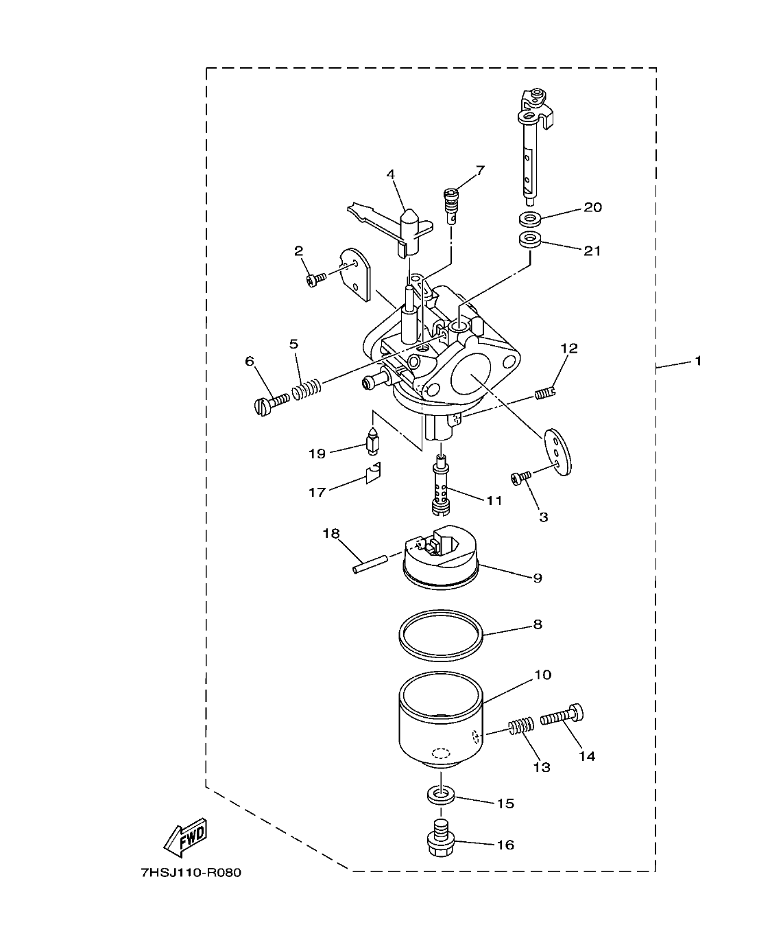
MX400AA6A0
Section 8: CARBURETOR (v2)
Model code: 7HP1
Parts list
Section 8
| Ref | Part No. / Description | Qty | Buy |
|---|---|---|---|
| 1 |
7HP-E4301-01
CARBURETOR ASSY 1
|
1 | |
| 2 |
7BX-E4486-00
.SCREW, ROD
|
2 | |
| 3 |
7BX-E4216-00
.SCREW
|
2 | |
| 4 |
7HC-E4583-00
.LEVER, CHOKE
|
1 | |
| 5 |
7BX-E4212-00
.SPRING, PILOT ADJUSTING
|
1 | |
| 6 |
7HC-E4922-00
.SCREW, THROTTLE
|
1 | |
| 7 |
7HC-E4A42-79
.JET, PILOT
|
1 | |
| 8 |
7HC-E4184-00
.GASKET, FLOAT CHAMBER
|
1 | |
| 9 |
7HC-E4185-00
.FLOAT
|
1 | |
| 10 |
7HC-E4A81-00
.BODY, FLOAT CHAMBER 1
|
1 | |
| 11 |
7HP-E4A41-00
.NOZZLE, MAIN
|
1 | |
| 12 |
7HC-E4A43-65
.JET, MAIN
|
1 | |
| 13 |
7BX-E4212-00
.SPRING, PILOT ADJUSTING
|
1 | |
| 14 |
7HC-E4191-00
.PLUG, DRAIN
|
1 | |
| 15 |
7HC-E4227-00
.WASHER
|
1 | |
| 16 |
7HC-E4162-00
.BOLT, HOLDING
|
1 | |
| 17 |
7HC-E4159-00
.CLIP
|
1 | |
| 18 |
7BX-E4186-00
.PIN, FLOAT
|
1 | |
| 19 |
7HC-E4150-00
.NEEDLE ASSY
|
1 | |
| 20 |
7HC-E4117-00
.WASHER, PLUG SCREW
|
1 | |
| 21 |
7HC-E4239-00
.SEAL
|
1 |