YZFR1BC
Section 22: FENDER (v2)
Model code: 1KBC
Parts list
Section 22
| Ref | Part No. / Description | Qty | Buy |
|---|---|---|---|
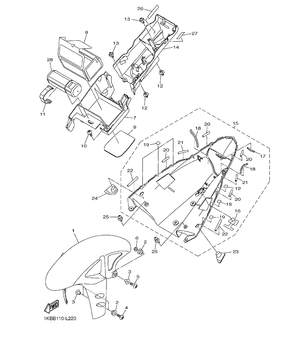
| 1 |
14B-21511-00-P2
FENDER, FRONT
UR FOR DPBMC
|
1 | |
| 1 |
14B-21511-00-P0
FENDER, FRONT
UR FOR SMX
|
1 |
277.84 AED
Check price & stock on WhatsApp
|
| 2 |
90480-12072
GROMMET
|
6 | |
| 3 |
90387-065J6
COLLAR
|
6 | |
| 4 |
90111-06043
BOLT,HEX. SOCKET BUTTON
|
4 |
5.90 AED
Check price & stock on WhatsApp
|
| 5 |
90111-06030
BOLT,HEX. SOCKET BUTTON
|
2 |
4.28 AED
Check price & stock on WhatsApp
|
| 6 |
95702-06500
NUT, FLANGE
|
2 | |
| 7 |
14B-8212B-00
BOX, BATTERY 1
|
1 | |
| 8 |
1KB-82122-00
SEAT, BATTERY
|
1 | |
| 9 |
14B-82176-20
DAMPER
|
1 | |
| 10 |
90149-06302
SCREW
|
2 | |
| 11 |
5JJ-82131-00
BAND, BATTERY
|
1 | |
| 12 |
90269-07077
RIVET
|
2 | |
| 13 |
90269-07012
RIVET
|
2 | |
| 14 |
14B-8212C-00
BOX, BATTERY 2
|
1 | |
| 15 |
14B-21600-00-P0
REAR FENDER ASSY.
UR FOR SMX
|
1 | |
| 15 |
14B-21600-00-P2
REAR FENDER ASSY.
UR FOR DPBMC
|
1 | |
| 16 |
14B-21669-00
.SEAL
|
1 | |
| 17 |
4GY-2174X-00
.DAMPER
|
1 | |
| 18 |
3CV-28372-00
.DAMPER
|
2 | |
| 19 |
4C8-21735-00
.SEAL 2
|
6 | |
| 20 |
5VY-21732-00
.SEAL 1
|
4 | |
| 21 |
5PW-21732-00
.SEAL 1
|
2 | |
| 22 |
14B-21732-00
.SEAL 1
|
2 | |
| 23 |
14B-21639-00
DAMPER 2
|
1 | |
| 24 |
14B-21649-00
DAMPER
|
1 | |
| 25 |
90269-07076
RIVET
|
2 | |
| 26 |
3JJ-28446-A1
LABEL, CAUTION
|
1 | |
| 27 |
4BR-24877-A0
LABEL, CAUTION
|
1 | |
| 28 |
14B-28100-00
TOOL KIT
|
1 |