F60A
Section 2: CYLINDER & CRANKCASE 1 (v2)
Model code: 69W6
Parts list
Section 2
| Ref | Part No. / Description | Qty | Buy |
|---|---|---|---|
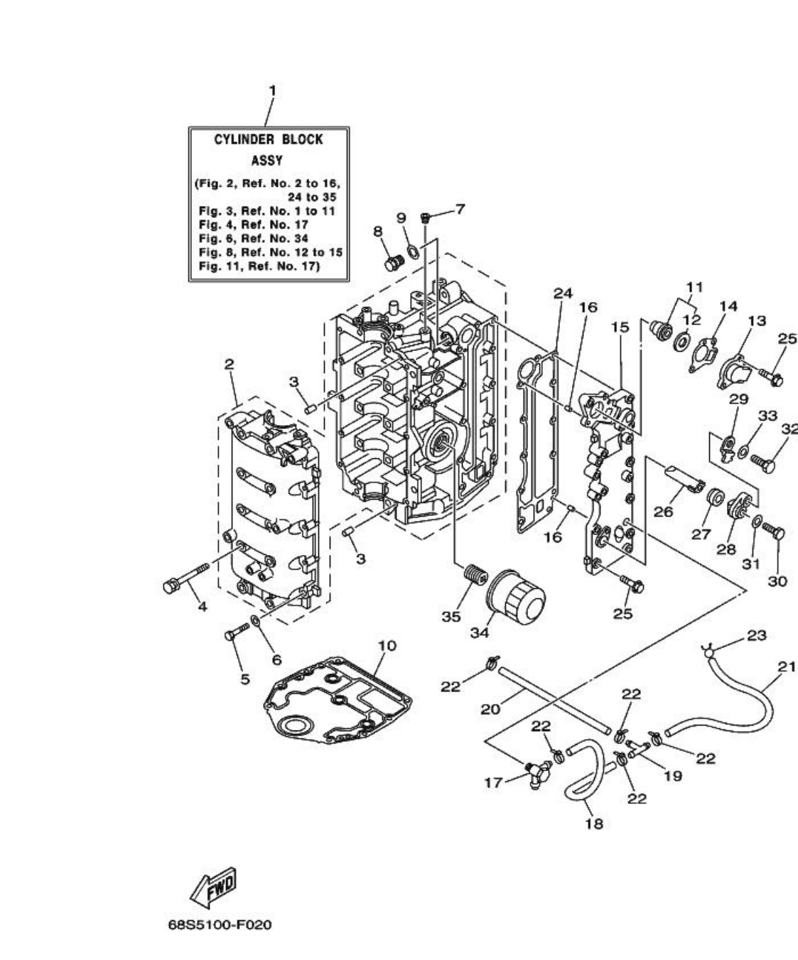
| 1 |
69W-W009B-02-1S
CYLINDER BLOCK ASSY
|
1 | |
| 2 |
69W-15100-10-1S
CRANKCASE ASSY
|
1 | |
| 3 |
93606-12019
PIN, DOWEL
|
4 | |
| 4 |
90119-08M01
BOLT, WITH WASHER
|
10 | |
| 5 |
97013-06035
BOLT
|
10 | |
| 6 |
92903-06600
WASHER, PLATE
|
10 | |
| 7 |
90344-51003
PLUG, TAPER SCREW
|
1 | |
| 8 |
90340-14M06
PLUG, STRAIGHT SCREW
|
1 | |
| 9 |
90430-14115
GASKET
|
1 |
3.72 AED
Check price & stock on WhatsApp
|
| 10 |
67C-11351-01
GASKET, CYLINDER
|
1 | |
| 11 |
6G8-12411-03
THERMOSTAT
|
1 | |
| 12 |
688-12412-00
. SEAL, THERMOSTAT
|
1 |
8.94 AED
Check price & stock on WhatsApp
|
| 13 |
6C5-12413-00-1S
COVER, THERMOSTAT
|
1 | |
| 14 |
62Y-12414-00
GASKET, COVER
|
1 | |
| 15 |
69W-41113-00-1S
OUTER COVER, EXHAUST
|
1 | |
| 16 |
93604-10M03
PIN, DOWEL
|
2 | |
| 17 |
62Y-11372-01
NIPPLE, HOSE
FLUSHING KIT
|
1 | |
| 18 |
90445-09068
HOSE (L110)
|
1 | |
| 19 |
688-24378-00
PIPE, JOINT 4
|
1 | |
| 20 |
90445-09095
HOSE (L215)
|
1 | |
| 21 |
90445-09104
HOSE (L300)
|
1 | |
| 22 |
90465-11M10
CLAMP
|
5 | |
| 23 |
90467-08M18
CLIP
|
1 | |
| 24 |
6C5-41114-10
GASKET, EXHAUST OUTER COVER
|
1 | |
| 25 |
90119-06MA5
BOLT, WITH WASHER
|
12 | |
| 26 |
62Y-11325-00
ANODE
|
1 | |
| 27 |
A-DARK
BLUISH GRAY
|
1 | |
| 27 |
66M-11328-00
GROMMET, ANODE
|
1 | |
| 28 |
66M-11327-00-94
COVER, ANODE
|
1 | |
| 29 |
66M-12535-00
PLATE
|
1 | |
| 30 |
97095-05012
BOLT
|
1 | |
| 31 |
92995-05600
WASHER
|
1 | |
| 32 |
97095-06020
BOLT
|
1 | |
| 33 |
92995-06600
WASHER
|
1 | |
| 34 |
5GH-13440-20
ELEMENT ASSY, OIL CLEANER
|
1 | |
| 35 |
6C5-12858-00
BOLT, UNION
|
1 |