F60A
Section 4: CYLINDER & CRANKCASE 2 (v2)
Model code: 69W6
Parts list
Section 4
| Ref | Part No. / Description | Qty | Buy |
|---|---|---|---|
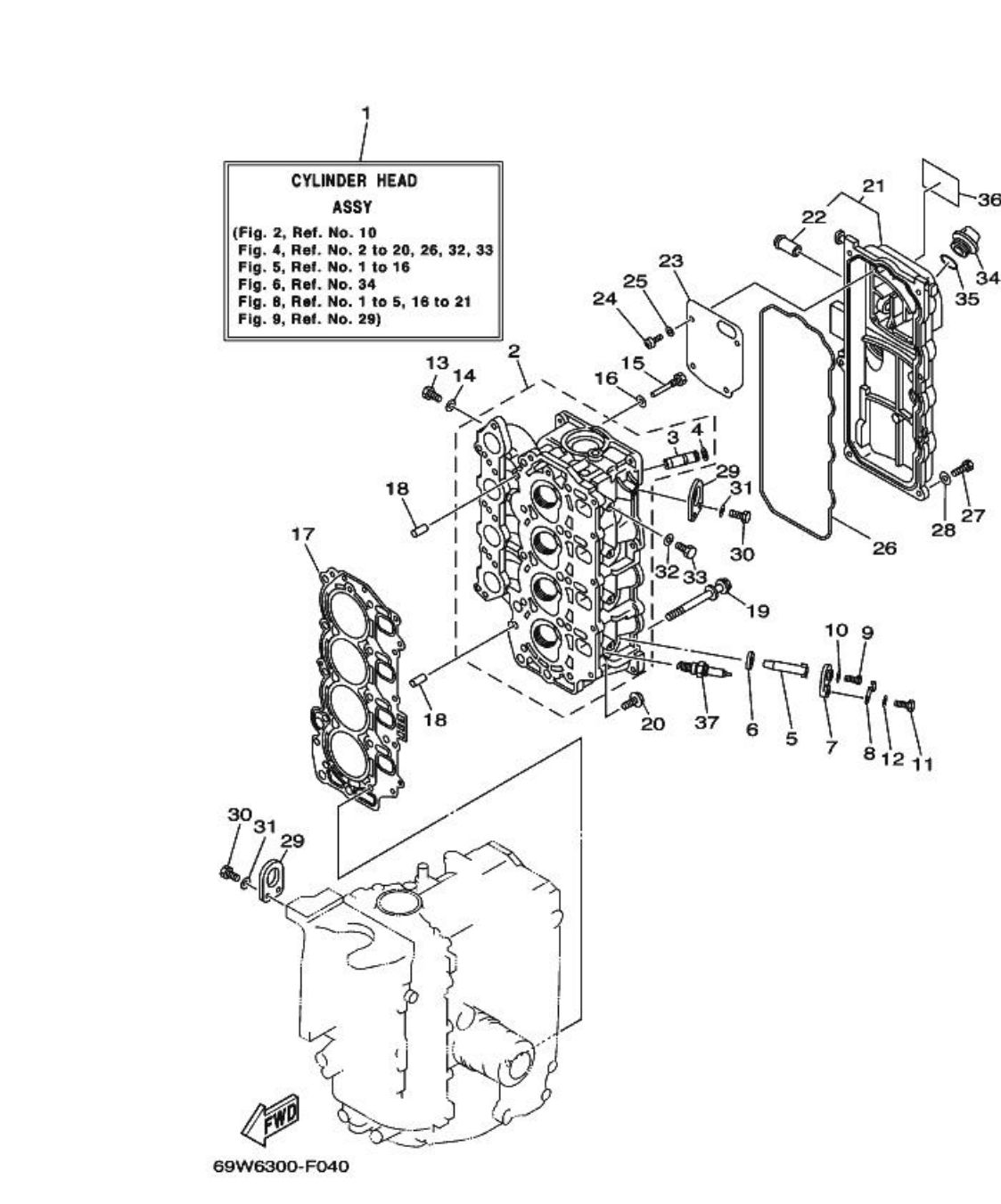
| 1 |
69W-W009A-01-1S
CYLINDER HEAD ASSY
|
1 | |
| 2 |
69W-11111-00-1S
HEAD, CYLINDER 1
|
1 | |
| 3 |
62Y-11133-30
. GUIDE, VALVE 1
|
8 | |
| 4 |
93450-09M01
. CIRCLIP
|
8 | |
| 5 |
62Y-11325-00
ANODE
|
4 | |
| 6 |
66M-11328-00
GROMMET, ANODE
|
4 | |
| 7 |
66M-11327-00-94
COVER, ANODE
|
4 | |
| 8 |
66M-12535-00
PLATE
|
4 | |
| 9 |
97095-05012
BOLT
|
4 | |
| 10 |
92995-05600
WASHER
|
4 | |
| 11 |
97095-06020
BOLT
|
4 | |
| 12 |
92995-06600
WASHER
|
4 | |
| 13 |
97095-06010
BOLT
|
4 | |
| 14 |
90430-06014
GASKET
|
4 | |
| 15 |
90109-06M65
BOLT
|
1 | |
| 16 |
90430-06014
GASKET
|
1 | |
| 17 |
69W-11181-01
GASKET, CYLINDER HEAD 1
|
1 | |
| 18 |
99530-08012
PIN, DOWEL
|
2 | |
| 19 |
90119-09M00
BOLT, WITH WASHER
|
10 | |
| 20 |
90119-06MA3
BOLT, WITH WASHER
|
5 | |
| 21 |
62Y-11191-01-1S
COVER, CYLINDER HEAD 1
|
1 | |
| 22 |
62Y-14485-00
. PIPE, JOINT
|
1 | |
| 23 |
62Y-11168-00
COVER, BREATHER
|
1 | |
| 24 |
98507-04010
SCREW, PAN HEAD
|
4 | |
| 25 |
92907-04600
WASHER
|
4 | |
| 26 |
62Y-11356-00
SEAL, CYLINDER 2
|
1 |
34.26 AED
Check price & stock on WhatsApp
|
| 27 |
97095-06020
BOLT
|
7 | |
| 27 |
A-DARK
BLUISH GRAY
|
1 | |
| 28 |
92995-06600
WASHER
|
7 | |
| 29 |
62Y-11119-00
HANGER, ENGINE
|
2 | |
| 30 |
97095-06020
BOLT
|
4 | |
| 31 |
92995-06600
WASHER
|
4 | |
| 32 |
90430-08143
GASKET
|
4 | |
| 33 |
97095-08014
BOLT
|
4 | |
| 34 |
6G8-15363-00
PLUG, OIL
|
1 |
10.43 AED
Check price & stock on WhatsApp
|
| 35 |
93210-24M79
O-RING
|
1 | |
| 36 |
62Y-12138-60
MARK, CAUTION
|
1 | |
| 37 |
94701-00406
PLUG, SPARK (NGK DPR5EA-9)
|
4 |