πŸŒ™ Ψ±Ω…ΨΆΨ§Ω† ΩƒΨ±ΩŠΩ… ✨
✨ Ramadan Working Hours: 9:00 AM – 3:00 PM ✨

F60A

Section 11: ELECTRICAL 1 (v2)

Model code: 69W6
Section 11 β€” ELECTRICAL 1
F60A
100%
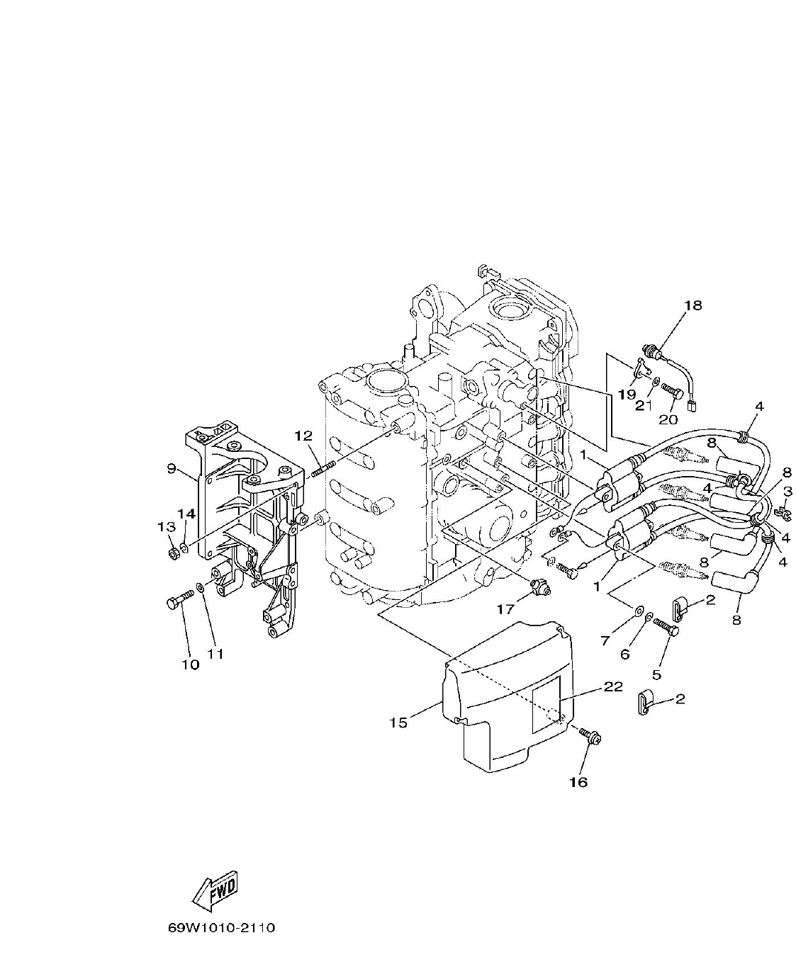
F60A – section 11 ELECTRICAL 1 parts diagram
Diagram image Open full size
Parts list
Section 11
Ref Part No. / Description Qty Buy
1
62Y-85570-00
IGNITION COIL ASSY
2
2
90465-06M90
CLAMP
2
3
90464-07M41
CLAMP
1
4
90480-25161
GROMMET
4
5
97095-06030
BOLT
4
6
92995-06100
WASHER, SPRING
4
2.98 AED
πŸ”“ Unlock Discounts
Stock 12
7
92995-06600
WASHER
4
8
6G8-82370-30
PLUG CAP ASSY
4
9
62Y-81822-01-94
BRACKET, STARTING MOTOR
1
10
97095-08035
BOLT
3
11.92 AED
πŸ”“ Unlock Discounts
Stock 5
11
92995-08600
WASHER
3
12
90116-08M14
BOLT, STUD
1
13
95380-08600
NUT
1
14
92990-08100
WASHER, SPRING
1
2.98 AED
πŸ”“ Unlock Discounts
Stock 20
15
62Y-85599-00
COVER
1
16
90159-06M08
SCREW, WITH WASHER
3
17
64J-82504-00
OIL PRESSURE SWITCH ASSY
1
18
62Y-82560-01
THERMO SWITCH ASSY
1
19
6E9-82588-00
PLATE
1
20
97095-06012
BOLT
1
21
92995-06600
WASHER
1
22
62Y-83626-00
MARK 6
1