E15DMH ’03
Choose a section to open the exploded parts diagram with live pricing. (v2)
Engine sections in this model
Fig. 1
– TOP COWLING
Fig. 10
– BOTTOM COWLING
Fig. 11
– STEERING
Fig. 12
– CONTROL
Fig. 13
– BRACKET 1
Fig. 14
– BRACKET 2
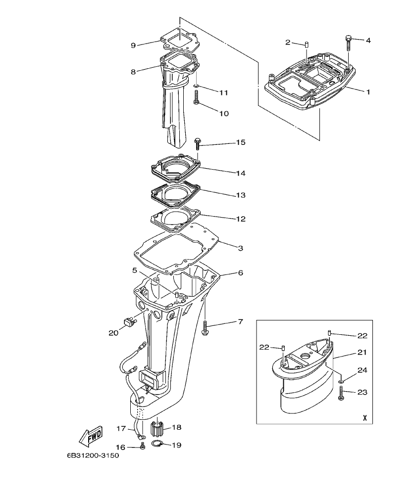
Fig. 15
– UPPER CASING
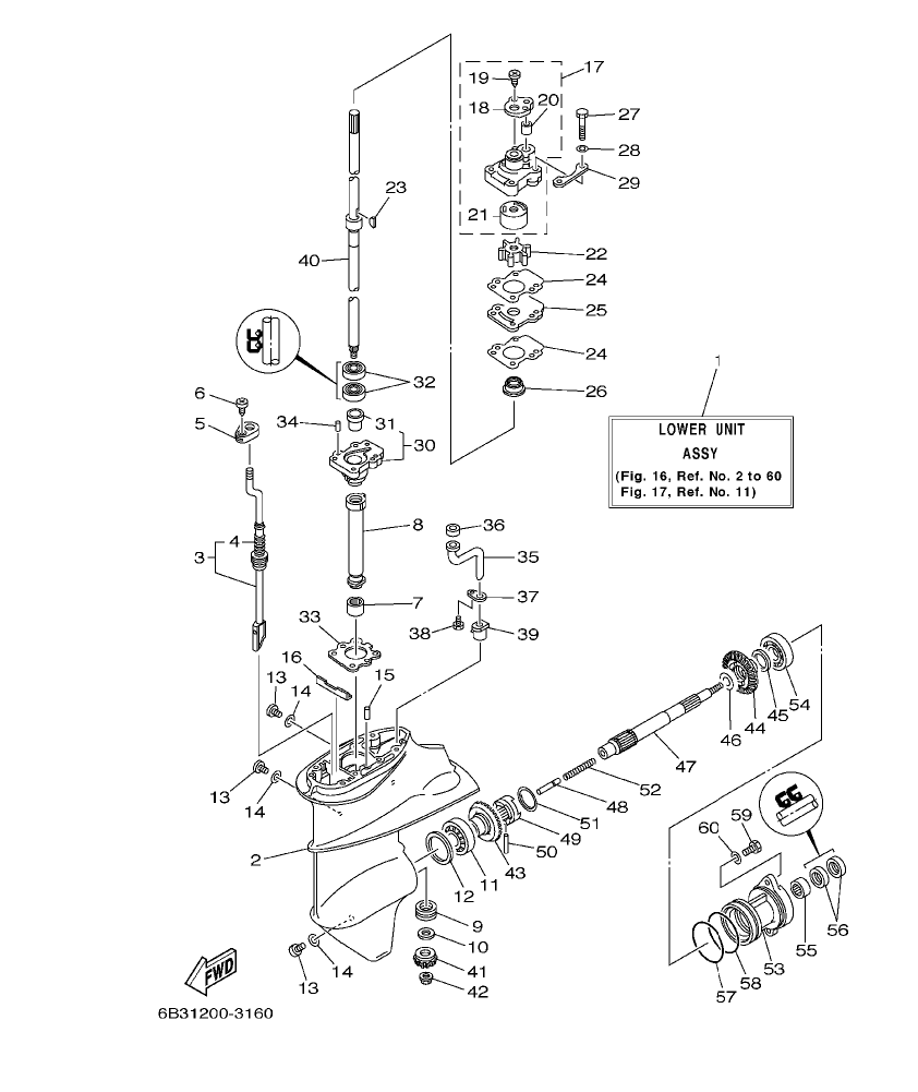
Fig. 16
– LOWER CASING. DRIVE 1
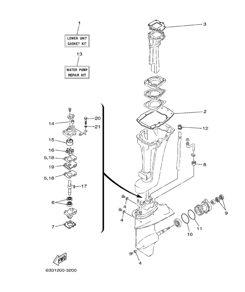
Fig. 17
– LOWER CASING. DRIVE 2
Fig. 18
– FUEL TANK
Fig. 19
– REPAIR KIT 1
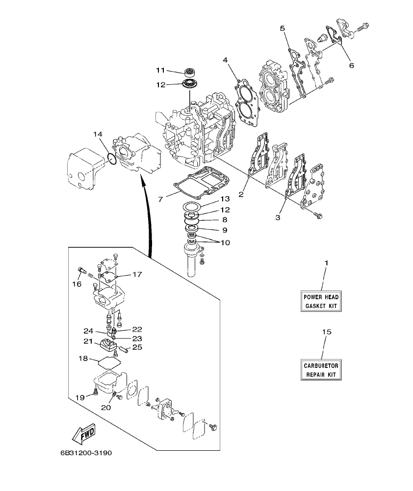
Fig. 2
– CYLINDER. CRANKCASE
Fig. 20
– REPAIR KIT 2
Fig. 3
– CRANKSHAFT. PISTON
Fig. 4
– INTAKE
Fig. 5
– CARBURETOR
Fig. 6
– FUEL
Fig. 7
– STARTER
Fig. 8
– GENERATOR
Fig. 9
– ELECTRICAL