πŸŒ™ Ψ±Ω…ΨΆΨ§Ω† ΩƒΨ±ΩŠΩ… ✨
✨ Ramadan Working Hours: 9:00 AM – 3:00 PM ✨

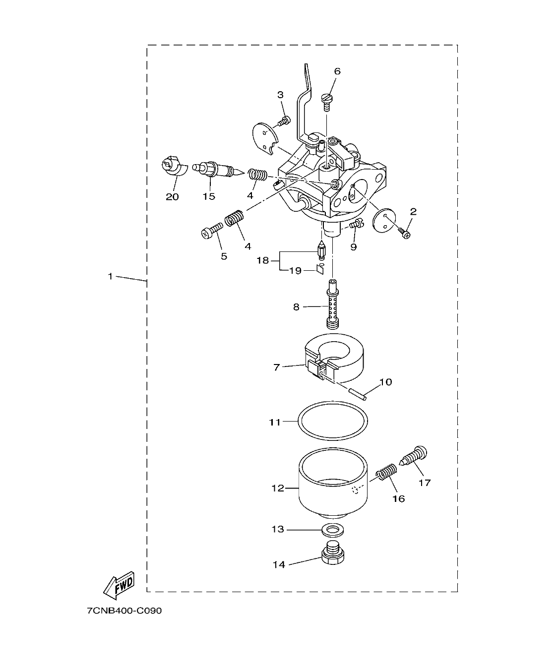
YP20G

Section 8: CARBURETOR 2 (v2)

Model code: Q9CB
Section 8 β€” CARBURETOR 2
YP20G
100%
YP20G – section 8 CARBURETOR 2 parts diagram
Diagram image Open full size
Parts list
Section 8
Ref Part No. / Description Qty Buy
1
7CN-E4101-10
CARBURETOR ASSY
1
12
7EG-14181-00
.BODY, FLOAT CHAMBER
1