YP20G
Section 11: FUEL TANK (v2)
Model code: Q9CB
Parts list
Section 11
| Ref | Part No. / Description | Qty | Buy |
|---|---|---|---|
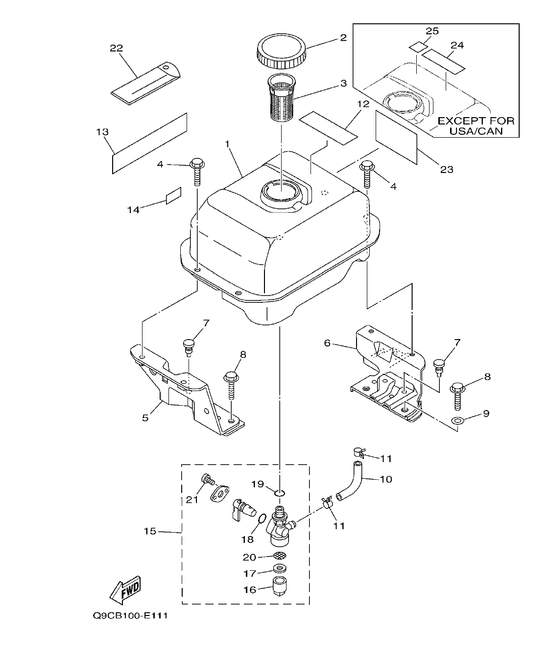
| 1 |
7CN-F4110-00-NJ
FUEL TANK COMP.
FWB
|
1 | |
| 2 |
7CN-F4610-00
CAP ASSY
|
1 | |
| 3 |
7CN-F4167-00
STRAINER
|
1 | |
| 4 |
95827-06012
BOLT, FLANGE
|
4 | |
| 5 |
7CN-F4115-00
STAY, FUEL TANK 1
|
1 | |
| 6 |
7CN-F4116-00
STAY, FUEL TANK 2
|
1 | |
| 7 |
90338-05800
PLUG
|
3 | |
| 8 |
95827-08020
BOLT, FLANGE
|
4 | |
| 9 |
90201-08826
WASHER, PLATE
|
3 | |
| 10 |
7CN-F4311-00
PIPE, FUEL 1
|
1 | |
| 11 |
90467-09806
CLIP
|
2 | |
| 12 |
7CL-F4162-00
EMBLEM 2 (WARNING)
|
1 | |
| 14 |
7CC-H2377-50
LABEL
|
1 | |
| 15 |
7CN-F4500-00
FUEL COCK ASSY 1
|
1 | |
| 16 |
7J3-24521-00
.CUP, FILTER
|
1 | |
| 17 |
4X8-24565-00
.GASKET
|
1 | |
| 18 |
7NJ-24534-00
.SEAL, COCK
|
1 | |
| 19 |
7NJ-24532-00
.GASKET
|
1 | |
| 20 |
7NJ-24515-01
.NET, FILTER 2
|
1 | |
| 21 |
98507-03008
.SCREW, PAN HEAD
|
2 | |
| 22 |
7CA-F8100-00
TOOL KIT
|
1 | |
| 24 |
YJA-07000-22-01
LABEL, CAUTION A
EXCEPT USA/CAN
|
1 | |
| 25 |
YJA-07000-23-01
LABEL, CAUTION E
EXCEPT USA/CAN
|
1 |