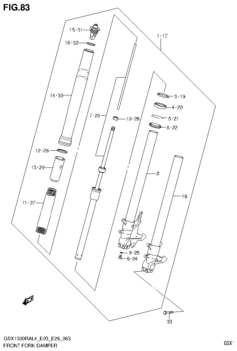
Suzuki GSX1300RAL4_E03_E28(9900B-30900) Section 83 Parts Diagram
FRONT FORK DAMPER
33 catalog rows Β· 10 linked store rows
Parts list
Section 83
| Ref | Part No. / Description | Qty | Buy |
|---|---|---|---|
| 1 |
51103-24F71
DAMPER ASSY, FRONT FORK RH
|
1 | |
| 2 |
51110-24F71
.TUBE, INNER RH
|
1 | |
| 3 |
51158-14200
.WASHER
|
1 | |
| 4 |
51153-41G00
.OIL SEAL
|
1 | |
| 5 |
51156-14200
.RING, STOPPER
|
1 | |
| 6 |
51173-41G00
.SEAL, DUST
|
1 | |
| 7 |
51146-24F50
.CYLINDER
|
1 | |
| 8 |
51147-24F50
.BOLT
|
1 | |
| 9 |
51148-41310
.GASKET
|
1 | |
| 10 |
51352-13A60
.NUT
|
1 | |
| 11 |
51171-24F50
.SPRING, FRONT
|
1 | |
| 12 |
51158-40F30
.GUIDE, SPRING
|
1 | |
| 13 |
51176-40F30
.SPACER, SPRING
|
1 | |
| 14 |
51130-24F50
.TUBE, OUTER
|
1 | |
| 15 |
51351-24F50
.CAP, FRONT FORK
|
1 | |
| 16 |
62278-14100
.O RING
|
1 | |
| 17 |
51104-24F70
DAMPER ASSY, FRONT FORK LH
|
1 | |
| 18 |
51120-24F70
.TUBE, INNER LH
|
1 | |
| 19 |
51158-14200
.WASHER
|
1 | |
| 20 |
51153-41G00
.OIL SEAL
|
1 | |
| 21 |
51156-14200
.RING, STOPPER
|
1 | |
| 22 |
51173-41G00
.SEAL, DUST
|
1 | |
| 23 |
51146-24F50
.CYLINDER
|
1 | |
| 24 |
51147-24F50
.BOLT
|
1 | |
| 25 |
51148-41310
.GASKET
|
1 | |
| 26 |
51352-13A60
.NUT
|
1 | |
| 27 |
51171-24F50
.SPRING, FRONT
|
1 | |
| 28 |
51158-40F30
.GUIDE, SPRING
|
1 | |
| 29 |
51176-40F30
.SPACER, SPRING
|
1 | |
| 30 |
51130-24F50
.TUBE, OUTER
|
1 | |
| 31 |
51351-24F50
.CAP, FRONT FORK
|
1 | |
| 32 |
62278-14100
.O RING
|
1 | |
| 33 |
51166-24F60
BOLT
|
4 |