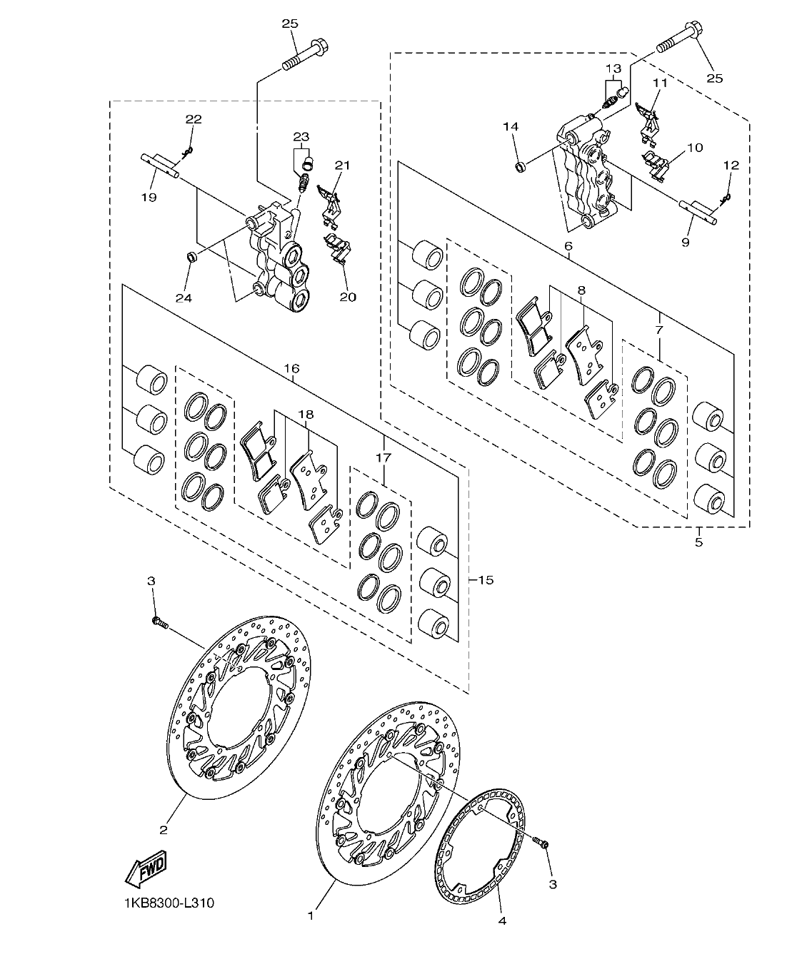
YZFR1B
Section 31: FRONT BRAKE CALIPER (v2)
Model code: 1KBB
Parts list
Section 31
| Ref | Part No. / Description | Qty | Buy |
|---|---|---|---|
| 1 |
1KB-2581T-00
DISK BRAKE ASSY
|
1 | |
| 2 |
1KB-2581U-00
DISK BRAKE ASSY (RIGHT)
|
1 | |
| 3 |
90149-06043
SCREW
|
10 | |
| 4 |
1KB-2517G-00
ROTOR, SENSOR
|
1 | |
| 5 |
4C8-2580T-10
CALIPER ASSY (LEFT)
|
1 | |
| 6 |
4C8-W0057-00
.PISTON ASSY, CALIPER
|
1 | |
| 7 |
4C8-W0047-00
..CALIPER SEAL KIT
|
1 | |
| 8 |
4C8-W0045-00
.BRAKE PAD KIT
|
1 | |
| 9 |
4SV-25924-00
.PIN, PAD
|
2 | |
| 10 |
4C8-25919-00
.SUPPORT, PAD
|
1 | |
| 11 |
2S3-25919-10
.SUPPORT, PAD
|
1 | |
| 12 |
3GM-25925-00
.CLIP
|
4 | |
| 13 |
1J3-W0048-00
.BLEED SCREW KIT
|
1 | |
| 14 |
5VY-2583B-00
.PIN, KNOCK
|
2 | |
| 15 |
4C8-2580U-10
CALIPER ASSY (RIGHT)
|
1 | |
| 16 |
4C8-W0057-00
.PISTON ASSY, CALIPER
|
1 | |
| 17 |
4C8-W0047-00
..CALIPER SEAL KIT
|
1 | |
| 18 |
4C8-W0045-00
.BRAKE PAD KIT
|
1 | |
| 19 |
4SV-25924-00
.PIN, PAD
|
2 | |
| 20 |
4C8-25919-00
.SUPPORT, PAD
|
1 | |
| 21 |
2S3-25919-10
.SUPPORT, PAD
|
1 | |
| 22 |
3GM-25925-00
.CLIP
|
4 | |
| 23 |
1J3-W0048-00
.BLEED SCREW KIT
|
1 | |
| 24 |
5VY-2583B-00
.PIN, KNOCK
|
2 | |
| 25 |
90105-10397
BOLT, FLANGE
|
4 |