YZF-R1
Section 6: WATER PUMP (v2)
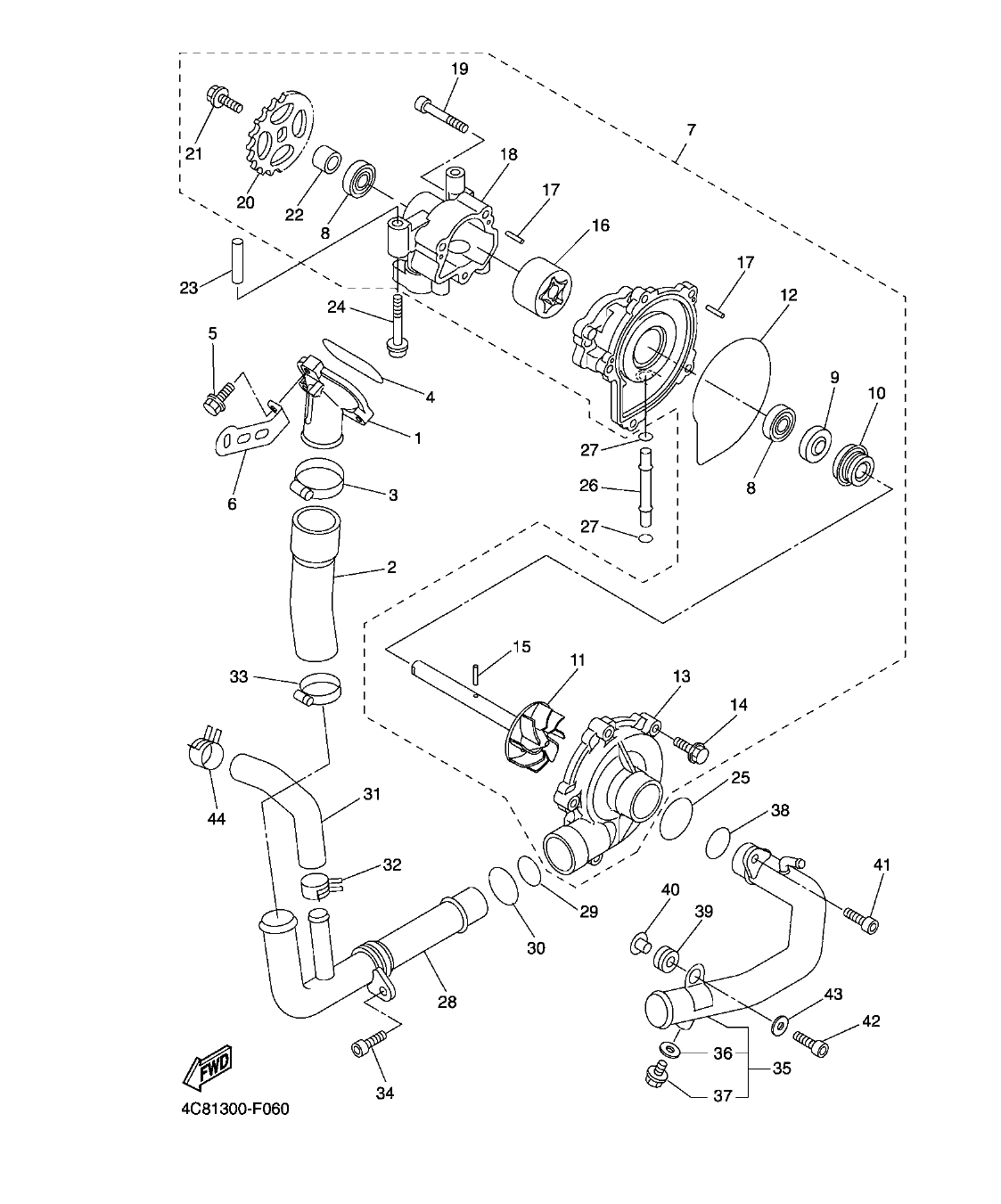
Model code: 4C88
Parts list
Section 6
| Ref | Part No. / Description | Qty | Buy |
|---|---|---|---|
| 1 |
5VY-12469-00
JOINT 1
|
1 |
70.76 AED
Check price & stock on WhatsApp
|
| 2 |
5VY-12576-00
HOSE 1
|
1 |
33.52 AED
Check price & stock on WhatsApp
|
| 3 |
90450-38040
HOSE CLAMP ASSY
|
1 |
18.62 AED
Check price & stock on WhatsApp
|
| 4 |
93210-47675
O-RING
|
1 | |
| 5 |
95024-06025
BOLT, FLANGE
|
3 | |
| 6 |
5VY-12637-00
STAY 1
|
1 | |
| 7 |
4C8-12420-00
WATER PUMP ASSY
|
1 | |
| 8 |
93306-00106
.BEARING
|
2 | |
| 9 |
93102-12372
.OIL SEAL
|
1 | |
| 10 |
4C8-12438-00
.SEAL, MECHANICAL
|
1 | |
| 11 |
5VY-12450-10
.IMPELLER SHAFT ASSY
|
1 | |
| 12 |
4XV-12439-00
.O-RING
|
1 |
22.35 AED
Check price & stock on WhatsApp
|
| 13 |
5VY-12422-00
.COVER, HOUSING
|
1 | |
| 14 |
90105-06065
.BOLT, FLANGE
|
5 | |
| 15 |
93603-17070
.PIN, DOWEL
|
1 | |
| 16 |
5VY-13310-10
.ROTOR ASSY 1
|
1 | |
| 17 |
93603-12007
.PIN, DOWEL
|
4 | |
| 18 |
5VY-13336-00
.HOUSING, ROTOR
|
1 | |
| 19 |
91312-06040
.BOLT
|
3 | |
| 20 |
5VY-13355-00
.SPROCKET, DRIVEN
|
1 | |
| 21 |
90105-06066
.BOLT, FLANGE
|
1 | |
| 22 |
5VY-12456-10
.WASHER
|
1 | |
| 23 |
91808-30031
PIN, DOWEL
|
1 | |
| 24 |
90110-06167
BOLT, HEXAGON SOCKET HEAD
|
2 | |
| 25 |
93210-357A2
O-RING
|
1 |
4.00 AED
Check price & stock on WhatsApp
|
| 26 |
4XV-12485-00
PIPE 5
|
1 | |
| 27 |
93210-06667
O-RING
|
2 | |
| 28 |
5VY-12481-10
PIPE 1
|
1 | |
| 29 |
93210-235A1
O-RING
|
1 | |
| 30 |
93210-27370
O-RING
|
1 | |
| 31 |
5VY-12588-00
HOSE 5
|
1 |
20.11 AED
Check price & stock on WhatsApp
|
| 32 |
90467-200A0
CLIP
|
1 | |
| 33 |
90450-32001
HOSE CLAMP ASSY
|
1 | |
| 34 |
90110-06161
BOLT, HEXAGON SOCKET HEAD
|
1 | |
| 35 |
4C8-12484-00
PIPE 4
|
1 | |
| 36 |
90430-06014
.GASKET
|
1 | |
| 37 |
90153-06002
.SCREW, HEXAGON
|
1 | |
| 38 |
93210-235A1
O-RING
|
1 | |
| 39 |
90480-12010
GROMMET
|
1 | |
| 40 |
90387-06112
COLLAR
|
1 | |
| 41 |
90110-06161
BOLT, HEXAGON SOCKET HEAD
|
1 | |
| 42 |
90110-06174
BOLT, HEXAGON SOCKET HEAD
|
1 | |
| 43 |
90201-06079
WASHER, PLATE
|
1 | |
| 44 |
90467-200A0
CLIP
|
1 |