πŸŒ™ Ψ±Ω…ΨΆΨ§Ω† ΩƒΨ±ΩŠΩ… ✨
✨ Ramadan Working Hours: 9:00 AM – 3:00 PM ✨

F250HET'21

Section 2: TOP COWLING SOPORTE SUPERIOR (v2)

Model code: 6FJ5
Section 2 β€” TOP COWLING SOPORTE SUPERIOR
F250HET'21
100%
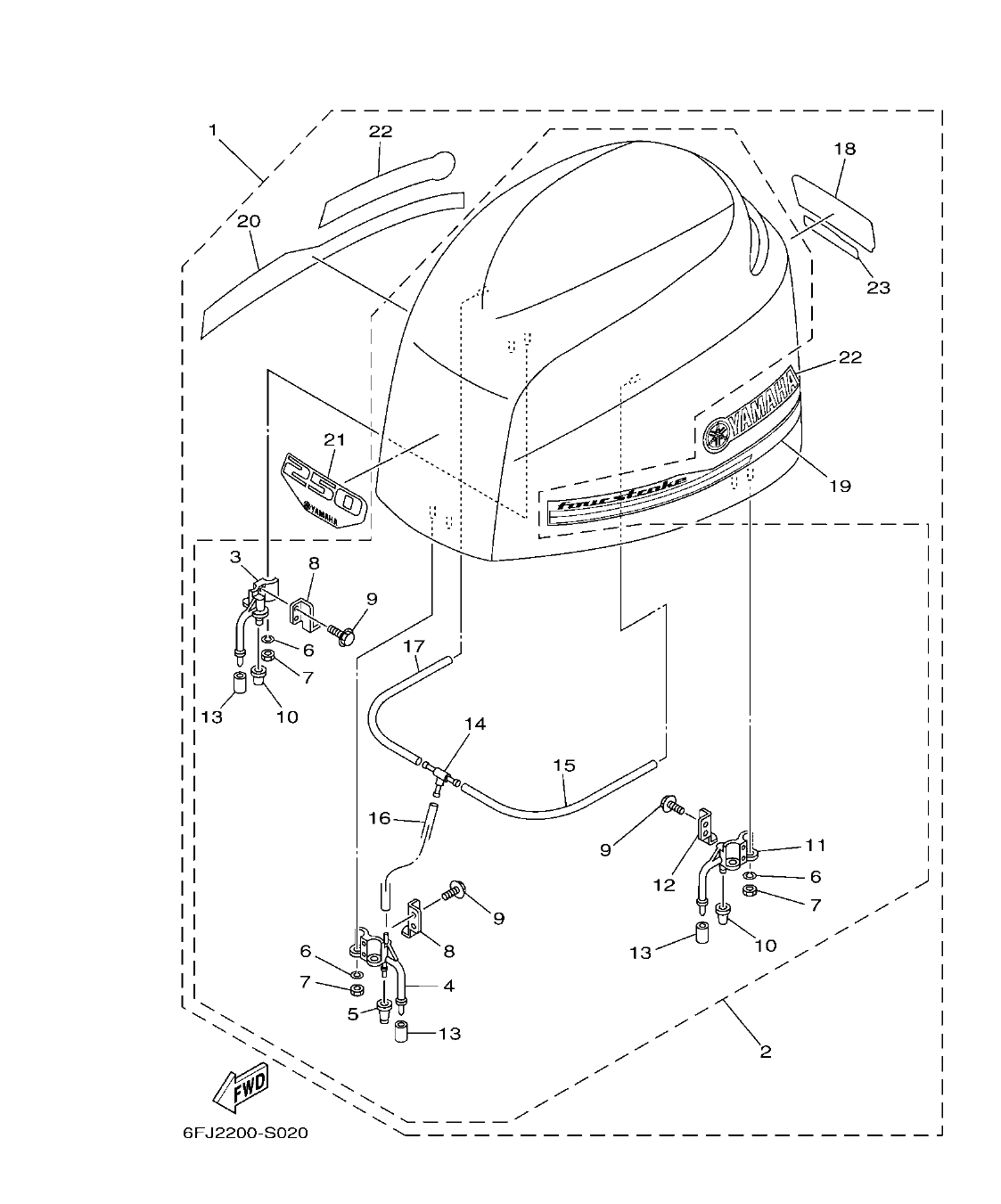
F250HET'21 – section 2 TOP COWLING SOPORTE SUPERIOR parts diagram
Diagram image Open full size
Parts list
Section 2
Ref Part No. / Description Qty Buy
1
6FJ-42610-02
TOP COWLING ASSY 1
1
2
6P2-4261A-02
.TOP COWLING W/O GRAPHICS 1
1
3
68F-42647-01
..HOLDER, CLAMP BAND 1
1
4
69J-42647-01
..HOLDER, CLAMP BAND 1
1
5
69J-42663-01
..DAMPER 2 1
1
8.94 AED
πŸ”“ Unlock Discounts
Stock 3 (Ask)
6
92990-06100
..WASHER, SPRING 6
6
7
95380-06600
..NUT, HEXAGON 6
6
3.72 AED
πŸ”“ Unlock Discounts
Stock 3 (Ask)
8
60V-42651-01
..HOOK 2
2
9
97E95-06516
..BOLT, HEXAGON W/W DEEP RECESS 6
6
10
68F-42663-01
..DAMPER 2 2
2
11
68F-42648-01
..HOLDER, CLAMP BAND 1
1
12
60V-42652-00
..HOOK 1
1
13
67F-13448-00
..CAP 3
3
14
69J-24378-00
..PIPE, JOINT 3 1
1
15
90445-11M27
..HOSE (L240) 1
1
16
90445-11699
..HOSE (L500) 1
1
17
90445-11182
..HOSE (L300) 1
1
18
6FJ-42678-01
.GRAPHIC, REAR 1
1
21.60 AED
πŸ”“ Unlock Discounts
Stock 4 (Ask)
19
6S1-42675-01
.GRAPHIC, SIDE 1 1
1
20
6S1-42676-01
.GRAPHIC, SIDE 2 1
1
86.41 AED
πŸ”“ Unlock Discounts
Stock 1 (Ask)
21
6FJ-42677-01
.GRAPHIC, FRONT 1
1
34.26 AED
πŸ”“ Unlock Discounts
Stock 2 (Ask)
22
6S1-42681-01
.MARK, COWLING 2
2
77.47 AED
πŸ”“ Unlock Discounts
Stock 6
23
6S1-4267A-01
.GRAPHIC, REAR 2 1
1
19.37 AED
πŸ”“ Unlock Discounts
Stock 10