πŸŒ™ Ψ±Ω…ΨΆΨ§Ω† ΩƒΨ±ΩŠΩ… ✨
✨ Ramadan Working Hours: 9:00 AM – 3:00 PM ✨

F250HET'21

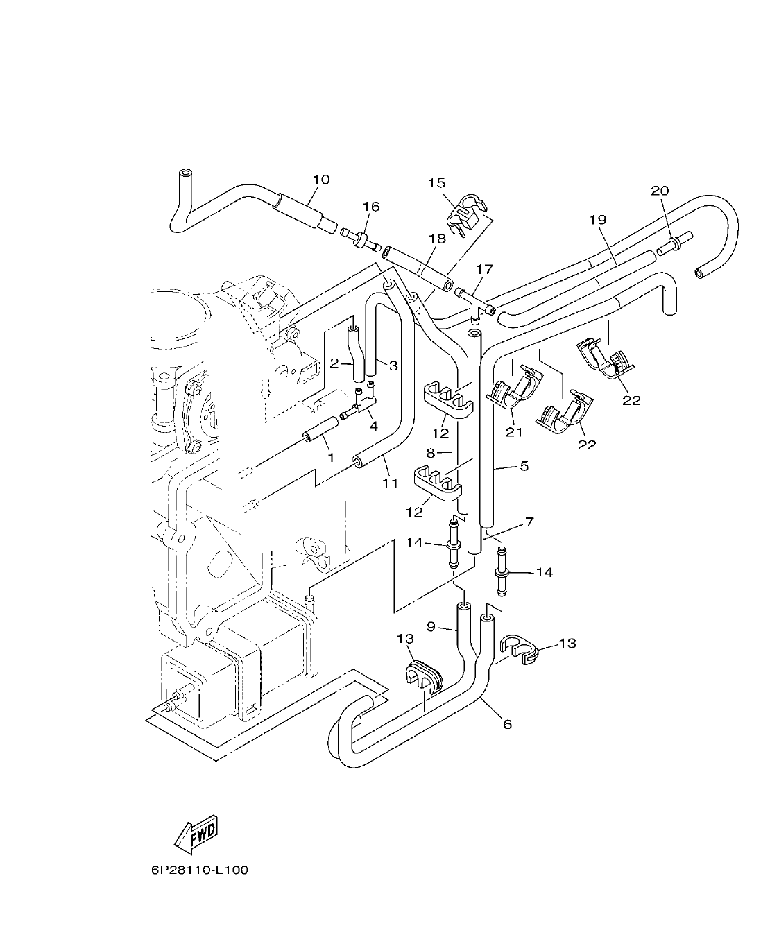
Section 11: THROTTLE BODY ASSY 2 CAJA DE ACELERADOR COMPL 2 (v2)

Model code: 6FJ5
Section 11 β€” THROTTLE BODY ASSY 2 CAJA DE ACELERADOR COMPL 2
F250HET'21
100%
F250HET'21 – section 11 THROTTLE BODY ASSY 2 CAJA DE ACELERADOR COMPL 2 parts diagram
Diagram image Open full size
Parts list
Section 11
Ref Part No. / Description Qty Buy
1
6P2-14349-00
PIPE 1
1
2
6P2-13533-00
HOSE, VACUUM SENSING 4 1
1
3
6P2-13532-10
HOSE, VACUUM SENSING 3 1
1
4
6P2-13595-00
JOINT 1
1
5
6P2-1475A-10
PIPE 1 1
1
6
6P2-1475E-00
PIPE 2 1
1
7
6P2-13545-00
HOSE 1 1
1
8
6P2-1475F-00
PIPE 3 1
1
9
6P2-1475G-00
PIPE 4 1
1
10
6P2-13546-00
HOSE 2 1
1
11
6P2-2416A-00
HOSE 1
1
12
6P2-24135-00
CLAMP 1 2
2
13
6P2-24136-00
CLAMP 2 2
2
14
6P2-13758-00
PIPE, JOINT 2
2
15
6P2-24137-00
CLAMP 3 1
1
16
6E5-21744-00
BREATHER 1
1
16.39 AED
πŸ”“ Unlock Discounts
Stock 4 (Ask)
17
688-24378-00
PIPE, JOINT 3 1
1
16.39 AED
πŸ”“ Unlock Discounts
Stock 8
18
6P2-13547-00
HOSE 3 1
1
19
6P2-13548-10
HOSE, AIR 4 1
1
20
6P2-24376-00
PIPE, JOINT 1 1
1
78.96 AED
πŸ”“ Unlock Discounts
Stock 1 (Ask)
21
90464-18004
CLAMP 1
1
22
90464-18004
CLAMP 2
2