πŸŒ™ Ψ±Ω…ΨΆΨ§Ω† ΩƒΨ±ΩŠΩ… ✨
✨ Ramadan Working Hours: 9:00 AM – 3:00 PM ✨

F250HET'21

Section 6: CYLINDER & CRANKCASE 3 CILINDRO & CARTER 3 (v2)

Model code: 6FJ5
Section 6 β€” CYLINDER & CRANKCASE 3 CILINDRO & CARTER 3
F250HET'21
100%
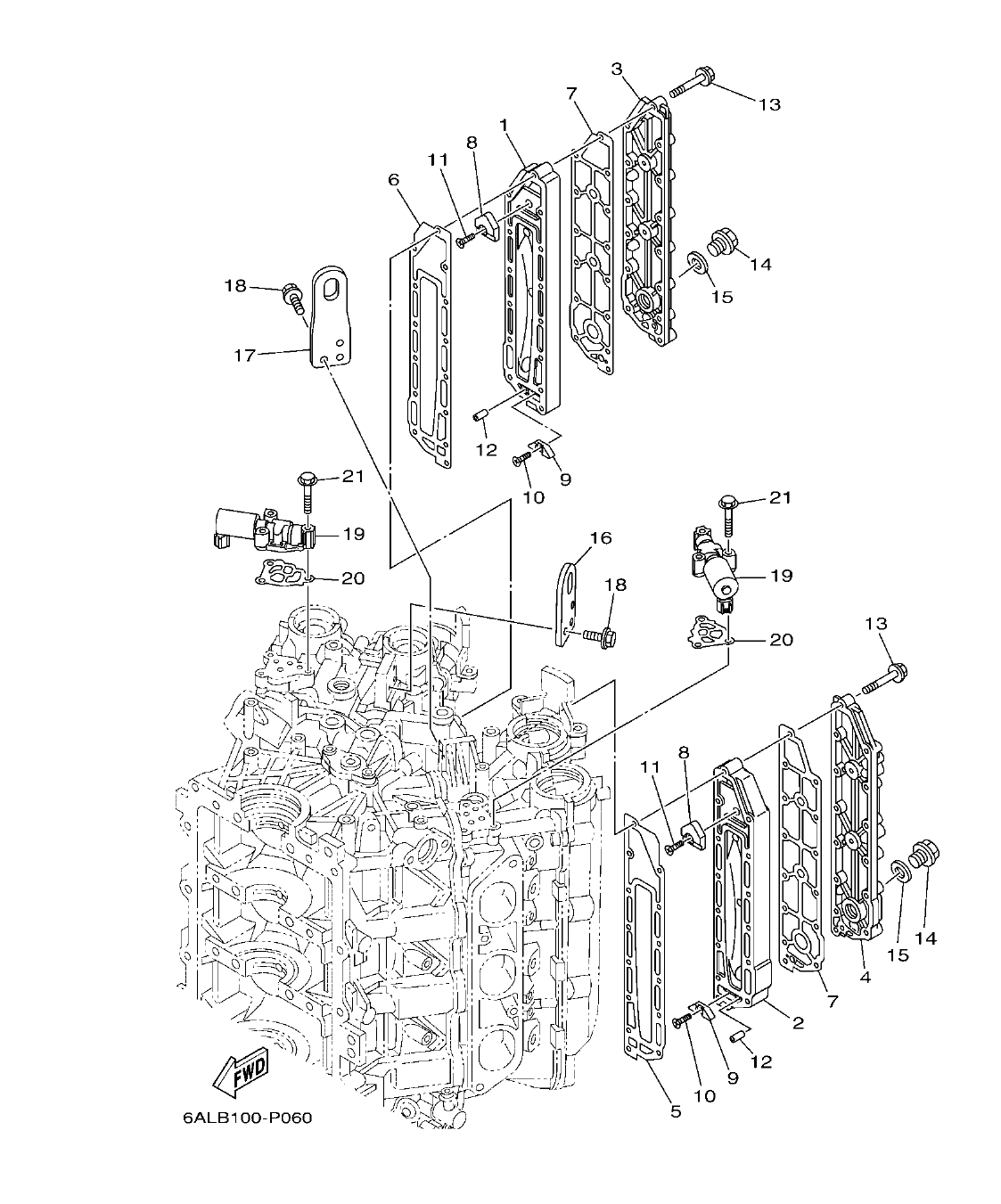
F250HET'21 – section 6 CYLINDER & CRANKCASE 3 CILINDRO & CARTER 3 parts diagram
Diagram image Open full size
Parts list
Section 6
Ref Part No. / Description Qty Buy
1
69J-41111-01-9S
INNER COVER, EXHAUST 1
1
2
69J-41121-01-9S
INNER COVER,EXHAUST 1
1
3
69J-41113-02-9S
OUTER COVER, EXHAUST 1
1
1,109.13 AED
πŸ”“ Unlock Discounts
Stock 1 (Ask)
4
69J-41123-02-9S
OUTER COVER, EXHAUST 1
1
338.18 AED
πŸ”“ Unlock Discounts
Stock 1 (Ask)
5
6P2-41112-00
GASKET, EXHAUST INNER COVER 1
1
46.18 AED
πŸ”“ Unlock Discounts
Stock 92
6
6P2-41122-00
GASKET, EXHAUST INNER COVER 1
1
38.73 AED
πŸ”“ Unlock Discounts
Stock 80
7
6P2-41114-00
GASKET, EXHAUST OUTER COVER 2
2
30.54 AED
πŸ”“ Unlock Discounts
Stock 189
8
6P2-11325-00
ANODE 2
2
38.73 AED
πŸ”“ Unlock Discounts
Stock 23
9
6E5-11325-00
ANODE 2
2
11.17 AED
πŸ”“ Unlock Discounts
Stock 531
10
98780-04016
SCREW, FLAT HEAD 2
2
11
90151-06M02
SCREW, COUNTERSUNK 2
2
3.72 AED
πŸ”“ Unlock Discounts
Stock 19
12
91690-40010
PIN, SPRING 2
2
13
90119-06027
BOLT, WITH WASHER 28
28
14
90340-18M09
PLUG, STRAIGHT SCREW 2
2
15
90201-186F1
WASHER, PLATE 2
2
16
6P2-11119-00
HANGER, ENGINE 1
1
17
6P2-1111E-00
HANGER, ENGINE 2 1
1
18
90105-06M09
BOLT, FLANGE 6
6
19
6CB-86120-00
SOLENOID VALVE ASSY 2
2
886.41 AED
πŸ”“ Unlock Discounts
Stock 22
20
6CB-1242F-00
GASKET, FILTER 2
2
18.62 AED
πŸ”“ Unlock Discounts
Stock 184
21
90105-06035
BOLT, FLANGE 6
6